新浪财经

中信产业基金:投了一众肾病医院,领了一堆罚单

市场资讯 2023.04.24 19:04

来源 | 财经九号作者 | 跳跳

中信系挺有意思的,今年2月份,中国人民银行对中信证券及4名高管出具了行政处罚决定。相关行政处罚内容显示,中信证券主要存在“未按规定履行客户身份识别义务;未按规定保存客户身份资料和交易记录;未按规定报送大额交易报告或者可疑交易报告”等

也就是违反了反洗钱的相关规定,中信证券及相关高管累计被罚近1400万元。

到了4月份,中信证券又因为在嘉禾生物IPO过程中,其作为保荐人存在审查不到位、不审慎或发表意见不准确等违规行为,被深交所采取了书面警示的自律监管措施。

当然,中信证券的违规行为也不止这一两件,其作为头部券商,每年被银保监会或交易所处罚的违规行为,其数量之多恐怕在业内也是“头部”。

1

去“中信化”的投资版图

正所谓“上梁不正下梁歪”,中信证券控股的中信产业基金,近年来投资的项目也频频出现违规问题,而被各地相关部门处罚。当然,现在也有信源说中信产业基金的运营主体已经改名为“源峰基金”或者“CPE源峰”。

相比于中信产业基金无论是名称上还是股权关系上,高度体现中信系的特点不同,源峰基金由于是私募基金方式,其很多的主体均是以有限合伙企业的形式存在,在天眼查等工商信息平台中,甚至查询不到名为“源峰基金”的企业存在,源峰基金的官网上面也是全面去中信化。

不过,在实际的工商信息中,中信产业基金与源峰基金旗下多只私募基金主体还是存在诸多股权上的交集。

许多中信系的产业,在名称和官网上去“中信化”,很有可能源于去年初麻袋财富的暴雷。

据工商信息显示,麻袋财富的大股东是中信证券,再往上穿透则是中信证券,在麻袋财富此前的宣传文案和官网中,均体现了“中信产业基金”这一央企背景的介绍。

直到麻袋财富平台出现兑付逾期,继而引发投资人维权后,麻袋财富在名称层面迅速“去中信化”。而投资人围绕麻袋财富的维权,至今仍在持续,许多投资人仍然没有拿到他们的投资款。

显然,背靠着中信集团或者中信证券这一央企的大背景,中信产业基金在攫取利益方面,显然不会只瞄准灰色色彩浓厚的互联网金融,还有医疗产业。

但就是这样一家有着红色央企背景的产业基金,其投资的医疗领域同样也是乱象丛生。

从对外投资的版图来看,中信产业基金近年来颇为偏爱投资肾脏病医院,而且极度深入到了中西部的三四线城市。

天眼查上的工商信息显示,汉川肾畅肾病专科医院有限公司、南部圣仁康医院有限公司、镇雄众康肾脏病医院有限公司、毕节长生肾病医院有限公司、达州中信长生肾病医院、大竹中信长生医院有限公司、江门江海长信血液透析有限公司、六盘水长生肾病医院有限公司等等,林林种种的肾脏病医院,开满了中西部大地的县城,数量上不下于几十家。

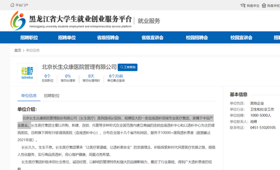
而这些医院在股权关系上的大股东,大多数则指向了长生医疗,其全称为北京长生众康医院管理股份有限公司,这家抬头冠北京,实际办公地为黑龙江哈尔滨的医疗机构,据其官网介绍,截止到2021年底,其业务已经扩展至全国18个省份、59家肾病医院。

不过,与麻袋财富类似的是,尽管大股东是中信产业基金,但在长生医疗的官网上,目前同样也已经“去中信化”了,丝毫找不到中信产业基金的表述。

作者在黑龙江省大学生就业创业服务平台的招聘信息中看到,北京长生众康医院的单位介绍是这样的:“北京长生众康医院管理股份有限公司(长生医疗)是我国成长较快、规模较大的一家血液透析领域专业医疗集团,隶属于中信产业基金。

既然有着雄厚的资本背景和央企背景,又为何遮遮掩掩、不敢大大方方地在官网上挂出来呢?

2

频频被罚的肾脏病医院,如何守住医疗安全

究其原因,可能很多的肾病医疗生意,和互联网金融一样,属于游走在监管边缘,一不小心容易引发事故,从而导致“城门失火、殃及池鱼”吧。

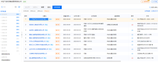
据天眼查APP的不完全统计信息显示,

仅今年以来,就有汉川肾畅肾病专科医院、南部圣仁康医院、镇雄众康肾脏病医院、毕节长生肾病医院、黑龙江长江肾病专科医院、达州中信长生肾病医院、玉溪博亚肾脏病医院、通山康泰医院、大庆美年血液透析中心、泸州长生众信肾病医院等10家中信产业基金投资的医院被各地卫生部门行政处罚高达10多次,并处以金额不等的罚款。

而这些肾病医院所涉及的违规问题也是触目惊心。比如南部圣仁康医院,被当地市场监管局现场检查时发现使用多种过期医疗器械等问题;

达州中信长生肾病医院在今年三月份同样因为“使用未依法注册、无合格证明文件以及过期、失效、淘汰的医疗器械”被处以5万元罚款;

大庆美年血液透析中心,则被当地医保部门发现查处多个项目串换、重复收费等行为;

毕节长生肾病医院和镇雄众康肾脏病医院则被查处工作人员无证上岗,从事CT报告、药房配药等医疗工作。

去年全年,据天眼查APP的不完全统计,中信产业基金旗下的20家医院被处罚达20多次,许多医院可以说多次被处罚。比如今年被触发的汉川肾畅肾病专科医院、毕节长生肾病医院、镇雄众康肾脏病医院等去年也是榜上有名。

涉及到的许多问题同样不可忽视。比如齐齐哈尔德佑医院,存在串换项目、多计费用、超标准收费、伪造医学文书等伪造骗取医保资金行为,被处以6.7万元罚款;

镇雄众康肾脏病医院则是违规出借医疗结构执业许可证。剑阁友好医院更是利用广告对商品或服务进行虚假宣传、欺骗和误导消费者等等。

所投资医院乱象丛生的背后,中信产业基金作为央企中信集团辖下的重要业务板块,是否有过系统的反思和整治?

医疗安全、医疗诚信,是社会公共底线的重要部分,如果这一底线都被击穿了,资本攫取利益的行为该有多么可怕!

END.

(免责声明:本文数据及信息均来自人民银行、天眼查政府网站等公开信息,数据如有遗漏,欢迎更正,并以上市公司最终披露为准。)

加载中...