新浪财经

家用智能投影赛道日趋拥挤,各品牌该如何破局?

投资界

关注

近几年,家用智能投影单品凭借体积小、高分辨率及数字化特性深受年轻群体的青睐,市场敞口也不断向上。

IDC数据显示,2022年中国投影机市场总出货量 505 万台,同比增长 7.4%。预计2023年中国投影机市场销量有望超过 557万台,同比增长10.3%。洛图科技数据也显示,随着1LCD投影技术的进一步成熟,2023年1LCD智能投影全渠道销量有望超过500万台,占到整体市场的份额将提升至65%。

回归到资本市场来看,家用智能投影市场逐渐绽放,离不开资本的助推。众多品牌拥有资本的加持,不断涌入智能投影赛道,纷纷将产品推向市场。而智能投影仪也逐渐收获年轻人这一主力消费群体的喜爱,又侧面助推了智能投影技术的发展。

现如今,家用智能投影市场除了极米、当贝等传统以生产投影起家的头部品牌外,又加入了如海信、TCL等老牌家电企业,甚至还加入了一批不乏想借此实现弯道超车的新兴品牌。

那么,如今竞争激烈的家用智能投影赛道格局如何?又在朝哪些方向发力?

01.众多品牌参与市场角逐,赛道日趋拥挤

时间拉回到2018年,彼时的智能投影市场方兴未艾,以打造专业投影出生的极米、坚果等企业相继获得投资,为产业发展带来了超12亿元的巨额资金支持。也正是因为资本的加持,老牌传统投影企业加速了产品研发和渠道布局。

经过四年市场沉淀,如今家用投影品牌数量已经到达了*的高度。根据奥维云网(AVC)线上监测数据显示,早在2022年上半年,市场在售品牌数量就已超200家,新进与退出较为频繁,TOP10品牌销量份额占比牢牢占据约54.3%市场份额。新入局者激发市场活力的同时,也进一步瓜分头部品牌份额,加速品牌竞争。

众所周知,应用在家用市场中的智能投影技术已经相当成熟,除了显像技术、高分辨率、智能化等功能赋能传统智能投影外,激光投影也几乎成为各大品牌主攻方向。伴随着技术更新及消费者需求的变化,家用智能投影也出现了数次迭代升级,并引起了资本的注意。

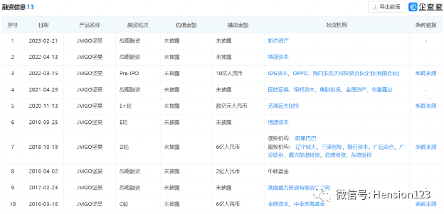
比如,投影仪头部品牌“JMGO坚果”生产企业—深圳市火乐科技发展有限公司,仅在去年三月和四月就收到来自IDG资本,OPPO与博源资本等知名投资方高达超10亿元的融资。2023年2月又接受了新芯资产相关战略融资,截至目前共计有13轮融资。

再比如,光峰科技小米科技于2016年联合成立的主营以家用激光投影产品为生态链企业峰米科技,于今年经过多轮融资后,近期搭载成熟的ALPD激光显示技术而推出的峰米X5,引发市场高度关注。

值得注意的是,除了资本融资外,包括海信、TCL等家电巨头公司也看到了智能投影浪潮下的商机,频频下场。例如,去年5月份,海信旗下年轻潮牌Vidda正式发布全球*4K全色激光投影C1,宣告了电视巨头海信开始加码布局智能投影市场。与此同时,TCL、长虹等彩电企业也在积极谋划家用智能投影赛道。

由此,不难看出尽管目前家电巨头们推出的智能投影品类还不多,但仍然虎视眈眈。不少品牌也开始试图在该赛道中找到更具差异化的打法,希望在市场中获得一席之地,整个智能投影行业压力不小,这意味着市场又将面临更加激烈的竞争和新一轮洗牌。

02.取胜的要义,在于锚定科技与用户

既然众多企业入局已然是大势所趋,那么问题也随之而来,品牌商们未来该如何自处?在Hension看来,有三点值得关注:

一是,在产品上,放弃价格战,以科技赋能产品为核心。

在此策略下,意味着厂商们不能再盲目追求低价占领市场,而是试图通过更好的画质、更丰富的芯片内核及高配置的内置应用等高科技产品来满足用户需求。譬如海信旗下Vidda品牌前不久发布的C1S,价格上探至7299元;在去年双十二大促以6799元售价,拿下LED 4K超高清投影仪新品销量冠军的峰米投影。两者均以出色的高清分辨率、流畅使用体验极大推动了4K高端大众化。

这样的改变,短期来看销量难以大涨,但长期来看,却是向好的。

洛图科技(RUNTO)数据显示,中国智能投影市场均价5000元以上的高端产品份额从2020年的3%增长到了2022年的9%。

显然,智能投影价格有不少上探空间,高端市场仍是各大厂家们不错的发力方向。

二是,把智能投影作为智能家居的交互入口,融入到家庭智能生态中。

从这个战略维度来看,智能投影将不会作为一个硬件设备独立运行,而是融入到品牌智能生态中,将参与到整个家庭智慧场景搭建中去。

所以早在2018年,小米就推出了米家生态链投影仪产品。经过技术不断迭代,如今小米投影仪不仅定制了投影场景专用语音,让“小爱同学”一呼即应,更是可以与米家loT产生深度联动,投影仪开机就可自动关灯/关窗帘,打造智能观影环境;还可联动视频门铃,当有人按门铃时,自动在投影上播放门铃视频。

三是,品牌的增长应建立在用户最真实的需求之下,才能持续向前。

家用智能投影仪从最初给人印象“大而慢,不清晰”,从而转变到如今“小而快,高清晰光源”,始终离不开用户对智能投影仪科技形态的不懈追求。各大品牌正是深入洞悉了这种需求,才不断赋能家用智能投影科技快速迭代。

因此,在用户需求日新月异的时代,品牌只有细致入微的洞察用户及与其深入交流,才能真正看清楚未来的方向,制定更合适的战略,打磨更出色的产品。

03.写在最后

据IDC预计数据,至 2027 年我国投影机市场复合增长率仍将超过18%,这显示出未来投影市场仍具有较强韧性和持续向上的增长空间。

因此,从某种程度上说,突发且持续的经济下行危机并未给企业留下太多选择,而需求在增长的智能投影市场恰好给了该赛道企业一个顺势而为的增长点。

于此同时,我们也要看到新玩家的进入势必会带来新的变化,但不管是老牌投影企业的推成出新,还是其他跨界企业的弯道超车,我们都不愿看到此时的智能投影赛道再走上价格战的老路。毕竟,经过众多品牌的摸爬滚打,智能投影产品早已不再是新概念的探索,而是真正落到实处的科技应用。

这也意味着对投影技术和研发投入有着很高要求的该条赛道,并不是所有玩家都能做好,而那些能够走的长久的品牌一定是基于技术和消费市场。

【本文由投资界合作伙伴微信公众号:Hension授权发布,本平台仅提供信息存储服务。】如有任何疑问,请联系(editor@zero2ipo.com.cn)投资界处理。

加载中...