新浪财经

中建一局一公司因在民防项目中存在违规行为被警告

中国质量新闻网

关注

中国质量新闻网讯(李静) 日前,上海市民防监督管理事务中心发布关于中建一局集团第一建筑有限公司行政处罚公告。

公告显示,中建一局集团第一建筑有限公司在上海市黄浦区淮海社区100街坊项目民防工程中,存在K7-E/K5-3轴处2段临空墙LKQ1插盘规格与图纸不符的行为。上海市民防监督管理事务中心依据《上海市民防工程建设和使用管理办法》第二十八条第一款第三项的规定,给予该公司警告处罚。

据悉,“上海黄浦区淮海社区100街坊项目”由上海中海海华房地产有限公司开发建设,规划用地性质为三类住宅组团用地、公共绿地。总建筑面积为283200平方米。

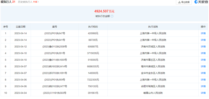
天眼查显示,中建一局集团第一建筑有限公司成立于1999年,中国建筑集团成员,位于上海市,企业注册资本36000万,法定代表人为井双全。值得注意的是,该公司近期存在多条被执行人信息,仅4月份以来,就新增被执行人信息10条。

加载中...