马保国治好了我一年的忧郁
新周刊
马保国直播带货,是彻底玩砸了。他自己也似乎意识到了这点,愚人节之后,他就再也没搞过直播带货。只是,他可能也搞不懂背后的原因。
从2020年11月到2022年11月,从马保国被重锤到复出之间,隔了24个月。
不同的是,马保国这次给人的感觉低调了许多。他在各大短视频平台先后开了账号,发布了诸多练功视频,包括刀法和棍法,成名作“闪电五连鞭”自然也位列其中。他没有像两年前一样下场比武,也没有刻意营销自己,他在账号签名处也强调,“不收徒弟,不比武”。
去年11月,马保国正式通过短视频平台“回归”。/抖音截图
这回他给人的印象,似乎只是一名喜爱强身健体的普通老人。
这种低调,以及痉挛式打斗风格带来的喜感,让马保国的人气迅速回升。他在短视频平台发布的内容,点赞量往往都会过万,尤其是兔年春节发布的拜年短视频,点赞量高达50万+。
“耗子尾汁”“接化发”也重新成为热梗,尤其是“接化发”还被剪辑成歌曲,成为了短视频平台的热门BGM。去年布洛芬热销期间,网红们模仿布洛芬包装盒动作拍的舞蹈视频,背景音乐就是“接化发”。
2023年4月1日,这天是“愚人节”,马保国突然出现在了直播间里,开始直播带货。这个时间节点,似乎是在告诉人们,之前的低调,都是“逗你玩”。
马保国直播卖货(读“丑”)。/直播截图
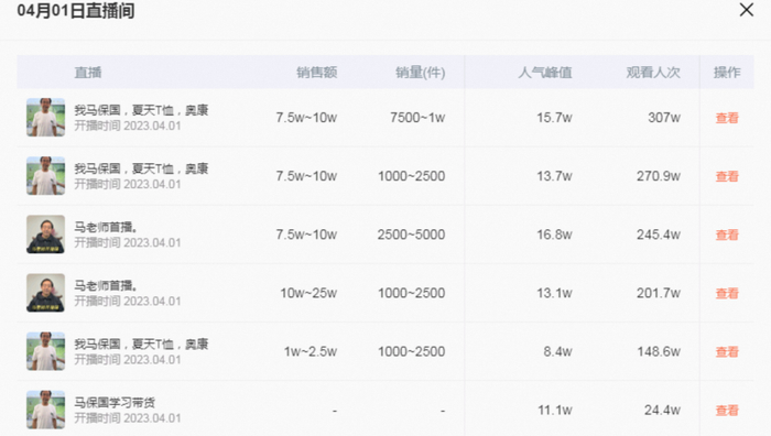
不过,马保国可能也没料到,自己会“逗你”反被“逗你”误。4月1日一共6场直播,总场观人次破千万,峰值达到20万人次,但销售额只有41万元,算下来佣金还不到5万元。
算下来,马保国的UV价值连4分钱都不到。平均来看,罗永浩“交个朋友”的UV价值约为2.48元,“东方臻选”则是1.68元。
马保国直播带货,是彻底玩砸了。他自己也似乎意识到了这点,愚人节之后,他就再也没搞过直播带货。只是,他可能也搞不懂背后的原因。
是功夫大师,还是谐星?
衡量直播带货能否走向成功的因素,大体有五个:人设与定位、直播可看性、口播、货品差异化程度、优惠力度。
以最近比较火爆的“东方臻选”直播间为例,在卖货之前,它首先是一个有趣味、有文化、可以学点知识的小课堂,围绕带货商品展开的夹带知识的精准讲解,不仅让直播可看性十足,也直击消费痛点,促进了用户从观看到购买的转化。
看东方臻选直播,主要为了听知识。/直播截图
马保国的人设定位,更接近于谐星或者丑角。虽然以功夫大师自居,但他的功夫一不可御敌,第二也不协调,甚至还有些像触电之后痉挛的感觉,只有搞笑,很难说有强身健体的效果。所以消费者来看马保国的直播,为的就是看他怎么出洋相。至于卖的是什么货,对大多数人而言并无所谓。
直播可看性则会影响单个用户的直播停留时长。停留时长越长,客观上下单转化的可能性也会越高。但马保国的梗,说白了并不是很多。而且相当多的梗都是网友剪辑鬼畜视频出来的效果,观看直播的可看性还不如看鬼畜视频。所以,他的直播并不值得长时间观看。大多数观众看几分钟的热闹就退出了。
马保国并不是专业主播出身,他接触直播的时间并不长,口播也不可能达到专业的程度。在4月1日的直播过程中,商品的讲解和带货的话术主要由他的儿子负责。
马保国并非专业直播。/直播截图
马保国本人虽然也在卖力推荐,但时不时会用力过猛,比如在介绍虾片时,他夸赞这款零食“大米含量57%,虾肉含量66%”,显然这是一个低级错误,虽然能带来一定的喜剧效果,但不专业的口播,往往难以勾起消费者下单的冲动。
很大程度上,直播间下单是一种冲动购买行为。带货主播不仅需要非常熟悉货品,并且还要精准讲到货品能解决消费者的什么痛点,从而引导消费者冲动下单。
最后是货品差异化程度和优惠力度,马保国这次的选品并没有什么差异化。男款T恤、虾片饼干零食、益生菌保健产品,这些产品在别处也能买到,价格也没有多大差异。
马保国直播带货业绩。/新抖数据
这背后还有一个非常底层的原因是,马保国过去以“功夫大师”自居,强调自己多么能打,结果一上场就被打趴下了。现在马保国开直播说,他推荐的东西多么好用,这样的诚信程度,有多少人能真正相信,并且买单呢?
所以,大多数粉丝或者看客的想法无非就是,看看热闹可以,买货还是不了。
看马保国直播,是真打call还是看笑话?
不可否认的是,马保国涨粉确实快。短视频账号30天涨粉70万,直播带货成绩虽然一般,但当天涨粉就超过了14万。
足以见得,马保国确实有人气。但这人气背后是什么,能代表广大粉丝的支持与厚爱吗?
确实有一部分用户,是真的觉得马保国的视频好笑,觉得他是用认真和汗水在给粉丝带来快乐。
有粉丝说道:“一把年纪了,马老师还这么努力,不在乎他人眼光。实乃吾辈楷模,努力!”
还有的粉丝认为,马保国知道网上有这么多恶搞,但他没有去回怼,甚至有的时候还会响应(回应?)一些怂恿。在4月1日的直播中,有网友让他打闪电五连鞭,打了才买货。他机智回应:“卖够单数了绝对给你打。”
马保国绝技,闪电鞭。
他的性格里,有股较真的劲儿。比如在直播中,他用浓重的方言强调他的“松果痰抖闪电鞭”(中国传统闪电鞭)防身效果有多好,因为在身体抖动的过程中就能把“敌人”给震出去。
这是一种双重搞笑的手法,一个是动作搞笑,另一个是口音搞笑。一个众所周知的法则是,方言比标准普通话搞笑,即使方言讲的事情是一本正经的。
另外,他在最近拍的一则短视频里,也是突出他的刀法能将对方的刀缠“蒙了”,然后自己再趁势发力击倒对方。看起来马保国已经掌握了“子弹时间”,只有用“慢动作”才能制敌。
如果加上一些特效,这些动作在短视频里会显得有些炫酷。想象马保国手里拿着一把电索,他一抖动,旁边就电得噼里啪啦响,节目效果的确拉满。但在真实世界,他就是在骗人。
特效一加,马保国还可以是架子鼓大师。
好就好在,马保国至少最近不会收徒弟,否则到时候“痉挛”都要人传人了,这就不搞笑了,而是会有点小恐怖。
马保国直播后的短视频点赞数,比直播前的点赞数要少很多。似乎,这一场直播已经再一次透支了人们对他的期待或者惊喜。
或许,马保国下次再登上舆论热度的头条,要等到和“太极宗师”闫芳一较高下的时候了,那一定会非常“好看”。
作者 | 土卫六
编辑 | 刘车仔