15亿高端抗生素!丽珠集团通过一致性评价,拿下国内第3家
药融云
近日,国家药监局发布89个药品批准证明文件待领取信息,其中$丽珠集团(000513)丽珠制药厂的注射用盐酸万古霉素位列其中,其递交的一致性评价补充申请获批,成为该15亿高端抗生素国内第3家过评企业。至此,丽珠集团通过一致性评价的品种至少已有17款。而在仿制药以外,丽珠集团近年来在创新药/改良型新药等方面的投入与收获也日益增长。
截图来源:NMPA官网
万古霉素作为第一个问世的糖肽类抗生素,原研由礼来开发,2019年4月,礼来公司与亿腾医药签署协议,向其出售旗下稳可信(注射用盐酸万古霉素)在中国大陆的权利。万古霉素对多种革兰阳性菌有杀菌活性,是治疗MRSA感染的首选药物。作为高端抗生素,万古霉素被誉为“人类最后一道防线”,近年来在中国的市场依然稳定增长中,据药融云数据库,2021年注射用盐酸万古霉素斩获近15亿院内销售额,Vancocin Italia SRL占据了75.76%的市场份额。
截图来源:药融云全国医院销售数据库
截至目前,国内尚有8家企业获批生产万古霉素相关制剂,包括1家进口企业和7家国内药企。其中,浙江医药于2021年6月获批,斩获注射用盐酸万古霉素的国内首家过评,后浙江$海正药业(600267)第2家过评该15亿高端抗生素,此次的丽珠集团通过一致性评价则顺利成为国内第3家。
此外,海南普利制药、南京恒道医药/江苏九旭药业和山东$鲁抗医药(600789)/成都通德药业也递交了注射用盐酸万古霉素的4类仿制上市申请,均在审评审批中。另有江西青峰药业报产盐酸万古霉素口服溶液。
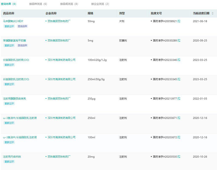
至此,丽珠集团共有17个品种(20品规)通过/视同通过一致性评价,覆盖抗感染、消化系统与代谢、心血管系统、神经系统、血液系统等治疗领域。其中ω-3鱼油中/长链脂肪乳注射液、注射用丹曲林钠、注射用醋酸西曲瑞克、苯磺酸氨氯地平胶囊、长链脂肪乳注射液(OO)和马来酸氟伏沙明片等6个品种均为首家过评。在刚刚结束的第8批国家集采中,注射用伏立康唑及注射用头孢地嗪钠拟中选。
丽珠集团首家过评品种
截图来源:药融云一致性评价数据库
仿制药以外,丽珠集团近年来在创新药/改良型新药等方面的投入与收获也日益增长。据丽珠集团2022年财报,公司报告期内研发费用达到14.27亿元,同比增长24.51%,多个重点研发项目取得突破。
艾普拉唑钠新适应症已报产;
曲普瑞林微球(1个月缓释)前列腺癌适应症已完成补充资料并提交CDE,子宫内膜异位症III期临床试验已完成入组(登记号:CTR20212632);
注射用阿立哌唑微球(1个月缓释)完成I期多次给药临床试验出组,及所有受试者随访,并完成临床数据分析;
丙氨瑞林微球(1个月缓释)正在开展I期临床;注射用双羟萘酸曲普瑞林微球(3个月缓释)筹备开展I期临床;醋酸戈舍瑞林缓释植入剂(1个月缓释)开展了中试向生产的桥接试验;
糖尿病药物司美格鲁肽注射液已启动III期临床实验(登记号:CTR20222962);
IL-17A/F单抗完成II期临床试验。
参考来源:
[1] NMPA官网
[2] 药融云数据库
[3] 丽珠集团官方披露