新浪财经

重磅!2023年中国及31省市银行业政策汇总及解读(全)

前瞻网

关注

转自:前瞻产业研究院

 行业主要上市公司:工商银行(601398.SH)、农业银行(601288.SH)、中国银行(601988.SH)、建设银行(601939.SH)、招商银行(600036.SH)、平安银行(000001.SZ)等

本文核心数据:中国银行业政策发展历程;国家层面银行业的政策重点内容解读;国家层面发展目标解读;各省份银行业重点政策内容解读;各省份银行业发展目标解读

政策历程图

根据郑万春发布在《清华金融片评论》中的《中国银行业改革历程与趋势展望》一文,我国银行业政策发展历程可归纳为四个阶段,第一阶段为1978年至1993年,该阶段我国银行体系逐渐向专业化转型,随着《关于中国人民银行专门行使中央银行职能的决定》的颁布与施行,我国中央银行体制开始建立,由工、农、中、建组成的国家专业银行体系开始形成。第二阶段为1994年至2003年,该阶段银行向商业化转型,颁布了《中国人民银行法》、《商业银行法》等政策,为我国商业银行自主经营提供了保障。第三阶段为2004年至2016年,该阶段银行逐渐向市场化转化,监管逐渐强化,制定和实施《中华人民共和国银行业监督管理法》,构建了监管体系流程。第四阶段为2017年至今,该阶段为高质量发展阶段,主要发展方向为数字化转型以及加强服务实体的能力。

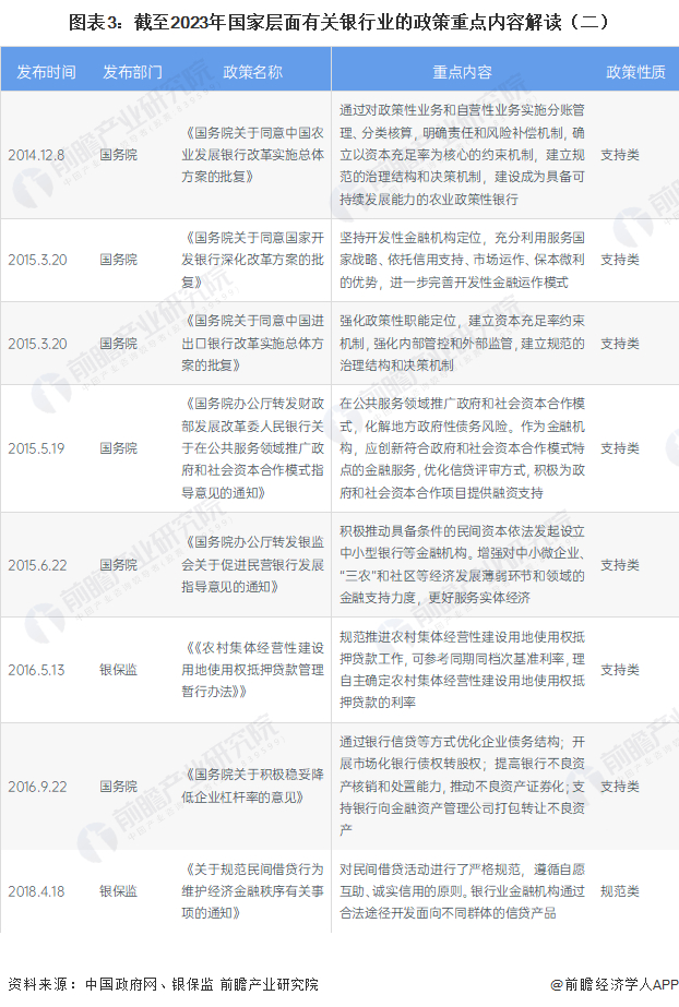
国家层面政策汇总及解读

——国家层面银行业政策汇总

我国银行业自新中国成立以来,经过持续的发展探索和国家一系列的政策引导,完成了从商业化再到市场化的改革。如今,数字化转型以及增强服务实体经济能力是当前银行业相关政策的主要导向。

——数字化转型方面政策解读

近三年来,我国多部门持续出台数字化转型相关政策支持银行业进行数字化转型。其中,2022年1月银保监发布的《中国银保监会办公厅关于银行业保险业数字化转型的指导意见》中明确指出,到2025年,银行业保险业数字化转型取得明显成效。

——支持实体经济方面政策解读

服务实体方面,我国多年来持续强调金融业做好服务实体经济的工作,2017年4月银保监发布的《中国银监会关于提升银行业服务实体经济质效的指导意见》中指出,提升银行业服务实体经济水平,推动产业转型、支持振兴实体经济。2022年10月,国务院颁布《国务院关于金融工作情况的报告》,指出要保持流动性合理充裕,加大对实体经济的信贷支持力度。

——国家层面银行业发展目标解读

数字化转型方面,我国银行业依托AR、MR、区块链、人工智能等技术,在虚拟平台的功能将持续完善,网点智能化转型进程加快。

服务实体方面,根据银保监会普惠金融部披露,2022年以来,银保监会引导银行业金融机构持续加大对小微企业支持力度。截至2022年11月末,全国普惠型小微企业贷款余额23.16万亿元,同比增速23.66%,较各项贷款增速高13.14个百分点,有贷款余额户数3832.02万户,同比增加511.12万户,阶段性完成“两增”目标。未来,我国将持续优化金融体系结构,深化国有商业银行改革,加快完善中小银行和农信社的治理结构。

未来,随着数字化转型以及银行业服务实体经济的能力持续增强,我国银行业将持续焕发新活力。

各省市层面银行业政策汇总及解读

——31省市银行业政策汇总

目前,我国银行业的发展趋势主要在数字化转型以及服务实体经济方面,相关政策主要集中在我国银行业较为发达的东部地区。此外,为了支持我国外贸行业的发展,我国进出口银行分别在上海、福建设立1500亿、800亿元人民币专项信贷额度以支持外贸行业的发展。

——31省市银行业发展目标解读

目前,我国银行业的发展目标主要体现在数字化转型以及创新金融体系、创新金融产品,增强服务实体经济的能力。根据各省市“十四五”规划,均有涉及数字化转型方面以及增强服务实体能力方面的规划。

更多本行业研究分析详见前瞻产业研究院《中国银行业市场前瞻与投资战略规划分析报告》,同时前瞻产业研究院还提供产业大数据、产业研究、政策研究、产业链咨询、产业图谱、产业规划、园区规划、产业招商引资、IPO募投可研、IPO业务与技术撰写、IPO工作底稿咨询等解决方案。

更多深度行业分析尽在【前瞻经济学人APP】,还可以与500+经济学家/资深行业研究员交流互动。

加载中...