新浪财经

深圳中深国投基金,0人缴社保????

不周山的视野

关注

然后吃到这个深圳中深国投基金管理有限公司。

这个公司啊,也不是协会备案的私募基金。但是,我们还是按这个模式来。

1、看旗下咨询公司注销情况,看有无乱收融资顾问费然后跑路的情况。

2、看公司名称变更情况与频率,看经营者心虚程度与吃干抹净逃跑痕迹。

3、看最新产品备案日期与当前日期的远近度,看有没有被基金业协会拉

黑禁止新备案。

4、看法人、总经理、股东实控人背景,看有无历史劣迹。

5、看有无司法判决,看公司惹官司情况。

6、看金融处罚,行政处罚,看有无业务违规现象。

7、看管理规模与人员配置情况,看是不是皮包公司。

8、看有无投资者举报材料,看割韭菜情况。

9、看产品延期清算产品信息与低于500万产品数量,看产品投资踩雷情

况和产品项目制属性情况。

1、咨询公司注销情况。

历史上没有看见咨询子公司注销情况,但是看见有个子公司退股了。湖北章金信息科技有限公司,退股是不是类似注销的效果。

而且,看2021年企业年报,股东是廖国荣,实缴资本为0,不过交社保的还挺多,好几个人。不过这个廖国荣,和上海寰财里面的廖国慧,名字挺像的。有点意思吧。

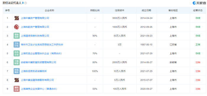
接着继续研究深圳中深国投,往上回溯股东,先是上海中冀州资产,旗下就有一个金融信息公司注销,上海中冀金融信息服务有限公司,又有公司注销了吧。

从中冀再往上回溯,到上海璟湖信息科技有限公司,上面就是自然人了,核心人物是朱柏松,看个人旗下公司,注销的子公司有4个。

扒几个大家看看。

上海柏瓴商务咨询事务所:2021-07-29 至 2022-10-27,一年多就注销了。上海谦贲企业发展中心(普通合伙):2020-09-27,现在也注销了。都是短命公司,其他的不说了。

2、公司名称变更情况。

公司没有发现明显的名称变化。

3、产品备案。

无备案。

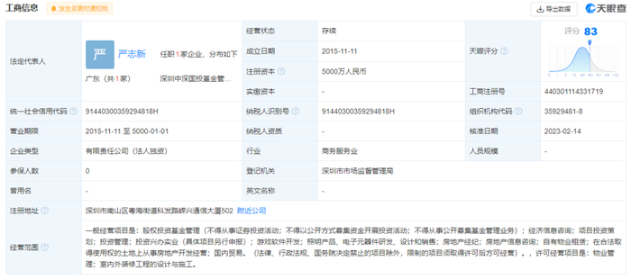
4、董监高与股东背景。

股东们往上回溯,还是有一定的实缴资本的。

从深圳中深国投的股东变化来看,又出现了这个神秘的刘康,此前还是100%的持股,是总经理,执行董事呢,2022年退了。看来2022年,是个撤退的大年。

刘康出现,这说明这个公司与上海寰财私募基金管理有限公司、上海中宁隆道资产管理有限公司的关系的确不一般。很值得想象。

至于后面的王漪菲、严志新,看不出来啥东西,应该是企业素人。综合判断下来,核心还是朱柏松和刘康两个人。

再看中深国投的股东,上海中冀资产管理有限公司,参加社保好像也就1个人。最近研究的这个系列,仿佛都这样。

深圳中深国投注册资本2023年从1000万改为5000万,不知道要办啥大事呢?没啥人,办得成事么?会不会2022年年报一下交很多人社保?

5、司法判决。

未见。

6、金融处罚,行政处罚。

未见。

7、管理规模与人员配置。

因为不是备案私募基金,自然没有管理规模,人员配置方面,天眼查深圳中深国投的参保人数居然是0,这么大一个公司,没有人参保?这结果我们都有点虚啊。

我们再从国家企业信用信息公示系统来看看,看2021年年报吧,啥信息也没有。

再看2020年年报,刘康当总经理和大股东时,实缴为0?

再看2019年年报,其他人是大股东时,实缴居然还是0。社保居然也是0。

往后看不见社保信息,往前看是0,实缴资本也是0,这是个啥公司啊?也难怪天眼查给了个参加社保为0,也是情有可原啊。

今年注册资本1000万变5000万,是要大干一场吗?大干什么呢,继续想象,大搞特搞?

8、投资者举报。

未见。

9、产品500万以下及逾期。

未见。

总结下来,这个深圳中深国投,看起来名字挺唬人,实际上吧,感觉没啥内容。感觉还是股权高管变动杂乱无序,有种想隐藏实际的一种情节。今年注册资本1000万变5000万,是要大干一场吗?后面密切关注一下,他们要唱啥大戏。

另外,从深圳中深国投金融控股有限公司、深圳中深国投基金管理有限公司、深圳中深国投物业管理有限公司,有些高管一肩挑多个公司的情况,带中深国投这几个字的这些公司,大概率也其实有关联吧,虽然股权上看不出来,藏的很深很深啊。

下面就到了吃瓜环节。

加载中...