新浪财经

刹车变硬!这三款日系SUV宣布召回

汽车行业关注

关注

据国家市场监督管理总局公告,重庆铃耀汽车有限公司根据《缺陷汽车产品召回管理条例》和《缺陷汽车产品召回管理条例实施办法》的要求,向国家市场监督管理总局备案了召回计划。决定自2023年4月15日起,召回2015年8月22日至2019年12月25日期间生产的铃木维特拉1.4T、锋驭1.4T、骁途1.4T汽车,共计78111辆。

召回原因:本次召回范围内部分车辆因制动真空泵单向阀橡胶材料性能及设计问题,长期使用后单向阀可能发生膨胀,造成真空泵效率下降,制动助力减弱。车辆可能短时出现制动变硬的现象,驾驶员需要加大制动作用力才能达到预期效果,存在安全隐患。

解决措施:重庆铃耀汽车有限公司将为召回范围内车辆免费更换改进后的真空泵,以消除安全隐患。

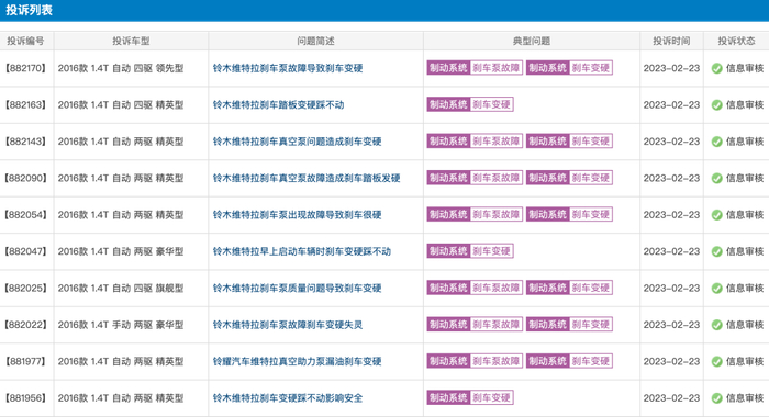
不久前,《汽车行业关注》曾公开报道,长安铃木旗下维特拉车型突然遭到大量车主投诉,近一个月累计投诉达141宗,仅次于宝马X3、极氪001、皇冠-陆放、汉兰达,位于投诉榜单第五,投诉原因为刹车变硬、刹车泵故障、刹车失灵等,投诉原因几乎与制动系统相关,投诉车型基本为2016年款。

据投诉车主介绍,铃耀厂家通知北京4S店进站检查维修,21号进行换泵维修,但换完刹车比未换之前还要硬,刹车力度必须大力踩刹车才能刹车,女生或脚力小的,踩这种硬力度的刹车,绝对存在着巨大的风险隐患。早上启车比原来还要困难,踏板踩不下,造成无法启动车辆。还有投诉车主称,熄火后到下次发动车肯定刹车变得非常硬,短则半小时,长则半天,中间并没有触碰任何部件,下回发动车需要非常用力踩刹车,非常担心会不会在行驶过程中出现此问题。

据了解,维特拉是长安铃木旗下一款小型SUV,于2015年引入国产,搭载1.4T涡轮增压发动机和1.6L自然吸气发动机,售价区间为9.98-15.98万元。传动系统方面,1.4T车型匹配6速手动/6速手自一体变速箱,而1.6L车型匹配5速手动变速箱。

2018年9月,由于业绩持续亏损,铃木汽车以1元钱的象征性价格转让持有长安铃木50%股权给长安汽车,长安铃木由合资公司变为长安汽车旗下全资子公司,铃木汽车正式退出中国。2020年12月,重庆长安铃木汽车有限公司更名为重庆铃耀汽车有限公司。需要注意的是,由于铃木汽车与长安汽车的协议要到2022年才结束,长安铃木依旧可以生产、销售、悬挂带有铃木车标的车型,这也是为什么召回包括2015年8月22日至2019年12月25日期间生产车型的原因。

除了维特拉外,此次召回的车型还包括锋驭、骁途。据了解,锋驭是长安铃木基于全新S-CROSS车型打造的紧凑型SUV,于2013年12月23日正式上市,售价区间10.98-15.48万元。动力方面,锋驭搭载1.6L发动机,匹配5速手动或CVT变速箱。2015年8月27日,锋驭1.4T车型上市,售价区间为13.68-16.48万元。至于骁途,是长安铃木退出前推出的最后一款新车,该车型于2017年7月31日上市,售价9.98-15.98万元。作为锋驭的中期改款车型,主要针对外观进行调整,动力依旧提供1.4T、1.6T发动机可选。

从公告来看,此次召回的车型均为1.4T车型,但除了维特拉外,其它车型在网上并没有发现相关投诉。

加载中...