新浪财经

【干货】IGBT芯片行业产业链全景梳理及区域热力地图

前瞻网

关注

转自:前瞻产业研究院

行业主要上市公司:宏微科技(688711);斯达半导(603290);华润微(688396);时代电气(688187);士兰微(600460);比亚迪(002594)等

本文核心数据:IGBT芯片产业链;IGBT厂商产能布局

IGBT芯片产业链全景梳理:不同业务模式企业主要参与环节各异

IGBT芯片产业链上游主要是原材料,包括晶圆、硅片、光刻胶等;产业链中游主要为IGBT芯片的设计及制造,在此环节,根据企业业务模式的不同,IDM模式下的企业参与设计和制造全流程,fabless模式下的企业主要参与设计环节,通过代工方式减少设备投入风险,因此该类企业的芯片制造环节主要交由专业半导体、芯片制造企业进行生产。产业链下游,经过封装和测试的IGBT模块、单管等产品广泛应用于消费电子、家电、工控、轨交等领域。

IGBT芯片产业链上游主要为原材料供应商和设备供应商,如中环股份、SK海力士、环球晶圆等;产业链中游主要是IGBT芯片设计、制造企业,包括中车时代电气、士兰微等;国外厂商主要有英飞凌、三菱电机等;下游主要为IGBT单管、模块制造商,包括宏微科技、斯达半导体等。

从中国IGBT行业竞争者区域分布状况来看,以江苏、浙江为代表的长三角地区代表性企业数量最多,代表性企业如士兰微、斯达半导等。其他行业内代表企业分布较为分散,如华微电子位于吉林;时代电气位于湖南;比亚迪半导体位于广东等。

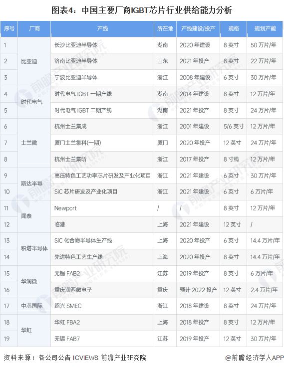
IGBT芯片产业代表性企业生产能力情况

IGBT制造属于资本密集型行业,其产业链较长,包括芯片设计、芯片制造、模块制造、测试等环节;部分设备依赖进口,成本高昂。产品研发阶段亦需要较长研发时间和较高研发成本。近年来斯达半导布局高压特色工艺功率芯片研发及产业化项目;士兰微布局8英寸集成电路芯片生产线项目;比亚迪半导布局济南功率半导体扩产项目;华润微布局8英寸高端传感器和功率半导体建设项目。据不完全统计,国内主要厂商产线布局如下:

IGBT芯片产业代表性企业最新产品动向

2022年以来,IGBT芯片产业代表性企业在芯片核心技术、高世代产品突破、产线建设方面积极布局,拓展IGBT在工控、汽车、智能电网、新能源等领域的应用:

以上数据来源于前瞻产业研究院《中国IGBT芯片行业市场前瞻与投资战略规划分析报告》,同时前瞻产业研究院还提供产业大数据、产业研究、产业规划、园区规划、产业招商、产业图谱、产业链咨询、技术咨询、IPO募投可研、IPO业务与技术撰写、IPO工作底稿咨询等解决方案。

更多深度行业分析尽在【前瞻经济学人APP】,还可以与500+经济学家/资深行业研究员交流互动。

加载中...