新浪财经

董卿丈夫密春雷被限制高消费!前年财富超100亿 如今旗下公司被执行金额超9亿

市场资讯 2023.02.23 20:10

文章来源:每日经济新闻

据中国执行信息公开网,上海市浦东新区人民法院2月22日发布的限制消费令显示,在东方富利国际有限公司与览海控股(集团)有限公司(以下简称“览海控股”)相关合同纠纷案中,因览海控股未按执行通知书指定的期间履行生效法律文书确定的给付义务,对览海控股采取限制消费措施,限制览海控股及览海控股法定代表人密春雷不得实施高消费及非生活和工作必需的消费行为,其中包括,乘坐交通工具时,选择飞机、列车软卧、轮船二等以上舱位等。

密春雷2003年创立览海控股并担任董事长,览海控股是上海人寿保险股份有限公司(以下简称“上海人寿”)的第一大股东,密春雷自2015年3月出任上海人寿董事长。

密春雷另一个广为人知的身份,则是著名主持人董卿的丈夫。2021年的胡润百富榜显示,密春雷的财富超过100亿元人民币。2022年他曾“失联”近半年时间,直至2022年7月才“现身”。

旗下公司已退市

2022年6月21日,退市海医披露称,公司收到股票终止上市决定,上交所决定终止公司股票上市。据了解,因2020年经审计的净利润为负值且营业收入低于人民币1亿元,退市海医自2021年5月6日起被实施退市风险警示。2022年4月30日,退市海医披露2021年年度报告,2021年度财报被出具保留意见的审计报告。

按照相关规定,览海医疗股票将于6月28日进入退市整理期交易,证券简称将由“*ST海医”变更为“退市海医”,退市整理期为15个交易日,最后交易日为7月18日。

图片来源:每日经济新闻(资料图)

6月20日当天,与*ST海医退市公告一同而来的还有监管机构对其的处罚。

中国证券监督管理委员会海南监管局向*ST海医出示的《行政监管措施决定书》显示,*ST海医及公司董事长密春雷等管理层,因未按规定披露关联方资金占用、关联方债权未收回等信息海南证监局决定对公司董事长密春雷、时任常务副总裁兼财务总监刘蕾、财务总监蔡泽华、董事会秘书何永祥采取出具警示函的行政监管措施,并记入资本市场诚信信息数据库

经查,*ST海医存在未按规定披露关联方资金占用、未及时披露关联方债权未收回事项等违规事项。2021年度公司存在控股股东及其关联方非经营性资金占用情况,累计发生额5.75亿元,关联方占用的资金及相应利息已于2022年6月7日归还。对上述关联方资金占用事项,公司并未按照规定履行信息披露义务。

2022年11月28日,上交所对退市海医及相关人员予以处分:经查明退市海医及相关人员存在以下违规行为:(一)控股股东及其关联方占用公司大额资金(二)公司未按规定扣除营业收入(三)公司业绩预告不准确鉴于相关违规事实和情节,经本所纪律处分委员会审核通过,根据《股票上市规则》第13.2.3条和《上海证券交易所纪律处分和监管措施实施办法》《上海证券交易所上市公司自律监管指引第10号——纪律处分实施标准》的有关规定,本所作出如下纪律处分决定:对览海医疗产业投资股份有限公司、控股股东上海览海投资有限公司、间接控股股东览海控股(集团)有限公司、实际控制人暨时任董事长兼代总裁密春雷、时任财务总监蔡泽华予以公开谴责,对时任财务总监刘蕾、时任董事会秘书何永祥予以通报批评。

曾失联近半年

2022年7月6日晚间,退市海医披露公告称,董事、董事长密春雷因个人原因授权公司董事倪小伟代为履行董事长职责,授权期限于7月6日到期, 自7月7日起,密春雷正常履行公司董事、董事长职责,不再授权倪小伟代为履行董事长职责。

2022年初,密春雷便去向不明,处于失联状态。

2022年1月29日,退市海医曾发布《关于推举董事倪小伟代行董事长职责的公告》,称公司于近日收到董事长密春雷出具的书面授权,授权公司董事倪小伟代为履行董事长职责,经公司第十届董事会第二十次(临时)会议审议通过,同意推举公司董事倪小伟代行公司董事长职责,代行期限自董事会审议通过之日起3个月。

然而3个月后,也就是今年4月12日,退市海医发布了《关于董事长授权的进展公告》,称公司于近日再次收到公司董事长密春雷出具的书面授权,推荐和授权公司董事倪小伟代为履行董事长职责,授权期限自2022年4月7日起3个月。

4月27日,退市海医在回复上交所监管函的公告中称,公司已无法与密春雷取得联系。退市海医表示,公司高度关注密春雷先生不能正常履职的情况,多次向控股股东及密春雷先生家属核实了解相关情况,截至本公告日,公司未获悉任何关于密春雷先生的应当披露而未披露的信息。鉴于公司不能跟密春雷先生取得及时联系,公司将持续关注该事项的进展,并根据后续核实的进展情况,及时履行信息披露义务。

一次又一次授权倪小伟代行董事长职责,这让密春雷“失联”的言论开始甚嚣尘上。直至2022年7月,密春雷终于“现身”。

除了担任公司董事长之外,密春雷还是退市海医的实控人。

股权关系显示,截至2022年一季度末, 上海览海投资有限公司、上海览海上寿医疗产业有限公司分别位列退市海医第一大、第二大股东,分别持有退市海医37.47%、8%的股份,而上海览海投资有限公司、上海览海上寿医疗产业有限公司为览海控股(集团)有限公司实际控制企业。

股权关系显示,览海控股(集团)有限公司由密春雷直接持股91.38%,因此密春雷为退市海医实控人。

另外,密春雷的行踪之所以备受市场关注,也和他的另一则身份有关,系知名主持人董卿的老公。

证券时报此前消息,据报道,密春雷出生于上海崇明,2003年创办览海控股(集团)有限公司,为人颇为低调神秘,被称为 “上海隐形富豪”。2019年的胡润百富榜上,密春雷以60亿元人民币财富排名684位。2020年密春雷再次上榜,身家超百亿。2021年的胡润百富榜显示, 密春雷的财富超过100亿元人民币。

密春雷及览海控股被执行金额超9亿元

中国执行信息公开网显示,截至目前,密春雷及览海控股被执行总金额约9.33亿元。

2022年6月21日,密春雷、上海览海投资有限公司、览海控股(集团)有限公司新增被执行案件,执行标的约7.19亿元,执行法院为上海市金融法院,案号均为(2022)沪74执215号。

2022年11月18日,览海控股(集团)有限公司新增被执行、失信被执行案件,执行标的约783.17万元。

2023年1月5日,览海控股(集团)有限公司新增被执行案件,执行标的约2.06亿元。

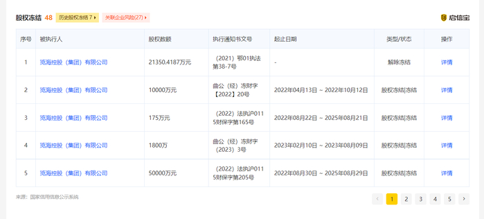
除此之外,览海控股所持有的相关股权也遭冻结。

启信宝显示,上海览海投资有限公司由览海控股(集团)有限公司100%持股,最终实控人为密春雷。览海控股(集团)有限公司成立于2003年,注册资本达65亿元,密春雷为公司法定代表人、执行董事,持股占比为91.38%。

加载中...