“南通建筑巨头”深陷债务危机,“中国建筑铁军”几乎全军覆没
小债看市
短期内,南通二建信用资质持续恶化,公司流动性压力大。
01
降级
2月10日,联合资信公告称,将江苏南通二建集团有限公司(以下简称“南通二建”)主体长期信用等级下调为A+,将“20南通二建MTN001”的信用等级下调为A+,评级展望维持负面。
下调评级公告
公告显示,受房地产行业景气度较低影响,南通二建资金回流不及预期;公司票据逾期金额继续增加,诉讼案件增多,公司流动性压力大。
2022年5月以来,南通二建持续出现票据逾期。截至2023年1月底,公司处于逾期状态的票据规模为1.51亿元,规模继续增加。
值得注意的是,此前票据逾期触发南通二建旗下“20南通二建MTN001”投资者保护机制的应急事件。
《小债看市》统计,目前南通二建仅存续1只“20南通二建MTN001”,存续规模5亿元,将于2023年3月18日到期。
存续债券详情
2022年11月,由于流动性趋紧,短期偿付压力大,联合资信将南通二建评级展望调整为负面,一个月后再将公司主体和相关债项信用等级下调为AA。
短期内,南通二建信用资质持续恶化,其面临再融资压力加大,公司经营继续承压,现金流紧张。
主体评级
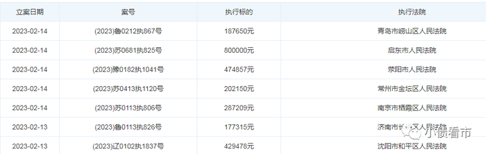
截至2023年2月10日,南通二建被纳入被执行人案件合计178件,执行标的合计1.62亿元。
2023年2月6日,南通二建新增1件失信被执行人案件,涉及金额0.14亿元 。
被执行人信息
截至2022年12月末,南通二建到期未清偿债务累计1.16亿元。
此前,南通市副市长、启东市市委书记李珍组织专项协调会,成立了金融服务组、清收清欠组和司法服务组在内的三个专项小组进驻二建集团,帮助企业开展自救。
02
深陷危机
据官网介绍,南通二建是一家集科研、施工、投资于一体,跨行业、跨地区、多元化经营的大型建筑企业集团。
南通二建具有国家房屋建筑工程施工总承包特级资质、市政公用工程施工总承包一级和机电设备安装、建筑装饰装修、钢结构工程、地基基础工程4个专业承包一级资质。
南通二建官网
从股权结构看,江苏苏东投资有限公司为南通二建的控股股东,持股比例为77.24%,江苏南通二建集团有限公司工会为公司实际控制人。
股权结构图
近年来,房地产行业景气度较低,对南通二建业务产生一定影响,虽然公司业务基本正常运营,但是建筑施工业务收入和新签合同额持续下降。
2021年,南通二建新签合同额数量和新签合同金额同比分别下降15.36%和18%,公司长期业务开展受房地产行业影响大,海外项目推进也存不确定性。
从业绩上看,2022年前三季度南通二建实现营业总收入183.56亿元,同比下降12.51%;实现归母净利润7.08亿元,同比下降15.55%。
归母净利润变动
截至2022年三季末,南通二建总资产有480.71亿元,总负债326.8亿元,净资产153.91亿元,资产负债率为67.98%。
财务杠杆水平
《小债看市》分析债务结构发现,南通二建主要以流动负债为主,占总债务的94%,债务结构不合理,短期债务占比过高。
截至相同报告期,南通二建流动负债有307.74亿元,主要为应付账款,其一年内到期的短期债务合计有48.08亿元。
若加上35.89亿应付票据,南通二建的短期有息负债总规模有83.97亿元。
相较于短债压力,南通二建流动性异常紧张,其账上货币资金有32.55亿元,现金短期债务比为0.38倍,且大部分为受限资金,公司短期偿付压力很大。
在备用资金方面,截至2022年中,南通二建银行授信总额有98.35亿元,未使用授信额度为21.73亿元,可见其财务弹性欠佳。
授信额度
此外,南通二建还有非流动负债19.06亿元,主要为长期借款,其长期有息负债合计有18.18亿元。
整体来看,南通二建刚性债务有102.15亿元,主要以短期有息负债为主,带息债务比为31%。
从融资渠道看,南通二建渠道并不算多元,除了发债和借款,其还通过租赁、应收账款和股权质押等方式融资。
受外部融资环境收紧影响,2018年以来南通二建的筹资性现金流持续净流出,公司面临再融资压力较大。
筹资性现金流
在资产质量方面,2022年9月底南通二建应收类款项和合同资产合计占资产总额的比重为82.11%,对资金形成较大占用。
另外,值得注意的是南通二建还面临担保代偿风险。
截至2022年6月底,南通二建对外担保余额14.46亿元,行业和区域集中度高,且部分担保未设置反担保措施,存在一定或有风险。
总得来看,南通二建业绩下滑,经营承压,对债务和利息的保障能力下降;流动性紧张,短期面临较大偿债压力;部分工程款回收存不确定性,资产质量一般。
03
建筑之乡
“中国建筑看江苏,江苏建筑看南通。”
据江苏省住建厅公布数据显示,2021年江苏实现建筑业总产值41642亿元,其中南通首破万亿达到10612.2亿元,占江苏全省四分之一。
然而,近年来随着疫情、经济下行以及房地产行业剧震,将南通建筑业拖入寒冬。
2022年4月1日,江苏南通三建集团股份有限公司 ( 以下简称“南通三建 ”)公告称,在南通市市政府的支持下,公司已组建金融机构债权委员会,拟进行债务重组。
重组前,南通三建旗下多只境内债券展期,信用等级一降再降,2020年其3亿美元债就因无法正常兑付,被穆迪定性为违约。
南通三建是一家大型综合性现代建筑企业集团,以建筑施工为基础,集金融、投资、房地产、运营服务、海外经营、科技孵化六大产业于一体。
作为恒大集团供应商,南通三建项目合同额规模大,受前者资金面紧张影响,其在工程款结算和资金回流上被拖累。
可以说,自从2020年起南通三建资金链紧张初现,恒大爆雷成了压垮它的最后一根稻草。
值得注意的是,目前号称“中国建筑铁军”的南通建筑业几乎全军覆没。
2022年9月,此前已申请过三次破产的南通六建,100%股权被成功拍卖;2020年南通一建正式破产清算,苏中建设两次被申请破产清算,南通四建被破产清算等等。(作者微信:littlebond1)