新浪财经

龙虎榜丨恒大高新今日涨5.45%,知名游资赵老哥净买入841.36万元

界面新闻

关注

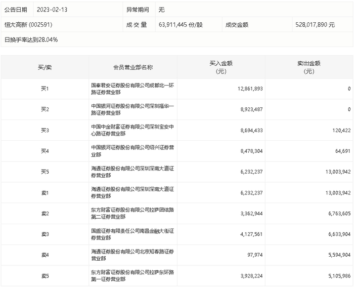
2月13日,恒大高新今日涨5.45%,龙虎榜数据显示,上榜营业部席位全天成交9399.45万元,占当日总成交金额比例为17.8%。其中,买入金额为5670.71万元,卖出金额为3728.75万元,合计净买入1941.96万元。

具体来看,知名游资现身龙虎榜,赵老哥(中国银河证券股份有限公司绍兴证券营业部)净买入841.36万元。此外,国泰君安证券成都北一环路证券营业部、中国银河证券深圳福华一路证券营业部分别买入1286.19万元、892.35万元;海通证券深圳深南大道证券营业部、东方财富证券拉萨团结路第二证券营业部分别卖出1300.39万元、676.36万元。

加载中...