新浪财经

制裁,金瑞期货香港子公司被罚,上市申请已搁浅五年

市场资讯 2023.02.08 21:19

  来源:券业行家 

制裁,金瑞期货香港子公司被罚,上市申请已搁浅五年

来自境外的“制裁函”,直指金瑞期货位于香港的子公司金瑞香港。而这家由平安证券担任保荐机构的期货机构,早在2017年便提交了招股书,五年过去仍没有下文。

境外监管制裁

跨年之后,香港证监会的新闻有了更新,最新的一则,是对金瑞期货(香港)有限公司(简称:金瑞香港)的“罚款”和“制裁”。

监管函披露,金瑞期货(香港)有限公司(简称:金瑞香港)在关键时间容许258名客户使用客户自设系统发出交易指示,但却没有对该等客户自设系统进行充分的尽职审查,未能妥善评估并管理与其客户使用该等客户自设系统相关的洗钱及恐怖分子资金筹集风险和其他风险。香港证监会识别到存入四名客户的帐户内的部分存款属异乎寻常/可疑且与客户申报的资产净值不符,金瑞香港对该等客户的有关查询并不足够,未能圆满解释该等可疑交易。

香港证监会进一步发现,金瑞香港没有遵从其开户程序涉及打击洗钱的调查,包括识别客户是否政治人物或名列现有的恐怖分子及制裁名单。

香港证监会据此认为,金瑞香港的行为违反了《打击洗钱及恐怖分子资金筹集条例》《打击洗钱及恐怖分子资金筹集指引》及《证券及期货事务监察委员会持牌人或注册人操守准则》的规定。

为此,香港证监局对金瑞香港予以谴责,并处以罚款480万元。两名责任人遭到制裁:前执行董事兼负责人员沈纯,作为时任负责整体管理监督职能的核心职能主管,被禁止重投业界六个月。时任营运监控与检讨及打击洗钱/恐怖分子资金筹集职能,以及负责合规职能的核心主管蒋晓晴女士,被暂时吊销牌照,为期五个月。

国资期货股东

单从名字上看,金瑞香港与金瑞期货股份有限公司(简称:金瑞期货),就有着关联。而金瑞期货有着江西国资背景,由江西铜业集团有限公司(简称:江铜集团)间接全资控股。

这也难怪,打开金瑞期货官网,行家不仅看到了江铜集团的logo,也找到了金瑞香港的官网链接和介绍。

公开信息显示,证监会在2006年首次批准设立六家位于香港的期货子公司,金瑞香港正是其中之一。官网显示,金瑞香港持有香港证监会(SFC)2号牌照,主营境外市场期货经纪业务,其主要收入来自香港以及海外主要交易所的商品及指数期货合约经纪业务的手续费收入及利息收入。

另据证监会审批信息,2021年2月10日,金瑞香港《境外机构投资者资格审批》申请材料被监管接收并获得受理;2021年2月20日收到第一次书面反馈。

两年过去,这一申请事项依然没有更新。

申请长期搁置

历时更久的,是金瑞期货的上市申请。

2016年4月,由平安证券担任辅导机构,金瑞期货向深圳局报送了辅导备案材料。2016年11月和2017年2月,平安证券两度发布了辅导进展报告。

2017年11月,由平安证券保荐,金瑞期货提交了招股书,拟在深交所上市,公开发行不超过1.53亿股。2017年12月,金瑞期货的IPO申请获得受理。2018年2月,证监会第一次书面反馈。

转眼五年过去,行家注意到,至少从2020年起,金瑞期货就没有出现在深交所排队等待审批的名单中,并且也没有看到撤回上市申请的消息。

如今,A股已有四家期货公司:深交所上市的瑞达期货弘业期货,上交所上市的南华期货永安期货。此外,新湖期货拟首发上市,已收到监管反馈意见。

在多家同行后发先至,积极活跃在资本市场的同时,行家迫切的想了解,究竟是什么原因,阻碍了金瑞期货上市的脚步?

曾是投诉榜首

翻查金瑞期货隶属的深圳证监局,行家发现了数份历史通报:自2016年到2018年,金瑞期货多次出现在期货机构投诉榜前三。

而在2020年下半年,深圳局再度公布中断多时的投诉排名时,11家期货机构投诉量激增至79起;而登榜三甲已经变成了平安期货、中信期货和先锋期货。

从涉诉情况来看,金瑞期货公开的判决书数量不多。最近的一起发生在2021年,因强行平仓后账户金额倒欠,金瑞期货起诉客户,法院判决由该客户赔偿穿仓费用。

稍早之前,金瑞期货还有两起涉及”调岗降薪“的劳动争议案。

黄女士由金瑞期货研究岗位调至深圳分公司营销岗位,月薪从6500元降至3000元,起诉”讨薪“未获法院支持。

原北京营业部负责人卢先生,因绩效不佳被降为客户营销人员,月薪从13000元降至4000元。这起案件在二审阶段获得全胜,判决支付工资差额、未休年假工资和违法解约补偿。

年初刚刚换帅

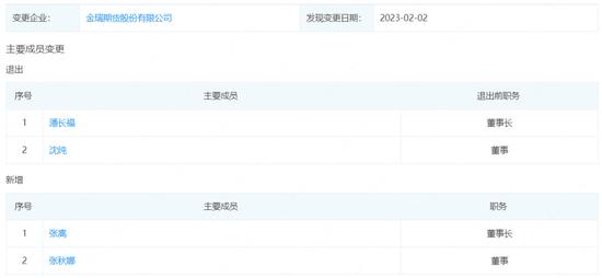
今年年初,金瑞期货刚刚发生了高管变动:潘长福卸任董事长,沈纯卸任董事;张嵩新任董事长,张秋娜新任董事。

这位卸任的“沈纯”。是否是香港证监会罚单中提到的当事人呢?

目前,中国期货业协会已经更新了两名高管的履历。

张嵩来自股东方江铜集团,2020年11月起加入金瑞期货,任财务总监,2023年1月16日任董事长。

张秋娜女士拥有技术背景,曾在IBM和软通动力任职,后加入穆迪旗下机构任风险管理分析师。2015年起,她相继在金瑞期货及股东方所属机构从事风控法务相关工作。

换帅之后,金瑞期货或将重整旗鼓,再度出发!

加载中...