新浪财经

古井贡酒和养生天下合作布局大健康,后者主业做酵素产品、曾被诉侵权迪丽热巴肖像和养生堂商标

酒业内参

关注

继和科大讯飞合作布局“人工智能+白酒”后,古井贡酒又闲不住了,这次它将目光锁定在了大健康产业。

2022年11月25日,古井贡酒与养生天下签署战略合作协议,成立安徽古井健康科技有限公司,携手开启中医药大健康产业发展新征程。

古井集团董事长梁金辉在签约仪式上表示,布局健康产业,是古井发挥品牌优势、管理优势、资源优势,延链补链,开辟的大健康产业第二赛道,更是古井顺应国家健康产业发展,发挥亳州中医药优势,擦亮“中华药都 养生亳州”金字招牌的有力之举。

据悉,安徽古井健康科技有限公司大股东系安徽古井贡酒股份有限公司,持股60%;贾友彬为第二大股东,持股约18.93%。贾友彬担任亳州市谯城区养生天下企业管理咨询合伙企业(有限合伙)执行事务合伙人、安徽养生天下健康科技发展有限公司法定代表人等。

大健康布局与梁金辉喊出的200亿目标有关吗

梁金辉此前表示,2023年是古井集团“改革深化提升年”。他号召广大员工,新的一年,拿下200亿,向更高目标进发。所以,大健康产业是古井集团的改革方向之一吗?

在2022全国理性饮酒宣传周新闻发布会上,梁金辉也呼吁,从理性饮酒、关爱成长出发,塑造健康的产业形象、品牌形象、企业形象,为健康中国添彩助力。

在售养生酒销量为零,客服称太贵没人买

古井贡酒官微介绍,除了“年三十”“年份原浆”等系列产品外,公司还推出了“37℃亳菊”“灵芝酒”“米斛酒”等系列养生酒。

而酒业内参在古井贡酒天猫旗舰店仅发现一款在售的养生酒,为新品42度500ml的生态灵芝酒,售价为888元。然而,页面显示产品的月销量为零。

酒业内参就此对话了客服,客服直言“目前没有人买 因为觉得贵”

酒企纷纷布局大健康产业,古井贡酒无明显优势

近年来,酒企布局大健康产业的不少,并陆续推出了养生酒保健酒。如2022年9月,北京同仁堂养生酒研发中心在北京成立;2021年7月,泸州老窖推出高端养生酒茗酿•萃绿;2022年12月22日,茅台保健酒业公司新一轮制酒正式拉开帷幕。

在原有的保健酒格局中,劲牌占据保健酒龙头地位,还有以鹿龟酒为代表的海南椰岛山西汾酒旗下的竹叶青酒虎视眈眈。

且在售的养生酒产品价格不过百占主流,与古井贡酒888元的灵芝酒相去甚远。没有拳头产品、没有价格优势,古井贡酒真的做好布局大健康的准备了吗?

养生天下是一家什么公司?

梁金辉在签约仪式上介绍,养生天下是亳州市规模性酵素生态产业链企业。

酒业内参查询企业官网,在产品中心的各渠道下方均未检索到数据。

目前企业官网头图显示有一款名为“欣肝保倍”的饮品,图片上有“0糖0脂肪”的介绍。酒业内参并未在电商平台找到这款产品。

酒业内参联系了企业官网提供的电话,工作人员表示,“欣肝保倍”是和古井集团合作的产品,目前该款产品在安徽合肥、亳州两个线下市场有售,或者可通过线下代理商渠道购买,后期会在小程序上线。目前该产品100ml规格的售价为每箱139元,一箱16瓶。

通过查阅养生天下的资料发现,公司曾因擅用迪丽热巴肖像被判赔,还因侵权养生堂商标被强制执行。在选取合作伙伴时,不知古井贡酒是否进行了背景调查?

养生天下曾因擅用迪丽热巴肖像被判赔

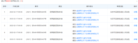
2022年8月5日,迪丽热巴·迪力木拉提与安徽养生天下生物科技有限公司网络侵权责任纠纷一审判决书公开。

文书显示,原告迪丽热巴诉称,被告在其公司宣传平台擅自使用多幅原告肖像及姓名,视频使用的图片左上角写明“迪丽热巴为养生天下品牌助力推广”,给公众造成原告系其产品代言人的误解,其行为属于虚假代言广告宣传,给原告带来经济损失及名誉、精神损失。被告辩称,被告并未标注“代言人”和“形象代言”字眼,且涉案图片系广州某公司授权,属于合理使用公众资源。即便构成侵权,被告侵权情节较为轻微。

法院审理认为,被告在线展示原告肖像用于品牌配图,侵权主观过错明显。现有证据不足以证明广州某公司有将原告肖像、姓名相关权利进行转授权的权利,被告行为已构成对原告肖像权、姓名权的侵害。最终,法院判决被告道歉并赔偿迪丽热巴经济损失8万元。

养生天下曾被诉侵权养生堂商标

2018年12月26日,养生堂有限公司诉安徽养生天下生物科技有限公司侵害商标权纠纷一审民事判决书公开。

法院审理认为,被控侵权产品及包装、宣传材料上标注的“养生天下”字样与第1141295号、第10810517号注册商标“养生堂”相对比,虽然文字不全相同,从整体上两者含义相近,文字相近似,容易导致相关公众混淆,使消费者误认为是养生堂公司的产品,可以认定是侵犯涉案注册商标专用权的商品。故原告养生堂公司要求被告停止侵权的诉讼请求理由成立,法院予以支持。

2019年07月24日,养生堂有限公司向法院申请对安徽养生天下生物科技有限公司强制执行,法院依法立案执行。

加载中...