新浪财经

“渣渣灰”要上市了!游戏公司卖米粉卖成网红,去年总收入超57亿

证券时报e公司

关注

转自:证券时报·e公司

说到中旭未来,很多人可能毫无印象。但若提到贪玩蓝月、渣渣灰,很多人就不陌生了。

中旭未来是江西贪玩信息技术有限公司的VIE控制实体,该公司主要从事网络游戏等开发、运营,近日,中旭未来递交了港股上市申请。

中旭未来与渣渣灰的关系,要从5年前说起。

2017年6月,江西贪玩邀请张家辉、古天乐等多位知名港星为旗下游戏《贪玩蓝月》代言。由于普通话不标准,张家辉读自己的名字好似“渣渣辉”。网络爆梗“渣渣辉”便由此而来。

2018年,江西贪玩曾申请“渣渣辉”商标,但未果。这两年,江西贪玩跨界卖起米粉,使用的品牌名正是源自网络爆梗的“渣渣灰”。

曾邀多位巨星代言

中旭未来的核心品牌是2015年5月成立的贪玩游戏,公司主要从事网络游戏开发和运营等业务。

2019年至2021年,中旭未来收入分别为30亿元、28.7亿元、57.4亿元。同期利润分别为8300万元、-13亿元、6.2亿元。今年上半年,中旭未来收入为45.4亿元,利润为3.37亿元。

以2021年的收入规模计算,中旭未来已超越多家A股上市游戏公司。

招股书显示,以2021年手机游戏产生的收入计算,其以2%的市场份额在国内游戏公司中排名第五。按非自主开发手机游戏产生的收入计算,其在国内国内排名第二。

中旭未来的主要收入来源于游戏。2021年,游戏产品占其收入的98.9%。其中,自营游戏产品的收入又占到81.9%。

传奇IP游戏是中旭未来的重要游戏品类,而邀请明星代言,大量投放广告,又是中旭未来的重要运营方式。

招股书显示,中旭未来是国内游戏公司中的买量大户。2021年,其针对国内游戏产品的广告投放量排名行业第四。

公司官网信息显示,2015年,其邀请陈小春、朱茵担任游戏《雷霆之怒》代言人;2016年邀请孙红雷、古天乐,2017年邀请张家辉担任《贪玩蓝月》代言人;2018年又邀请乔杉、马丽担任《龙腾传世》代言人。

2019年,中旭未来合作的明星包括甄子丹、吴孟达、郭富城、谢霆锋;2020年公司又请来冯小刚、古力娜扎、张馨予等,担任旗下产品的代言人。

中旭未来表示,公司是互联网互动娱乐业内使用明星代言宣传和营销的先行者,公司就如何挑选合适的明星代言人积累了丰富的经验,已累计合作超过30位明星代言人。

为此,中旭未来也支付了不菲的成本。

2019年至2021年,中旭未来的营销及推广开支(主要是向合作网上媒体平台支付的网上流量获取费、线下营销开支及明星代言费)分别为23.5亿元、16.4亿元、37.4亿元。

今年上半年其营销推广开支29.2亿元,约占同期公司收入的64%。

卖米粉卖成了网红

除了游戏业务外,中旭未来也在新消费领域不断尝试,具体业务包括速食食品和潮玩等。

2020年,中旭未来推出了自有品牌渣渣灰。该品牌定位为速食食品品牌,专注于速食米粉。招股书显示,按照商品交易总额计算,“渣渣灰”,是速食食品行业中增长最快的品牌之一。

在招股书中,中旭未来也承认,该品牌的设立与网络爆梗有关。

其表示,公司得知其运营及营销的互动娱乐产品的终端用户,可能会与年轻一代中速食流行文化的潜在爱好者存在重叠,为了抓住该市场机遇,于2020年年底孵化并创立了“渣渣灰”品牌。

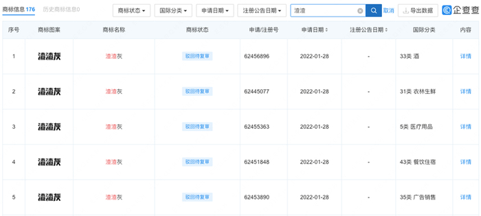
中旭未来使用“渣渣灰”而非“渣渣辉”作为品牌名,或许与商标注册有关。

2018年,江西贪玩曾申请多个“渣渣辉”商标,但相继被驳回。而企查查信息显示,目前江西贪玩名下已持有多个“渣渣灰”商标,涉及餐饮住宿、酒、食品等多个国际分类。

线上是渣渣灰米粉的重要销售渠道。

证券时报·e公司记者发现,在抖音平台,渣渣灰品牌账号粉丝近60万,店铺中上架商品158件,主要产品包括南昌拌粉、新疆炒米粉等地方系速食米粉。

(渣渣灰米粉在直播间的单日销量)

该品牌曾与抖音“广东夫妇”、郝劭文等头部主播合作,进入其直播间销售。该账号简介信息显示,截至10月30日,其全平台累计销量已超过4000万盒。

有购买过该品牌的消费者对记者表示,“渣渣灰”在米粉品牌中算是网红产品,之前下单一度还需要等待才能发货。

中旭未来表示,公司与多名KOL(关键意见领袖)合作并进行多次广播,以推广渣渣灰品牌。公司认为,KOL与粉丝之间的互动,大幅增加了其粉丝成为渣渣灰目标受众的可能性。

卖米粉也给中旭未来带来了新的业务收入。

在财报中,中旭未来把销售渣渣灰米粉和其他快速消费食品在内的业务划为创新业务。

2021年,该项业务收入为3033万元,占公司总收入的0.5%;2022年上半年,该项业务收入6677万元,占其收入的比重提升至1.5%。

不过,米粉产品的毛利相对游戏较低。上半年其毛利为43%,而中旭未来自营游戏产品的毛利高达95%。

与多家A股公司合作

中旭未来与多家A股游戏公司存在渊源。

招股书显示,江西贪玩直接持有A股上市公司恺英网络2.56%股份。

根据恺英网络今年9月公告,江西贪玩通过阿里司法拍卖平台,拍下恺英网络5517.5万股,约占公司股份的2.56%,成交金额4.18亿元。

过去几年,恺英网络与江西贪玩保持合作关系。2021年1月,恺英网络全资子公司上海恺英还与江西贪玩签署了《战略合作协议》。

根据协议,江西贪玩将其享有的IP资源部分品类与上海恺英进行独家合作,上海恺英根据协商确定的方案进行游戏产品研发。该合作旨在发挥各自在市场中的优势,提升游戏产品研发、运营效率,降低运营成本。

除恺英网络,世纪华通也与江西贪玩存在股权关系。

2021年5月,世纪华通的全资子公司上海天游从江西贪玩的股东手中,收购了江西贪玩5%股权,交易价格为5亿元。

责编:张骞爻

加载中...