沪深300、上证50指数样本股大调整!大全能源等被纳入,这些个股遭剔除(附名单)
券商中国
11月25日晚间,中证指数有限公司宣布定期例行调整沪深300、中证香港100、上证50、科创50等指数样本,于2022年12月9日收市后生效。
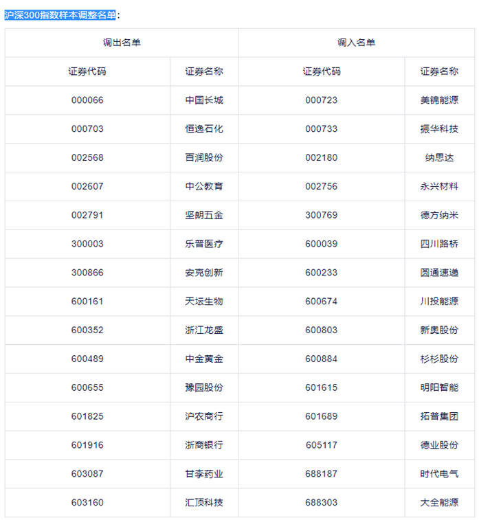
其中,沪深300指数更换15只样本,大全能源、德业股份等调入指数;中证500指数更换50只样本,东方电缆、派能科技等调入指数;中证1000指数更换100只样本,高测股份、艾为电子等调入指数;中证红利指数更换20只样本,鲁西化工、新钢股份等调入指数;中证100指数更换4只样本,天齐锂业、中国中铁等调入指数;中证香港100指数更换7只样本,港铁公司、百胜中国等调入指数。
同时,上证50指数更换5只样本,上证180指数更换18只样本,上证380指数更换38只样本,科创50指数更换5只样本。
市值覆盖率体现行业均衡性
本次样本调整后,各指数对实体经济的反映进一步加强,工业行业样本数量显著提升。沪深300指数中新进科创板样本2只,样本数量为15只,样本权重由2.31%升至2.41%;新进创业板样本1只,样本数量为36只,样本权重由12.84%降至12.66%。从行业来看,工业行业样本数量净增加6只,权重上升0.65%;公用事业行业样本数量净增加2只,权重上升0.19%;能源行业样本数量净增加1只,权重上升0.12%;金融行业样本数量净减少2只,权重下降0.33%;医药卫生行业样本数量净减少3只,权重下降0.37%。
中证500指数中科创板、创业板样本数量分别增加至25只、56只,样本权重分别增加至2.61%、6.48%;工业行业样本数量净增加5只,权重上升0.36%;原材料行业样本数量净增加4只,权重上升1.96%;信息技术行业样本数量净增加4只,权重上升0.63%。中证1000指数中,工业行业样本数量净增加15只,权重上升0.52%;医药卫生行业样本数量净增加5只,权重上升0.71%。中证红利指数保持高股息特征,近一年股息率由6.16%上升至6.30%,指数分红稳定性也有提升。
(数据来源:中证指数官网截图)
样本调整后,从市值覆盖率来看,沪深300、中证500和中证1000指数占沪深市场总市值比分别为51.62%、15.99%和15.49%。沪深300指数样本2022年前三季度营业收入占沪深市场比为59.53%,净利润占沪深市场比为74.66%;中证500指数样本2022年前三季度营业收入占沪深市场比为17.39%,净利润占沪深市场比为10.80%。中证1000指数样本总市值均值为117亿元,小盘特征凸显。中证100指数占沪深市场总市值、自由流通市值比分别为26.24%、27.80%,各行业自由流通市值分布与沪深市场基本一致,体现良好的行业均衡性。
(数据来源:中证指数官网截图)
科创50指数调整硬科技属性更明显
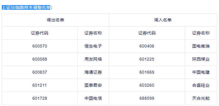
公告称,上证50指数更换5只样本,新调入了国电南瑞、陕西煤业、中国电建、合盛硅业和天合光能5家公司。调出名单则包括恒生电子、用友网络、海通证券、国泰君安和中国电信5家公司。
调样后,上证50指数样本市值占沪市比为31.6%,2022年前三季度营业收入占沪市比为36.4%,净利润占沪市比为42.8%;实体经济占比进一步上升,工业行业样本增加3只,权重上升3.5个百分点。
(数据来源:上交所、中证指数公司)
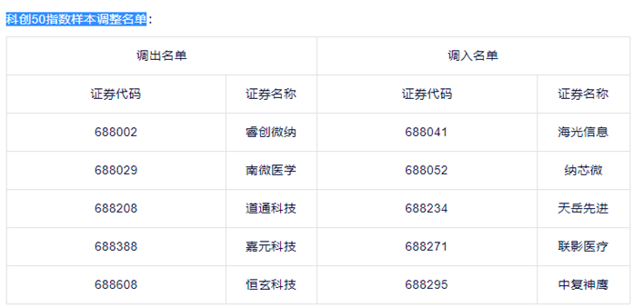
与此同时,科创50指数调入了联影医疗、海光信息、中复神鹰、纳芯微、天岳先进5家公司。调整后,科创50指数代表性、硬科技属性和龙头属性更加明显。指数样本市值达2.53万亿元,占科创板整体比为42.1%,较调样前提升5.3个百分点。2022年前三季度净利润506亿元,同比增长45.3%,占科创板整体比重58.4%,较调样前提升1.2个百分点。样本2021年累计研发支出372亿元,占科创板整体比重48%。行业分布上,以新一代信息技术、新能源、生物医药等硬科技行业为主,权重分别为51%、22%、13%。
本次调整,科创50指数调出的公司有睿创微纳、南微医学、道通科技、嘉元科技和恒玄科技5家。
(数据来源:上交所、中证指数公司)
此外,上证180指数更换18只样本,新调入中国海油、大全能源、东方电气等公司;上证380指数更换38只样本,其中新调入11只科创板样本。
此次样本调整后,上证180等指数中,国家重点支持的制造业和新能源行业样本增多,指数代表性进一步提升。上证180指数样本市值占沪市比为52.7%,2022年前三季度营业收入占沪市比为63.9%,净利润占沪市比为81.5%。指数科创属性持续增强,沪港通标的指数上证180指数、上证380指数科创板证券数量共增加9只,累计分别已经有12只、48只科创板证券样本。
境内指数化投资发展空间广阔
境内指数化投资发展至今二十载,产品数量与规模增长迅速。
前不久举行的第十六届指数与指数化投资论坛上,中国证券投资基金业协会党委委员、秘书长陈春艳认为,随着我国经济结构调整、多层次资本市场构建以及基础设施制度的持续完善,境内指数化投资未来发展空间广阔,在服务国家战略发展、促进实体经济高质量发展等方面发挥着日益重要的作用。
中证指数公司相关数据显示,截至2022年三季度末,全球ETF等产品规模逾8.4万亿美元,境内含QDII在内的指数型产品超过1700只,规模逾2.1万亿元人民币。其中,与年初相比,沪市股票ETF份额增长超过30%,创历史新高。
第十六届指数与指数化投资论坛上,中证指数有限公司总经理助理宋红雨表示,基于境内核心宽基指数的投资规模仍有较大提升空间,一是核心宽基指数的市场表征性将随着资本市场长期健康稳定发展逐步增强;二是相较境外成熟市场,现阶段境内核心宽基指数资金跟踪规模较低,核心宽基指数化投资产品作为资产配置工具的功能有待进一步充分发挥。