新浪财经

牧鑫私募、健顺投资和嘉实基金打新被禁,源自科创板“弃购”?

市场资讯 2022.10.31 21:47

  来源:券业行家 

牧鑫私募、健顺投资和嘉实基金打新被禁,源自科创板“弃购”?

最新的打新“黑名单”,让行家颇为震撼:两家大型私募和一家头部公募,因参与科创板“打新”违规被列入“限制名单”。

新增科创板打新罚单

刚刚过去的周末,中国证券业协会又更新了两份“打新黑名单”。

其中,《首次公开发行股票配售对象黑名单公告(2022年第8号)》将在2022年7月参与主板IPO项目网下申购过程中违反《首次公开发行股票承销业务规范》规定的27个股票配售对象列入黑名单。从名单来看,主要是自然人投资账户。

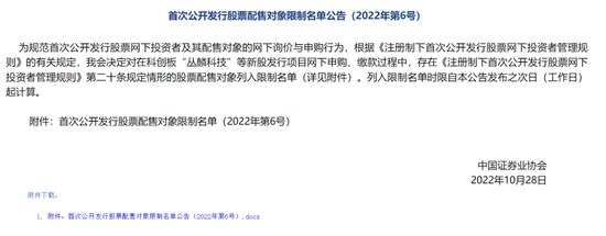
而《首次公开发行股票配售对象限制名单公告(2022年第6号)》,披露在丛麟科技(全称:上海丛麟环保科技股份有限公司)等科创板新股发行项目网下申购、缴款过程存在违规行为的情况,名单中却全部是机构账户。

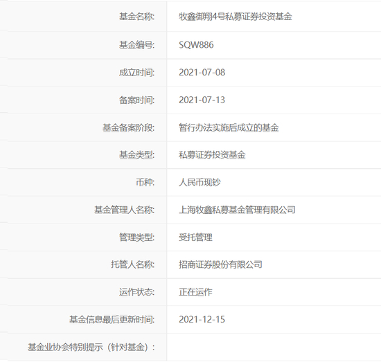
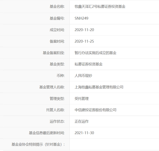
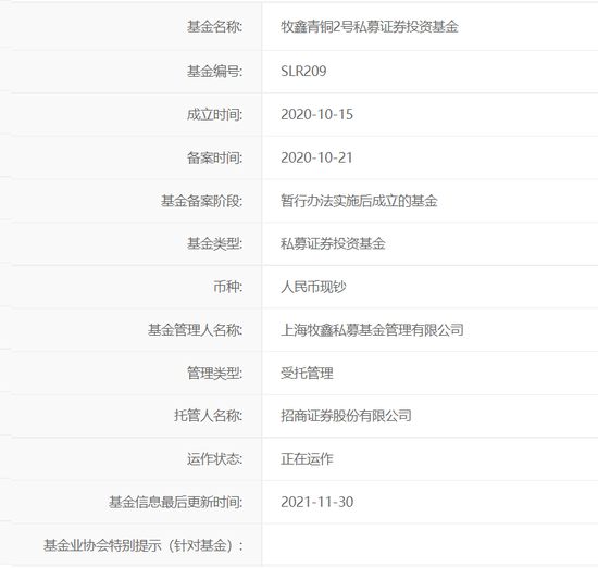
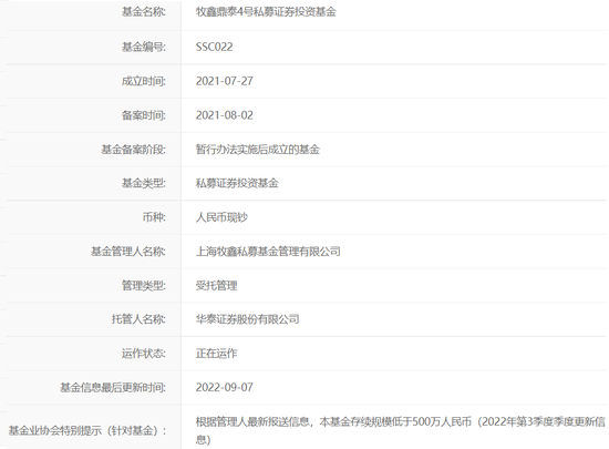
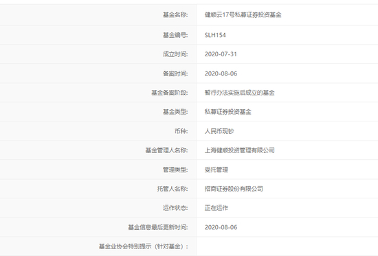
浏览名单,嘉实裕远高增长10号集合资产管理计划(下称“嘉实裕远高增长10号”)和四只“牧鑫”系列产品——鼎泰4号私募证券投资基金(下称“牧鑫鼎泰4号”)、牧鑫青铜2号私募证券投资基金(下称“牧鑫青铜2号”)、牧鑫天泽汇2号私募证券投资基金(下称“牧鑫天泽汇2号”)、牧鑫御翔4号私募证券投资基金(下称“牧鑫御翔4号”)均被禁半年;健顺云17号私募证券投资基金(下称“健顺云17号”)被禁一年。

全额弃购丛麟科技

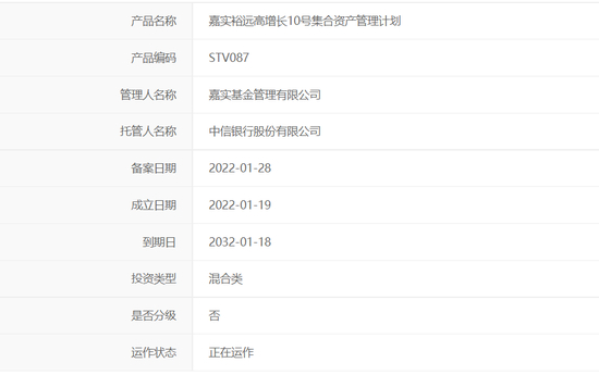
先说这只“嘉实裕远高增长10号”,从名字上看,行家的第一反应,指向头部公募嘉实基金。

果不其然,这正是嘉实基金旗下的集合资管计划,于2022年1月成立并备案。

另一方面,行家查看了丛麟科技(688370.SH)在今年8月首发上市之际的公告。这只科创板新股,中签率为0.02398227%。嘉实裕远高增长10号作为网下投资者,中签700股,获配金额为4.18万元,连同佣金在内应缴4.20万元。但在缴款阶段,嘉实裕远高增长10号全额弃购,由主承销商中信证券包销。

行家注意到,丛麟科技发行价为59.76元/股,但在敲钟当日即惨遭破发:下跌23.9%。截至今日(2022年10月31日)收盘,丛麟科技现价为36.27元/股。以发行价计算,嘉实基金或许避免了39.35%的浮亏。

四只产品同时违规

通过中基协私募产品信息,行家查到,前述四只“牧鑫”系列,均为上海牧鑫私募基金管理有限公司(简称:牧鑫私募)旗下。其中,牧鑫鼎泰4号规模低于500万元,有中基协提示。

More

中基协备案信息显示,牧鑫私募成立于2014年8月,2015年11月登记备案。目前14名全职员工均取得基金从业资格,在管产品70只。截至2022年9月,管理规模在20亿元到50亿元之间。

据牧鑫私募官网,公司原名“上海牧鑫资产管理有限公司”,主要专注于量化投资策略。川谷科技统计,牧鑫私募在2021年内连续“上台阶”,2021年底以来规模保持在35亿元。对量化私募来说,这一体量相当靠前。

在中基协备案的高管履历显示,牧鑫私募的法定代表人、董事长、总经理张杰平,早年曾在Credit Suisse位于伦敦和新加坡的机构任职。在私募领域,他曾是上海杉树资产管理有限公司(简称:杉树资产)的联合创始人。或许因为海外任职经历,他通过资格认定获得基金从业资格。

合规负责人颜燕茹女士履历显示,她曾任职于金诚财富市场支持部门,其后加入牧鑫私募任合规总监。此外,她的基金从业信息仅显示在牧鑫私募这一条任职信息。

老牌私募被禁一年

至于健顺云17号,中基协信息披露,这只产品的管理人为上海健顺投资管理有限公司(简称:健顺投资)。

健顺投资也是一家老牌私募,成立于2006年4月,2015年1月完成备案。全职员工25名,其中17名取得基金从业资格。目前在管产品60只,管理规模20-50亿元。

关于健顺投资,中基协有一条红字提示,存在提交清算开始后超过6个月未完成清算的私募基金。

据中基协备案信息,健顺投资的实控人、法定代表人、董事长、执行董事吴晓威,除2011年在鼎晖投资短暂任职外,没有别的经历。合规负责人严俞敏婕女士,曾在上海锐天投资管理有限公司(简称:锐天投资)任合规风控负责人。

无论是健顺投资还是牧鑫私募,行家暂未查到具体的违规情况。从过往案例猜测,很可能还是来自科创板的打新弃购。

今年以来,中证协已就“打新”违规发布了多起“禁令”,被禁名单中不乏券商自营账户,百亿私募等知名机构。扎堆违规是否都来自打新弃购?相关机构是否存在合规漏洞呢?

加载中...