新浪财经

【投资视角】启示2022:中国轴承制造行业投融资及兼并重组分析(附投融资事件、政府基金和兼并重组等)

前瞻网

关注

转自:前瞻产业研究院

行业主要上市公司:万向钱潮(000559);五洲新春(603667);襄阳股份(000678);龙溪股份(600592);苏轴股份(430418)等

本文核心数据:融资事件汇总;对外投资事件汇总;兼并重组事件汇总

1、上市募资主要用于扩增产能及建设新项目

根据代表性上市企业公告的梳理,轴承制造行业的上市公司融资手段主要有定向增发、可转债融资、非公开发行股票融资等几种方式。从整体来看,中国轴承制造上市企业的融资主要均为了扩产及建设新项目。2020-2022年主要的融资事件如下。

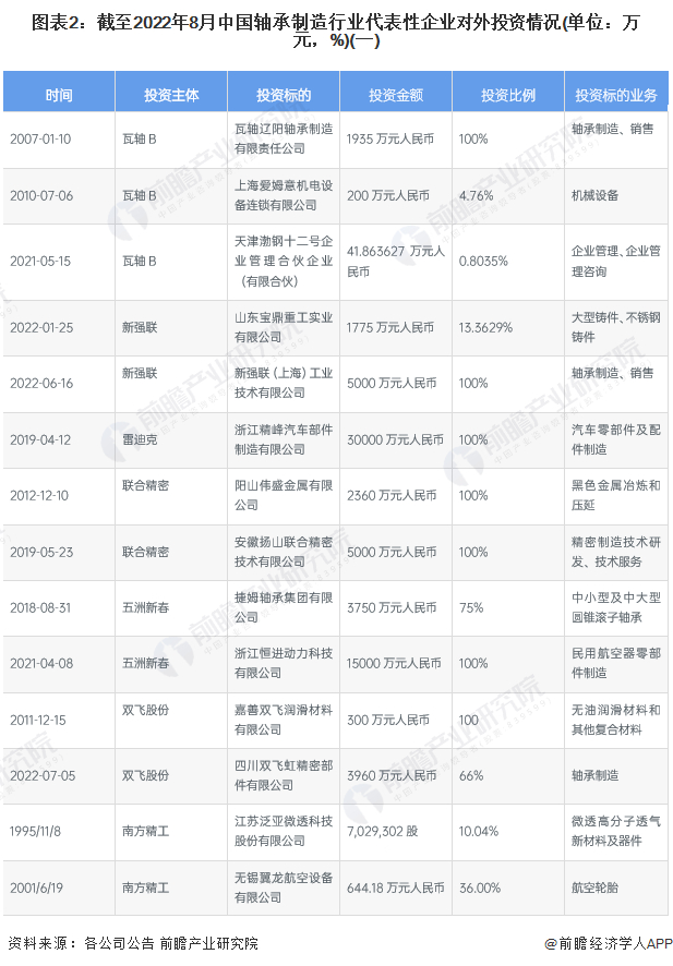
2、企业大多布局产业链投资

从中国轴承制造行业代表性企业的对外投资来看,瓦轴B新强联、联合精密、五洲新春、南方精工、万向钱潮等企业均通过布局产业链上下游实现产业链一体化,从而实现产业链的降本增效。

3、相关产业园区改造升级正当时

2021年部分中国轴承制造产业园区进行改造升级,2021年底聊城临清轴承产业园区在提供标准化厂房的基础上,创新实行“统一管理+共享服务+一站办证+产业基金+院校合作+金融平台”的链式服务,此外,2021年以来不断有轴承制造相关项目落地当地产业园区。

4、政府产业发展基金兴起

2016年以来,部分省市政府建立产业基金对轴承制造产业进行投资,湖南省知识产权局、湖南省财政厅于2017年7月发起设立了湖南省重点产业知识产权运营基金,目前,该基金已投资多个项目,涉及高强度紧固件、高铁轴承等领域;灵璧县财政每年投入5000万元设立轴承科技研发基金,该县开发区设立1亿元产业发展引导基金,用于支持、引导轴承产业科技研发、技术改造、品牌创建等;2022年7月26日,河南省财政厅公示科技研发联合基金(产业类)意向产业,洛阳市高端轴承产业等12个产业在列。

5、兼并重组以横向并购为主,纵向并购为辅

轴承制造行业在中国已处于成长期,众多企业仍在发展中,最近的2022年6月常州光洋轴承股份有限公司对下属三家公司(“扬州光洋世一”“威海世一”“威海高亚泰”)进行资产整合重组。

6、中国轴承制造投融资及兼并重组总结

更多本行业研究分析详见前瞻产业研究院《中国轴承制造行业产销需求预测与转型升级分析报告》,同时前瞻产业研究院还提供产业大数据、产业研究、政策研究、产业链咨询、产业图谱、产业规划、园区规划、产业招商引资、IPO募投可研、IPO业务与技术撰写、IPO工作底稿咨询等解决方案。

更多深度行业分析尽在【前瞻经济学人APP】,还可以与500+经济学家/资深行业研究员交流互动。

加载中...