新浪财经

宁德时代高层震荡:55岁的二当家带着千亿身家离职

cnBeta

关注

最新披露,宁德时代“二当家”黄世霖,带着千亿身家离职了。辞去原副董事长、副总经理职位,不再在宁德时代担任任何职务。55岁的黄世霖,还没到退休年龄,却已经在宁德时代的创业发展中实现暴富,财务自由。

如今功成身退,下一站要去哪里?

创业,去“光储充检”新兴领域,继续瞄准新能源产业。

宁德时代二当家离职?

黄世霖,宁德时代副董事长、副总经理。

除此之外,他还是宁德时代第二大股东,持股数仅次于董事长曾毓群。

最新公告显示,他直接持有宁德时代2.589亿股股份,占公司总股本的10.61%;黄世霖及其一致行动人合计持有公司2.609亿股股份,占公司总股本的10.69%。

截至8月1日收市,宁德时代股价大涨5.2%,至约535元,总市值超过1.3万亿元。按照直接持股数进行测算,黄世霖身家达到了1379.3亿元。

公司2021年财报显示,他的年薪报酬是263.45万元,算下来月薪达到了将近22万元。

福布斯2022年富豪榜上,黄世霖排名第79,榜单显示他的净资产达到了203亿美元(折合人民币约为1374.4亿元),排在王传福前面。

他拥有现今的成功,离不开自身的努力,更离不开生长的“圈子”。

黄世霖出生于1967年,福建宁德蕉城人,比曾毓群大一岁。

黄世霖与曾毓群不仅是宁德同乡,还是宁德一中高中同班同学。

高中毕业后,曾毓群考上了上海交通大学船舶工程系,黄世霖则考入了合肥工业大学应用物理系半导体器件与微电子技术专业。

2004年,37岁的黄世霖正式开始接触汽车电池行业,历任东莞市新科磁电厂测试工程部高级经理、东莞新能源科技有限公司(简称ATL)研发总监,并作为主要负责人之一参与协助粤港招标项目“汽车用动力型锂离子电池系统的开发和产业化”。

41岁那年带领团队研发出具有主动均衡功能的动力锂离子电池管理系统(BMS),并应用于公司的所有电动汽车及储能项目。

42岁升任东莞新能德科技有限公司副总裁;43岁时带领团队开发设计了具有高度智能管理能力的大型储能电池系统,该项目已成为国家示范项目。

黄世霖的创业之旅始于2011年,44岁的他和曾毓群共同投资创办了宁德时代,担任公司总经理和董事。

一直以来,他主要专注于研发,是宁德时代电池控制系统的灵魂人物。

“刚开始时心里很矛盾,这个东西该不该做、怎么做,要有自己的想法。”黄世霖说。

为此,他几乎跑遍全国每个车厂,只要有做新能源汽车的项目,他都和厂家合作,给他们供应样品、设计等。

黄世霖回忆那时:“我在走访中发现,新能源汽车有市场空间,对动力锂离子电池的研究设计工作刻不容缓。2011底,我决定对动力锂离子电池投入研发、设计、生产。”

后来宁德时代顺利拿到了宝马的订单,当时宝马提交了一份800多页的德文动力电池系统需求规格书,据黄世霖回忆,“技术标准要求之高、之细,令人咋舌”。

而为了顺利完成合作,双方成立了100多人的电池联合开发团队,涵盖了电芯、系统架构、机械设计、测试验证、质量管理等所有电池包的关键技术领域。

他们走完了动力电池研发、设计、开发、认证、测试的全流程,为后续的发展积累了经验,产出了近40项专利。

这段故事现在还被人津津乐道,但很多人不知道,背后一大功臣就是黄世霖。

2014年,有记者走进宁德时代公司采访时,曾经这样形容他:

在储能电池制造研发试验室,研发人员在黄世霖指导下试验、调试、组装……

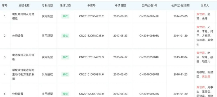
公开资料显示,黄世霖一共申请了21项锂离子电池相关专利,主要集中在2013年。

从2017年4月至今,黄世霖一直担任宁德时代副董事长、副总经理,也就是离职前的岗位。

他是宁德时代名副其实的二当家,更是站在曾毓群背后最重要的男人。

但现在,宁德时代的新阶段里,他作出了自己的选择。

黄世霖下一站去哪里?

作为宁德时代的联合创始人,黄世霖亲眼见证着公司这11年来的历史和沉浮变化。

可以说他和宁德时代互相成就了对方,如今他带着千亿资产,悄然退去。

对于黄世霖来说,接下来面临的是二次创业,瞄准的是光储充检赛道。而且官方回应称,黄世霖的创业项目,未来可能与宁德时代形成战略协同,共同推动新能源产业的发展。

此前黄世霖在接受采访时,就明确表示他非常看好储能领域:

其实储能是我的最爱,我个人非常喜欢储能。储能这一块,我个人的判断,将来市场会比电动汽车大很多。将来你有用电的地方,我都可以给你配储能,来实现提升电能的质量和降低用电的成本,实现能源使用的智能化。

在储能上面有三大块,第一块是发电侧的,这就是光伏、风力发电,包括未来的核电,还有一些火力发电,都要用到储能,它的应用非常广泛。另外一个就是输配电的过程里面可以用来调频、调幅,这一块应用空间也很大。最重要一块是用户侧,用于削峰填谷,包括智能电网,还有将来分布式的光伏发电都要用到储能。

其实所谓的光储充检,是集光伏发电、储能、快充及电池检测等功能于一体的超充技术。

宁德时代在这方面也有布局,例如他们与上海快卜合作研发建设的光储充检智能充电站,能够满足各类电动汽车的快充需求,还能提供多样化电网侧服务,外接光伏,整合可再生能源,实现清洁用电。

他们的充电站,看起来只是一个20尺的集装箱,占地面积仅14.4平方米,却集成了控制柜、电池柜、监控系统等大量核心设备。

这种充电站集储能系统、能源管理系统、直流快充桩于一体,将光、储、充有机结合,不仅能够解决当前或未来电力不足的问题,还能有效解决核心区域土地稀缺及老旧城区电网增容难的问题。

这样一来,有利于网点灵活合理部署,为解决当前普遍存在的充电设施不完善、城市土地资源紧张等问题提供了一种新方案。

另外,小米此前也被曝出布局光储充检赛道——今年6月,小米集团实控的瀚星创业投资有限公司战略入股上海快卜科技有限公司,成为其第三大股东,并派出造车团队核心人物李肖爽担任董事。

而且在今年全国两会上,小米集团创始人、董事长兼CEO雷军也明确表示,加强对新一代大功率快充技术及储充一体(尤其光储充一体)的投入尤为重要。

黄世霖的创业选择,在新能源/智能车领域并非孤例。

特斯拉联合创始人斯特劳贝尔(J.B. Straubel),就在离职特斯拉后投身电池回收行业。

但斯特劳贝尔离职时,特斯拉基本已经趋于稳定,只剩下产能理顺的挑战,需要的是强势的老板——马斯克,而不是从0到1的工程师。

然而相比起来,宁德时代却处于整个公司的关键期,一方面核心业务上,强敌环伺,新的友商一个接一个,从比亚迪、欣旺达到蜂巢等等,各大车厂短期离不开宁德时代,却又都在纷纷追求对宁德时代“有替代”。

另一方面,宁德时代的新业务,比如换电,方兴未艾,商业模式闭环还未成型。

更遥远一些的挑战,来自新材料、新电池形态的冲击,随时对现有业态产生颠覆性变革。

所以某种意义上,宁德时代依然需要黄世霖。后者的离开,不在外界预料中。

可以印证的是,黄世霖离职确实显得仓促,透过新的人事任命也可以管窥一二——

黄世霖离职后,身处业务一线的CEO周佳接任了副董事长。

而董事长曾毓群又被重新推到了业务一线,由他亲自兼任CEO。

这种董事长和CEO的一肩挑,不是曾毓群追求的结果,却是如今不得不面对的结果——至少他对这种结果不曾有充分地准备,黄世霖的抽身,或许并不是想创业那么简单。

以及,截至8月2日,与消息披露当日收盘时相比,宁德时代股价已跌2.07%,市值蒸发269.7亿元。

加载中...