新浪财经

男子160万拍下苏A牌照摩托车后悔拍!法院:悔拍须补差价

市场资讯 2022.07.25 18:55

男子160万拍下苏A牌照摩托车后悔拍!法院:二次法拍后,悔拍者须补齐差价

来源:《零距离》

今年4月18日,记者曾经报道过,一辆带苏A牌照的摩托车在司法拍卖中,被以160多万的价格拍下,引发了大家的广泛关注。那么后续如何呢?昨天(7月8日)晚上,南京市栖霞区人民法院发布了关于这次司法拍卖的具体情况通报。

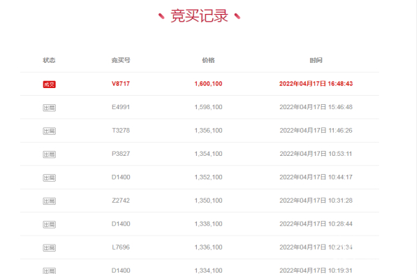
今年4月17日,南京市栖霞区人民法院对车牌号苏A62177摩托车进行了司法拍卖。拍卖信息显示:这是一辆黑色本菱HL250T-C二轮摩托车,并带有一块南京市区牌照,拍卖标的中已经写明了“含牌”,起拍价为2100元。

截至第二天10时止,经过110轮竞价,最终由竞买人吴某以160多万元拍下。在拍卖成交后,吴某没有在规定期限内缴纳拍卖尾款,法院电话联系了吴某并前往浙江绍兴市找到吴某本人进行调查,吴某表示因醉酒看错价格导致悔拍。北京金诚同达(南京)律师事务所律师周威介绍,“在竞买的过程中,会有弹窗提醒你拍卖成功,价格是多少,并且作为一个完全民事行为能力人,不能以醉酒作为借口,要对自己的行为承担法律责任”。

法院还查明,吴某是浙江某公司法定代表人,这家公司在外地法院尚有未履行执行案件,他本人已被限制高消费。法院依法对吴某的悔拍行为作出了处罚,裁定没收吴某缴纳的1万元保证金,重新拍卖过程中,吴某不得参加竞买,且第二次拍卖价格低于首次拍卖成交价的,将责令吴某补齐这两次成交价之间的差价,拒不补交的,将强制执行。

今天,记者查询了司法拍卖网站,这辆苏A62177摩托车已经重新上架,将在14天后开拍,起拍价仍为2100元,保证金1万元。尽管在拍品介绍中特别提醒了,这辆车因为长期停放,已经不能正常启动了,且逾期检验强制报废期到今年的8月31日。但在不少摩友看来,这辆摩托车仍然是香饽饽,值得“捡漏”。

资深摩友李先生介绍,“在我们看来,被拍卖车辆相当于是顶级的踏板车了,他的新车市场售价在19万左右,加上南京大牌现在行情是十五六万,他这个二手车是2015年的,它的市场行情折算也能值个五六万块钱,这车整体价格在15到20万,都是挺划算的”。

目前,第二次拍卖已经有十来人报名了。提醒准备参加竞拍的市民,要根据自身经济能力量力而行,因自身原因悔拍的将被依法追究法律责任。律师周威介绍,“奉劝大家还是不要跟风参加拍卖或者以猎奇的心理去参与第二次拍卖,已经有了前车之鉴,如果悔拍不仅要没收保证金,还要补差价”。

加载中...