新浪财经

营收持续滑坡,官司常年不停, 箭牌家居IPO胜算几何?

界面新闻

关注

原标题:IPO雷达 | 营收持续滑坡,官司常年不停,箭牌家居IPO胜算几何?

记者|赵阳戈

闯关深市主板即将上会的卫浴龙头箭牌家居,其经营的品牌ARROW箭牌,在业内具有一定知名度,公司一年的营业收入也超过了60亿元。

不过,公司近年来营业收入规模有所滑坡,2021年上半年的净利润更是只相当于2020年全年的26.82%。另外,公司产品频繁被模仿,常年陷入侵害商标权纠纷。这一次IPO上会,结果会如何?

营业收入滑坡

资料显示,箭牌家居的生产产品品类范围覆盖卫生陶瓷、龙头五金、浴室家具、瓷砖、浴缸浴房、定制橱衣柜等全系列家居产品,主要产品品牌包括ARROW箭牌、FAENZA法恩莎、ANNWA安华,三个品牌具有不同的市场定位,其中ARROW箭牌创建于1994年,2008年被认定为驰名商标;FAENZA法恩莎创建于1999年,于2011年认定为驰名商标,ANNWA安华创建于2003年。

截至2021年6月30日,公司的经销商合计1775家,分销商合计6440家,终端门店网点合计11491家,经销商模式下的收入占比超过了9成。

公司在卫生陶瓷、瓷砖和定制家居行业主要竞争对手包括东陶(TOTO)、科勒等国际品牌,以及九牧集团、惠达卫浴(603385.SH)、恒洁卫浴、东鹏控股(003012.SZ)、蒙娜丽莎(002918.SZ)、帝欧家居(002798.SZ)、欧派家居(603833.SH)、索菲亚(002572.SZ)、松霖科技(603992.SH)、建霖家居(603408.SH)、悦心健康(002162.SZ)、海鸥住工(002084.SZ)等国内品牌。在说明书中,箭牌家居引用了Euromonitor的数据,称2018年度自己在卫生陶瓷市场的市占率为7.3%,位列国内卫浴市场国产品牌前列。

竞争对手中上市公司不少,惠达卫浴于2017年在A股主板上市,是中国卫生陶瓷行业首家中国驰名商标,2021年全年营业收入38.93亿元,净利润2.35亿元。

东鹏控股于2020年上市,主要产品包括瓷砖和洁具,此外还生产销售木地板等,2021年营业收入79.79亿元,净利润1.54亿元。

蒙娜丽莎上市时间为2017年,属中小板公司,产品包括陶瓷砖、陶瓷板、瓷艺画三大系列,2021年营业收入69.87亿元,净利润3.15亿元。

帝欧家居是2016年在中小板上市,2018年时收购欧神诺瓷砖99.9%的股权,产品覆盖很广,2021年的营业收入达61.47亿元,净利润6911.6万元。

欧派家居也是上市公司,主要从事整体厨柜、整体衣柜、整体卫浴和定制木门等定制化整体家居产品的个性化设计、研发、生产、销售和安装服务,2017年就上市了,2021年的营业收入204.42亿元,净利润26.66亿元。

索菲亚上市于2011年,是国内定制衣柜的代表品牌,2021年营业收入104.07亿元,净利润1.23亿元。

松霖科技2019年上市,总部在福建,2021年也有29.77亿元营业收入进账,净利润3.01亿元。

建霖家居2020年上市,同样总部在福建,2021年营业收入和净利润分别为47.12亿元和3.76亿元。

悦心健康总部是在上海,主营业务包括建筑陶瓷、生态健康建材及医疗大健康,2007年上市,2021年的营业收入12.61亿元,净利润4618.1万元。

海鸥住工成立于1998年,2006年上市,2021年营业收入41.26亿元,净利润8561.71万元。

那么箭牌家居呢?根据说明书显示,公司2018年至2021年上半年的营业收入分别为68.1亿元、66.58亿元、65.02亿元、33.36亿元,净利润分别为1.97亿元、5.56亿元、5.89亿元、1.58亿元。营业收入有滑坡情况,对此箭牌家居给出的说法是受到了产品销售结构变动、消费者偏好变动、市场竞争加剧、新冠疫情冲击等因素的叠加影响。

净利润方面,2021年上半年只1.58亿元,相当于2020年全年的26.82%。根据此前2020年规律,下半年的营业收入占比达到了68.32%。但最终2021年如何,还有待公司的数据刷新。

频被仿冒官司不停

所谓树大招风,箭牌家居市场做大之后,难免会有人模仿,甚至侵害商标。

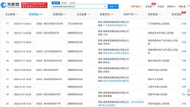
这个从公司披露的知识产权侵权案可见一斑。根据说明书651页的“重大诉讼或仲裁情况”显示,截至2021年11月30日,箭牌家居尚未完结的案件有37起,其中,侵害商标权或商标侵权的案件有30件,涉及专利权纠纷倒还只披露了2件。

这还不是箭牌家居诉讼的全貌。从天眼查可以看到,箭牌家居的开庭公告多达78页,记录了从2016年11月7日以来的开庭信息,有777个记录。这中间包括了劳动合同纠纷、名誉权纠纷等,但侵害商标权纠纷最多。其中2022年,就有超过百个与商标纠纷有关的记录,2023年还将有7个开庭公告,全部显示为“侵害商标权纠纷”,纠纷的开庭日期甚至排到了2023年的3月10日。显然这已成了公司直面的一大烦恼。

品牌被侵害商标的情形不仅仅发生在箭牌身上,有新闻显示,索菲亚、蒙娜丽莎、马可波罗、九牧等都有遇到过类似事件。

当然,也有箭牌家居被告侵害商标权的情形,比如2021年8月11日和2021年9月8日就开庭了两次,原告为翼城县旭日箭牌卫浴经销店,被告系箭牌家居,案由“侵害商标权纠纷”。

另外,案由为“知识产权与竞争纠纷”箭牌家居也有遇到,在2021年有5条开庭记录,原告均为箭牌家居。案由为“知识产权权属、侵权纠纷”在2021年也有4条记录。案由为只是“知识产权权属”的有1条。

在说明书里,箭牌家居曾有句总结是“行业进入门槛较低、自主创新能力弱”。公司称,由于卫浴行业在我国发展时间短于国外,行业的技术积累还不够,除国际知名品牌在国内设立的企业及少部分本土知名品牌企业外,其他企业普遍存在资产规模小、主要依靠模仿知名品牌的产品进行生产的情形,行业自主创新能力较弱。对公司来说,保持自己的创新能力,那就需要研发的不断投入。

就披露看,公司研发投入占营业收入比例常年保持在3%以上,2020年和2021年上半年研发投入分别为2.2亿元和1.28亿元,占营收比分别为3.38%和3.83%。截至2021年6月30日,公司共有研发人员1545名,占员工总数的比例为9.28%,其中核心技术研发人员共4名。

加载中...