新浪财经

中信银行跻身全球银行20强!亮眼表现背后做对了什么?

市场资讯 2022.07.08 18:36

全球银行1000强代表性中资银行战略布局与业绩解密

当下的银行业,正处于新一轮业绩、估值分化的起点。各银行之间的竞争,越来越集中在综合金融实力的比拼上,只有建立全方位的领先优势,才能拓宽自身“护城河”。

作为银行业公认的榜单,每一年英国《银行家》全球银行1000强都备受关注。该机构近日发布的2022年全球银行1000强榜单显示,中国银行业疫情期间表现更强大、更坚韧,一级资本总额增加了14.4%。

在这份榜单中,有一家股份行近年来排名连续上升。中信银行在2022年首次跻身全球银行前20强,在一级资本榜单中,排名第19位。

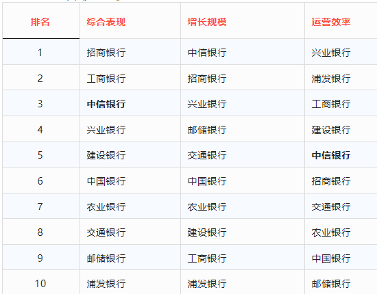
另据英国《银行家》对2022年全球银行1000强榜单前10家中资银行综合表现,招行、工行、中信银行位列前三位,中信银行在股份行中位居第二,并在多个细分榜单中表现居前。

这家股份行表现亮眼的背后,做对了什么?

综合表现位居股份行第二

尽管全球银行业都受到外部环境的严重冲击,但仍有多家中国银行排名持续上升。首次跻身全球银行1000强榜单前20强的中信银行,具有较强的代表性。

可以说,在榜单各个细分领域,中信银行表现都较为抢眼。

在增长规模方面,中信银行在所有上榜中资银行中排名第一;在盈利能力、运营效率、资产质量、风险回报等方面,中信银行在股份行中排第三;流动性排名股份行第一;稳健与杠杆情况位居股份行第二。

英国《银行家》 2022年全球银行1000强榜单前10家中资银行不同指标表现情况

较好的排名,与该行各项数据的良好表现密不可分。从业绩增速来看,2021年中信银行净利润同比增速保持双位数增长,同比增13.6%,增速创近八年新高;营业收入突破两千亿元大关,达到2045.6亿元。

与此同时,中信银行2021年的ROE、ROA分别达到10.73%和0.72%,同比上升0.62和0.03个百分点,自2014年以来首次实现同比双升;每股收益1.08元,创上市以来新高,增长14.9%,也是八年来增长最快的一年。

对此,中银证券分析报告指出,中信银行2021年业绩好于预期,年报盈利能力和资本水平同比提升。

在强劲的业绩背后,中间业务最为迅猛。轻金融统计发现,2021年中信银行手续费及佣金净收入同比增速达24.39%,在股份行中增速最高,充分反应了该行财富管理业务转型成效显著。

在资产质量方面,中信银行不良贷款双降,不良贷款率创下2014年以来的最优水平。中信银行提高了房地产贷款的拨备,整体拨贷比超6%,较对公贷款拨贷比高一倍。浙商证券分析报告预计,中信银行的资产质量指标有望继续优化。

从战略布局与具体业务条线表现看,中信银行开启了新三年战略,推出了“342强核行动”,零售金融和财富管理有望加速发展,对公贷款和存款均居于股份行第二,金融市场业务开启新打法,综合金融实力提升明显。

财富管理迎来大发展

近两年来,大型金融机构一致的动作,是提升财富管理的战略地位。一方面,财富客群需求的变化,对资产配置能力和服务体系形成了新的考验;另一方面,这也对财富管理机构的专业性提出了更高要求。

近年来,中信银行零售战略稳步推进,零售业务收入和利润贡献逐步提升,为未来零售业务发展打下了坚实的基础。

截至2021年末,该行零售业务资产占比达26.6%,较2016年提升9.1%;营收占比达到40.4%,提升12.6%;利润占比为34.7%,提升9%;按揭贷款、消费贷、经营贷、信用卡贷款占比较为均衡;从零售贡献来看,2021年中信银行实现大财富管理收入149.6亿元,同比增长56.2%,零售战略初见成效。

“中信银行下一步怎么做”?去年10月,中信银行推出了“342强核行动”,其中“3”是构建财富管理、资产管理、综合融资“三大核心能力”,零售战略地位空前。

具体来看,中信银行的新零售主要举措包括三大方面,一是组织架构优化,2021年11月中信银行将原零售银行部、数字金融部的部分团队和职能并入新设的财富管理部,提升客户服务能力;二是客户经营深化,贵宾及富裕客户新增超10万,私行客户数同比增18%;三是板块联动打通,2021年零售产品交叉销售规模同比增长95%至876亿元。

随着中信银行提出以财富管理为核心牵引打造“新零售”,将资源向零售业务倾斜,目标在两到三年内实现零售业务收入占比超50%(2021年中信银行零售银行业务营收占比为40%),将有力支撑营收增长。

中信银行的财富管理布局,正在进入厚积薄发的阶段。

近日,中信银行表示,中信银行零售业务经过战略重塑和体系重建,构建和完善了产品体系与服务体系,进入了产能集中释放期,具备了向上“撑杆跳”的良好基础。此外,中信银行联合中信集团旗下金融子公司,打出了“中信幸福财富”品牌,更加关注客户在全生命周期的财富管理需求,致力于为客户创造更大价值。

从这一战略的实施成效来看,有力地促进了全行收入结构优化和价值创造能力提升。

重塑对公业务竞争力

在利率市场化、监管趋严等背景下,银行对公业务面临挑战,对公业务获利空间不断被挤压。银行对公业务路在何方?

近两年来,政策引导银行支持实体经济、服务产业升级,也为银行业带来大量对公业务机会。这就需要银行业打造特色化的经营策略,为对公客户提供更丰富的综合金融服务。

作为一家以对公业务起家、对公业务见长的银行,在中信银行看来,重塑对公业务市场领先竞争力至关重要。目前,中信银行传统对公优势仍在,对公贷款和存款均居于股份行第二,特别是对公存款仍对业务形成了较好支撑。

新形势下,中信银行对公业务进行了一系列大刀阔斧的改革。

首先,顶层设计是抓好对公业务改革的重点。在组织推动上,中信银行将在总分行两个层面加大公司银行部作为公司金融板块的牵头作用,改变传统的对公板块各业务条线对分行各业务条线的单一垂直管理现状,更好发挥板块各部门经营合力。

其次是构建公司金融生态圈。中信银行正在以中信集团的集团协同为核心,大力构建公司金融生态圈,积极拥抱大资管大财富,提升对客户的综合服务能力。

此外,是全力打造产品服务竞争力。中信银行正在迭代升级投资银行九大类资本市场产品、全面推出外汇及跨境业务服务品牌、全面构建交易银行业务生态、创新方便快捷的普惠供应链产品等,并在对公财富管理、汽车金融、政府金融等重点优势领域持续发力。

从投放区域来看,中信银行通过资产业务转型、摆脱对房地产业务等传统业务依赖,走出了一条新路。

从投放领域上看,中信银行将继续加大对绿色信贷、乡村振兴、先进制造、普惠金融和战略新兴等领域的信贷支持。去年中信银行的绿色信贷增幅141%、战略性新兴产业贷款增幅70%。截至2022年5月末,该行在绿色信贷、普惠金融、战略新兴领域对公贷款较年初增速分别超过一般对公贷款增速29.47个百分点、8个百分点、10.36个百分点。

与此同时,中信银行还积极对接国家战略,不仅聚焦中部地区崛起、西部大开发、东北振兴等国家区域发展战略,更注重满足长三角、粤港澳、京津冀等区域的制造业、战略新兴等领域实体企业迫切的资金需求,

国有金融企业有着不同于其他机构的使命,持续为实体企业让利和纾困是应担之责。去年中信银行贷款平均利率比2020年下降31个BP,下降幅度多于股份制银行平均水平6个BP,直接减利138亿元。

近年来,中信银行坚持将大力发展普惠金融作为“一把手工程”,坚持社会效益和经济效益相统一,连续4年完成“两增两控”和定向降准最高档考核,在人民银行去年小微企业信贷政策导向效果评估中,排名21家全国性银行第二名。

金融市场业务新打法

在中信银行2021年年报中,有这样一句话引入关注:

“报告期内,中信银行成立数字化转型办公室。交付业务需求8,424个,同比增长72.94%。其中,交付公司、零售、金融市场、风险板块分别同比增长57.17%、4.90%、123.43%、33.06%。”

金融市场业务交付为何增幅能达到123%?这要归因于中信银行通过坚持创新驱动,全面提升科技创新驱动能力,使得该行金融市场板块交付业务需求同比增幅超过了100%,可谓2021年中信银行数字化转型与业务融合的一大亮点。

实际上,这源于中信银行一直持续深化数字科技向业务领域的赋能。2021年,中信银行面向金融市场,上线集中交易平台,业内率先实现金融市场事前风险管控,做市和交易的自动化、智能化水平全面提升。本币做市子系统覆盖20个报价策略,报价量超10万亿元,同比提升10倍以上。

在经济下行压力增大、同业竞争日益激烈等不利因素,中信银行金融市场板块紧跟国家政策导向、主动履行社会责任,通过加强市场研判、优化资负结构、强化交易能力、深化同业客户一体化经营等措施,促进经营业绩稳步提升。

其中,外汇做市交易量2.12万亿美元,较上年增长25.44%,银行间外汇做市排名保持市场前列;人民币货币市场业务总交易量24.86万亿元;同业存单发行量累计达8,738.90亿元,较上年增长18.86%。

在“百年未有之大变局”下,银行业竞争格局正在发生剧变,需要全新的战略布局。以中信银行“强核行动”为代表的变革,走在了行业创新的前列。未来,这家股份行如何围绕既定战略,持续提升经营效益、推动业绩稳步增长,从而在未来的变革中立于不败之地,值得期待。

(来源:轻金融)

加载中...