新浪财经

老字号“陈李济”也出儿童粉了,玩的是药食同源还是商标暴利?

市场资讯 2022.06.14 19:10

当南极人靠“卖商标”年入13亿的时候,让人们清晰地意识到品牌价值不可小觑。同时,大批存在“躺赚”心理的企业开始闻香而动,争相复制这种盈利路径。就在近期,笔者发现广州本土中成药老字号“陈李济”也沦陷了,把自家商标授权给了美素力做儿童粉。

陈李济儿童粉实际由广州美素力操控

公开资料显示:“陈李济”是广州白云山医药集团股份有限公司(简称“广药白云山”)旗下的中成药品牌,始创于1600年,是我国中药行业老字号之一。品牌的知名度赋予“陈李济”商标极高的市场价值,也使其可以通过品牌商标授权获益匪浅。

就在近期,部分母婴门店货架上出现「陈李济儿童成长奶粉」,并主打“中华百年老字号”、“400多年古方养生传承”、“药食同源配方”、“成长奶粉药膳新配方”等卖点。乍一看,让人还以为陈李济跨界发展业务了。

但是经过了解发现,真正在背后操盘「陈李济儿童成长奶粉」运营企业是“广州市美素力营养品有限公司”(简称“广州美素力”)。根本不是广药白云山,甚至不是其子公司“广州市陈李济大健康产业有限公司”(简称“陈李济大健康”)。

目前,在电商渠道,陈李济儿童成长奶粉只在天猫、京东等平台的“宝素力官方旗舰店”中有售;在实体渠道,陈李济儿童成长奶粉更是被母婴店主晒出和“可可麦田加护畅”一起招商和培训。

据了解,“宝素力”和“可可麦田加护畅”都是广州美素力旗下品牌产品。此外,该公司还有喜素力、康素力两大婴幼儿配方奶粉品牌,以及可可麦田调制乳粉系列,包括加护高、加护瞳等。

反观,真正手握“陈李济”商标的广药白云山、陈李济大健康,对这款儿童粉可以用“不闻不问”来形容,不仅没有相应的购买渠道,而且连宣传都几乎看不见。

对于该产品有了解的业内人士告诉笔者:“这款儿童粉所有流程,包括配方研发、市场销售等,陈李济基本不参与,都是广州美素力在做,因为陈李济是把商标授权给了美素力工厂。”

值得一提的是,市面上除了「陈李济儿童成长奶粉」外,在售的还有另一款,名为「陈李济益生菌乳铁蛋白儿童成长奶粉」。经过了解发现,这款产品虽然没在宝素力官方旗舰店销售,但却与广州美素力有着千丝万缕的关系。

根据「陈李济益生菌乳铁蛋白儿童成长奶粉」的产品信息来看,其生产商为广东金海康医学营养品股份有限公司(简称“广东金海康”)。广东金海康的实际控制人为吴卓彪,而此人同时也掌握着广州美素力的话语权。也就是说,打着“陈李济”商标的这两款儿童奶粉,其实是“一母同胞”的亲兄弟。

“卖商标”挣快钱,加速品牌价值蒸发

“品牌商标”作为企业重要的无形资产,其凝聚着拥有者长期以来的心血投入。这也使得“陈李济”在消费者选择产品时,具有一定的品牌虹吸效应,而广州美素力或许就是看上了“背靠大树好乘凉”这一点。

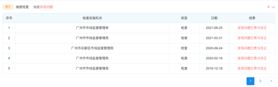
可问题在于,陈李济靠“商标授权”挣快钱,这种玩法真的可行吗?要知道,有句话叫做“快钱好赚,口碑难得”。而2018-2021年这四年间,广州美素力在抽查检查中,被广州市场监管局发现8次问题并被责令改正。

而在更早的2017年,广州美素力还因在“宝素力乳铁蛋白葡萄糖”外包装和配料表中都标注含有“乳铁蛋白”,但实际并未添加乳铁蛋白,被购买者以此诉诸法庭。虽然广州美素力只是以“标签不符合规定,不属于欺诈行为”来为自己辩解,并得到了法院的认可,但这件事情也大大降低了消费者对它的信任度。

事实上,因为“卖商标”年入13亿的南极人,早已尝到了它的苦果。据了解,2020年7月,南极人的市值最高达到了580多亿元,然而截止6月2日,南极人的市值仅有133亿元。不到两年的时间,就蒸发了约447亿元。

此前,江苏省社会科学院研究员丁宏曾点评过这种现象:“品牌不是虚无的概念,任何成功的品牌,其背后都有着实体经济、产品、技术、质量、标准等要素的长期稳定支撑。脱离了这些,只是利用无管控授权榨取超额利润的“品牌”没有长久的生命力,其商业模式不可持续。”

而陈李济只是众多“买商标”企业的冰山一角,如同仁堂、修正、华北制药、39制药、哈药等也存在此行为。

所有命运馈赠的礼物,其实都早已在暗中标好了价格。源源不断地市场负面反馈,都在持续消耗着商标拥有者原先辛苦建立起来的品牌价值,进而将其推入深渊。

市场乱价

除此之外,陈李济儿童成长奶粉还以低价扰乱市场。有知情人士表示:“这款奶粉给门店供货只要60元,并且支持一件代发,前期经销商合作的门店授信20箱不用结款,3个月以后再结。门店的售价也很乱,有些是98元、有些是198元,还有些是328元买一送一。”

要知道,乱价不仅会让母婴门店陷入价格战,导致自身利润受损,而且也会使品牌商口碑基业崩盘。由于低价带来的用户根本不是粘性用户,大部分是爱占小便宜的消费者,所以不能从根本解决门店的经营之痛,保持可持续的良性盈利。

从产品本身来看,其借用“陈李济”在中医药行业的声势,大打“药食同源”为卖点,并在里面添加了陈皮粉、山楂粉、鸡内金浓缩粉、山药浓缩粉、薏苡仁浓缩粉。

然而,山东省泰安市中医医院中医预防保健科主任、副主任医师王庆军曾在媒体采访时表示:“没有一种药食同源的物品是可以长期久服的,因为人的体质或者是身体状态是处在一种不断变化当中的,每一种物品都具有偏性,一旦长期久服都会对身体产生‘矫枉过正’地影响。因此,服用任何药食同源的物品都应在专业医师的指导下进行。”

另外,由于药食同源产品可以横跨食品、药品、保健品、特殊配方食品等多个领域,市场监管不严加之行业自律性较差的双重因素影响下,产品虚假宣传始终无法杜绝,甚至是愈演愈烈。

就在2020年,某母婴店就被当地市场监督管理部门处以3000元的罚款。原因在于,在检查中执法人员发现,其超市内墙体上张贴着的“快童”牌科普手册,含有“药食同源、调理脾胃、促进吸收、清热解毒、降火消炎、化痰止咳、利咽润肺、小儿腹泻、补脾养胃”等宣传内容。然而,经查证,该超市宣传的“快童牌”系列产品只是一款普通食品,没有治疗保健功能,涉嫌发布违法广告。

综上,与卖商标能获得多少利益相比,如何提高渠道、消费者体验才是陈李济当务之急。

加载中...