新浪财经

富二代秦奋和父亲炒股被罚60万,背后神秘人涉及地产、文旅,还欠上市公司2.19亿

市场资讯 2022.05.30 21:17

来源 | 野马财经

给刘耕宏刷礼物、一晚打赏25万元,“乘风破浪的姐姐”阿娇陪同打球,千万豪车被撞也十分淡定的“沪上皇”秦奋,因内幕交易被证监会处罚了。

据证监会官网显示,秦奋和其父亲秦嗣新因内幕交易行为遭到行政处罚,经查明,秦奋花5017.89万元买入鑫茂科技股份,最终无获利。其行为是“非法获取内幕信息的人,在涉及证券的发行、交易或者其他对证券的价格有重大影响的信息公开前,买卖该证券”的违法行为。最终对两人合计处以60万元的罚款。

时不时就登上娱乐头条的秦奋,其背后家族一直鲜为人知,各种猜测不断却从未被证实。这也是其父亲首次出现在公众视线。

花费5000余万未获利

据证监会信息显示,秦奋父亲为秦嗣新,出生于1961年11月,是中国香港特别行政区居民,现居住在香港跑马地。秦奋则居住在上海市长宁区。

秦奋父子被处罚的事情还要追溯到2017年,秦奋父亲秦嗣新与鑫茂科技(000836.SZ,现更名为富通信息)前任实控人徐洪为20多年好友,彼时的徐洪正意欲收购微创网络,认为鑫茂科技和微创网络的重组可以助力上市公司的发展。

2017年2月,徐洪为借钱和秦嗣新见面,秦嗣新知道徐某是鑫茂科技的实际控制人,向徐某询问鑫茂科技的运作情况,徐洪介绍后,秦嗣新向徐洪提供了大额借款。

随后2017年5月24日,鑫茂科技发布停牌公告称,“控股股东正在筹划与公司相关重大事项”。直至11月24日,发布复牌公告,称“重大资产重组标的为微创网络,公司以自有或自筹资金收购标的公司10%股权,同时通过发行股份收购标的公司90%股权,并募集配套资金2.3亿元。”

秦奋于2017年3月1日-7日买入鑫茂科技678.15万股,买入金额5017.89万元。

秦奋表示,其交易股票的资金都来自父亲秦嗣新。2017年3月1日,秦嗣新安排从他人账户转入秦奋账户8000万元。同日,秦奋向自己的证券账户转入5000万元买入鑫茂科技。“‘秦奋’证券账户交易‘鑫茂科技’存在买入时间集中、成交金额显著放大、首次买入即大额买入等特点。”证监会表示。

除了鑫茂科技,秦奋的证券账户还曾买入三夫户外(002780.SZ)2万股,买入金额133万元。

但从结果来看,秦奋正巧买在了鑫茂科技的高点,自2017年3月鑫茂科技最高达到8.62元/股后,便一路下跌,截至2022年5月30日,报收2.71元/股,总市值32.75亿元。而此次交易秦奋也未获利。

秦奋对于该次交易称,对资本市场没有兴趣,不知道基本市场概念,随意看行情软件看到了“鑫茂科技”这只股票,没有做过研究,像买彩票一样买了,凭感觉决策。

秦奋还表示,其证券账户由助理使用笔记本电脑下单,电脑在天津打篮球比赛时丢失。

“综上,秦嗣新在内幕信息公开前同内幕信息知情人徐某见面,同期转入大额资金至儿子秦奋三方存管银行账户,秦奋同日将大额资金转入‘秦奋’证券账户并大量买入‘鑫茂科技’。秦奋关于其买入‘鑫茂科技’理由的解释,不足以合理说明其交易的异常。对秦嗣新、秦奋合计处以60万元的罚款。”证监会表示。

徐洪曾两年赚6亿,现欠2.19亿

让秦奋、秦嗣新心甘情愿掏了5000多万炒股还被处罚的人是一位十分神秘的沪商,名叫徐洪。

其在2015年拿到鑫茂科技的控股权,2015年12月3日,鑫茂科技发布公告称,控股股东鑫茂集团基于自身经营及转型发展需要,另为协助上市公司剥离不良资产解决资金问题,拟转让其持有公司的4466万股(占上市公司总股本的11.0869%)给西藏金杖。转让价格为12元/股,转让价款总计约5.36亿元。

徐洪通过上海金杖间接控制西藏金杖54%股权,为西藏金杖实际控制人。转让完成后,公司实控人变更为徐洪。

但没过多久,2018年,西藏金杖与富通科技签订协议,拟将所持公司11.09%股份全部转让给富通科技。转让价格经协商确定为8.5元/股,交易对价合计为11.39 亿元。

徐洪两年时间净赚6亿元。

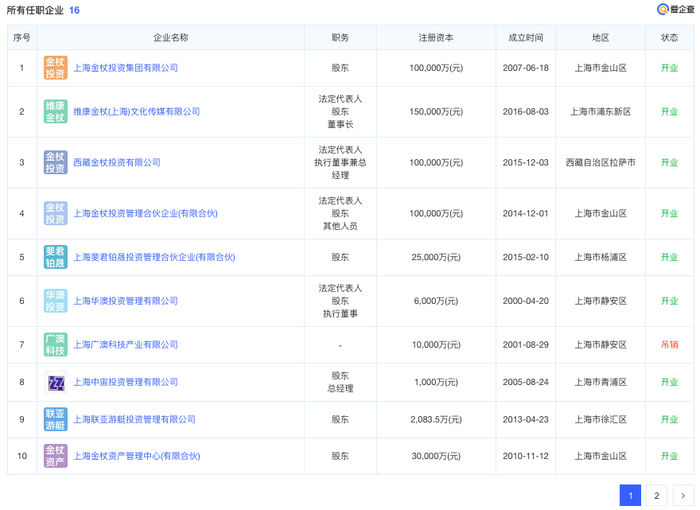
爱企查显示,徐洪共拥有16家企业,在5家公司担任法定代表人。还在一家游艇公司持有12.5%股份,为第二大股东。

其中徐洪担任法定代表人的维康金杖(上海)文化传媒有限公司还获得了房地产公司三湘印象(000863.SZ)的投资,其于2018年入股维康金杖,投资金额3亿元,持股比例为16%。

能够获得上市公司的青睐不无原因,维康金杖在2017年8月取得美国维亚康姆在中国江浙沪区域内以文创产业为核心国际旅游度假区和相关产业唯一授权。维亚康姆集团拥有知名品牌尼克,尼克儿童频道拥有包括海绵宝宝、忍者神龟、朵拉、汪汪队立大功等原创动画文娱和CG内容IP。

2018年维康金杖在南京江北新区招商大会上签订了意向协议,建设文旅项目尼克动漫玩创综合体,签约金额75亿元。计划将用三年左右时间建设一处集主题乐园、动漫剧场、儿童博物馆等为一体的儿童游乐场所,再现海绵宝宝、汪汪队立大功等国际知名动漫IP。

上海维康金杖文化传媒有限公司副总裁王继春曾表示,“整个项目建设,耗时大约三年左右应该能够落成运营。此外未来还有绿洲室内主题公园、Xrace赛车文化项目等大型娱乐设施。”

三湘印象公告显示,维康金杖还有杭州室内主题乐园项目、苏州周庄项目和江阴尼克度假酒店项目正在运作。

2020年4月11日,南京市浦口区政府等相关部门举行浦口区城南中心土地宣传推介会。维康金杖还与富力集团、世茂集团等40多家企业同台,共商浦口区城南中心发展大计。

此外三湘印象在2022年3月31日发布诉讼公告表示,公司持有的参股公司维康金杖16%股权全部由徐洪回购,交易对价为3亿元,截止公告披露日,尚有2.19亿元未收到。因此起诉上海金杖投资管理合伙企业(有限合伙)、徐洪,上述诉讼已于2022年3月28日获上海市杨浦区人民法院立案受理。

秦奋身世揭开

秦奋有“沪上皇”之称。已经被微博禁言的王思聪曾有名言:“我交朋友并不在乎有没有钱,反正都没我有钱”,秦奋随后留言:“那我呢?”

人们知道秦奋很有钱。他做事高调,2015年撞烂一辆法拉利拉跑车,在一旁冷静看手机的照片流传许久,而在车库里还有数十辆跑车;和各种女星网红传出绯闻,分手费给得大方;成立电竞俱乐部,也是富二代常玩的游戏。

秦奋还曾在微博上发起抽奖,赠送一辆奔驰引发关注,该条微博转发数达到353万,评论数达到355万,转发数达到275万。至今秦奋的微博粉丝数已达到1072万,除了富二代外,又加了一个千万网红的标签

图源:微博

关于他的背景说法不一,有人说他是“红三代”,有人说他父亲是澳门大卫厅二股东,家里做博彩生意。以上说法目前均未被证实。但随着一纸罚单公布,让外界确认其父为秦嗣新。

据工商资料,秦奋持有上海奋荣投资管理有限公司65%股权,他也是公司法人代表。上海奋荣成员企业19家,包括上海优软汽车科技有限公司、上海奋飞体育发展有限公司等。19家公司中多家电竞产业相关公司已注销,其余公司涉及文化传播、文娱体育、汽车产业等方面。

上海奋荣旗下的奋荣体育和奋荣文化还分别组建过 KINGS 篮球俱乐部、KINGS 超跑车队和KING电子竞技俱乐部,但具体经营情况并未披露。

此外,秦奋还曾涉猎职业教育产业,据秦奋电竞学院官网介绍,该公司主体为江苏奋荣科技发展公司(以下简称“公司”),从事电竞教育培训工作,并涉足K12教育。旗下已经有两所学校,一所位于南京秦奋金肯电竞学院,一所为福州金桥学校。2019年9月,福州金桥学校收费一亿余元,利润3500余万元。

该公司虽然在股权上和秦奋并无关联,但其法人代表王毅在多家上海奋荣参股公司任职。在秦奋电竞学院官网也有如下表述:上海奋荣投资管理有限公司成立于2012年,目前已经在上海、南京、长沙、西安等地投资多个项目,投资规模从几百万到几亿元不等。

对于秦嗣新、秦奋父子的炒股行为你怎么看?欢迎下方留言讨论。

加载中...