新浪财经

房企的“影子银行”

虎嗅APP

关注

房企的“影子银行”

本文来自微信公众号:进深News (ID:leju-sydcsxh),作者:吕秀伦,题图来源:视觉中国

“靠谱,自家兄弟。”胡葆森话中兄弟,指的是豫发集团掌舵者王建树。

2020年夏天,正值豫发20周年生日,胡葆森在一活动上曾说:

“冯仑来河南参加活动,东道主是豫发,他问我豫发和掌门人王建树靠谱不靠谱?”

老胡回了六个字:

“靠谱,自家兄弟。”

眼下,两家河南房企兄弟,境遇相同,不仅受地产整体下行环境牵连,还遭遇疫情、百年一遇的水灾。前脚,“河南王”建业在年初选择精简组织架构;后脚,豫发开始收缩战线。

在河南本地,创立了“锦荣系”服装产业链的豫发,家喻户晓,它曾一手打造出了锦荣商贸城、锦荣轻纺城、锦荣(百荣)新商城等项目。其背后老板王建树,被誉为河南服装产业的引路人。

然而眼下,豫发收缩战线的首站,就是其引以为傲的锦荣新商城。

乐居财经独家获悉,豫发集团于近段时间彻底从河南锦荣新商城实业有限公司中退出,将部分股权拱手转让予郑州国资委。

不仅如此,今年以来,豫发还撤出了一家酒店管理公司。

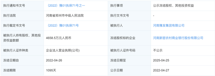
另一边,4月底,豫发集团和王建树持有河南新密农村商业银行价值共计4924.7万元的股权数额,被法院同时冻结。

在地产圈,不止河南豫发,多家开发商乐衷于持有银行股,例如荣盛持股辽宁振兴银行,恒大持有盛京银行,阳光控股持有兴业银行,格力地产持有华兴银行,泛海控股持有民生银行,三利地产持有西藏银行等等。

在地产如日中天之时,房企通过对银行进行参股,不仅能为自身在银行贷款融资方面赢得便利;另外,还可以通过银行的理财产品,借助信托、资管计划等进行融资,从而规避监管风险。

然而,在市场低迷、行业进入下行周期的当下,一旦房地产企业出现了财务不良状况,银行也有可能被牵连或者摆上“货架”。

一、收缩战线

此次豫发退出的河南锦荣新商城实业,旗下拥有锦荣新商城项目,位于百荣世贸商城C座,它于2016年11月正式竣工,总建筑面积近35万平方米,总投资额近20亿元,是中部最大的生活用品集散地。

原本,锦荣新商城由豫发集团、郑州新商城商业运营管理、彭根正、郑州锦荣轻纺城4位股东持股,分别持股50%、30%、19%、1%。今年3月,它的股东行列频频生变。

先是3月18日,新增郑州智荣物业(持股18.24%),豫发集团股权由此稀释至31.76%。但仍为锦荣新商城大股东。

短短一周后,豫发集团、郑州锦荣轻纺城、彭根正便集体退出了股东行列,新增河南科荣建筑劳务有限公司。

目前,锦荣新商城由科荣建筑劳务、郑州新商城商业运营、郑州智荣物业各持股51.76%、30%、18.24%。

股权穿透后,大股东河南科荣建筑劳务由李雷、王先进各持股50%;郑州智荣物业母公司为郑州新商城商业运营,二者背后为郑州国资委。至此,锦荣新商城和豫发再无关联。

在豫发撤出对外投资方面,锦荣新商城并不是个案。

3月15日,豫发将持有河南喜鹊愉家旅馆管理服务有限公司的50.9994%股权转让予郑州密韵创意服饰,剩余49.0006%仍由郑州美乐酒店管理持有(背后由张红武、王挺持有)

河南喜鹊愉家是河南本土原创酒店品牌,成立于2010年,注册资本1.4959亿元,目前对外投资达6家企业,包括郑州喜我客空间科技、河南鹊美酒店管理咨询、郑州喜之林旅馆、郑州喜阳阳旅馆、郑州中和酒店管理、河南华亿酒店管理。

此次接盘者郑州密韵,是一家于2021年5月才注册成立的新公司,背后由王小欣和李子琼各持股60%和40%。目前,郑州密韵旗下除了拥有河南喜鹊愉家,还对外投资了河南万宁商贸。

按照豫发集团官方说词,其是一家涵盖产业地产、住宅地产、商业地产、文旅地产、金融投资五大主营业务,横跨开发、运营和物业管理服务等领域的综合性企业集团。为何他要从商业、酒店板块,抽身而出?

更早之前的去年11月,豫发集团和王建勋同时退出兰考锦荣建设投资的股东行列,转而杨森、丁超群接盘,各持股90%、10%。同时,兰考锦荣实业的股权变更也如出一辙。

乐居财经获悉,早在2020年4月,丁超群就担任兰考锦荣建设投资监事一职。此次股权交易或是通过丁超群这位熟人介绍引来新的投资者杨森。

二、手握三家银行

从去年下半年开始,一批批房企因为手头拮据收缩战线、变卖家当,王建树也是如此吗?

据乐居财经统计,豫发集团作为出质人有着12笔股权出质融资,其中2022年就高达7笔。

单在2月17日,豫发5次将郑州农村商业银行股权出质予河南新密农村商业银行,出质股权数额超7319万股,此前一天,它还两次将河南新密农村商业银行股权出质予郑州农村商业银行二七支行,合计出质股权数额达4658.5万股。

乐居财经查询获悉,豫发持有河南新密农村商业银行、郑州农村商业银行分别7.5285%、1.109%股份。除此之外,它还持有郑州市市区农村信用合作联社2.185%股份。

由此看来,如此巨额的股权出质,豫发玩起了“左手倒右手”的游戏。它所参投的银行,不仅为其增加了隐秘的“输血”渠道,还能通过股权出质方式,在获取融资上行“方便”。

但眼下王建树的这棵银行摇钱树,也被法院执行“冻结”。

4月的最后一天,豫发持有河南新密农村商业银行价值4658.5万元的股权数额被法院冻结,冻结期限从2022年4月26日到2025年4月25日。

同日,王建树持有该家银行价值266.2万元的股权数额也被法院冻结。

除了与银行有剪不断的联系之外,豫发与平安信托关系匪浅。2019年6月、11月,豫发集团将3家不同标的公司5次股权出质予平安信托,合计股权数额价值达1.6亿元。

成立于2000年7月的豫发集团,注册资本2亿元,目前由王建树、王建勋兄弟二人各持股75%、25%。近三年来,其股东阵营变化频繁,不断有股东出逃。

此前,豫发集团由王建树、中财合一投资、上海合一供应链(中信国安投资旗下企业)、王建举4位股东,各持股45%、24%、25%、6%;2019年7月,王建树持股比例增至51%,上海合一供应链、王建举退出股东行列,新增敬格投资管理(杭州)有限公司持股24%。

2020年7月,中财合一投资悉数撤出对豫发集团的股权投资,王建树、敬格投资各持股75%、25%。不足五个月后,豫发集团股东再度生变,敬格投资悉数退出,王建勋接盘。

至此,豫发集团变为现有仅王氏兄弟二人的持股结构。

目前,王建树除了豫发,还对外投资了河南新密农村商业银行(持股0.4302%);其弟王建勋旗下则有5家对外投资企业(1家已注销),包括房地产业、物流、零售等。例如,郑州顺隆置业(95%)、商丘锦荣实业(20%)、河南锦荣物流(40%)

三、弃铁饭碗“下海”

遭遇战线收缩、股东“出逃”的豫发已是黯然失色,终究埋在时代的浪潮中。机构数据显示,在2021年、2022第一度河南本土销售top 20榜单中,豫发均未上榜。

当下,这家河南老牌房企并不不平静,其涉司法案件达128起。与此同时,豫发还被法院7次列为被执行人,被执行总金额达6405.15万元,其中,进入年内已6次被列为被执行人。

除此之外,去年3月,豫发集团还因项目未验先用、未审先建被政府相关部门予以行政处罚。

一方面,去年年初,一则裁判文书显示,因建设工程施工合同纠纷,河南省第一建设集团第七建筑工程有限公司向豫发提起了诉讼。最终,法院判决冻结豫发银行存款4523.13万元或查封其等值财产。

因建设工程施工合同引发的纠纷并非个案。

例如,河南神火建筑安装工程有限公司将豫发诉至法院,最终冻结豫发银行存款154.13万元。往往当供应商或者施工方在工程款收不回来时,选择将服务的甲方上诉至法庭,豫发集团的状况是否如此。

比起当前的“没落”,王建树和他的豫发也曾风光无限。

1993年,王建树从大学毕业后便留校任教。几年后,调入河南省委办公厅工作。那时正值改革春风吹遍大地,王建树丢下铁饭碗工作下海经商。

千禧之年,他组建了河南豫发集团,王建树的地产王国由此拉开序幕。2000年~2002年,他带领豫发投资开发的“翠园·锦荣世家”,是公司进入房地产开发领域的第一个精品住宅项目。

与此同时,王建树极具战略眼光,比如“押宝”锦荣商贸城、港区拿地等,为企业发展带来良机。

2002年,王建树力排众议投资开发“锦荣商贸城”服装批发市场。该商贸城坐落于郑州市火车站服装批发商圈黄金地段。有资料显示,该商城早些年年交易额便100多亿元。

根据媒体信息,2004年,彼时的豫发集团旗下锦荣商贸城遭遇转租危机。78%的商铺至少被转租一次以上,租金最高的翻了将近三倍,市场进入病态的危险期。

弟弟王建勋临危受命,针对二房东展开解约收铺行动,迎来的却是二房东大规模的抗议行为。王建勋刚柔并济,出手凌厉,最终,转租率降至10%,这场震动业内的整治劫难得以平息。

事后回忆,王建勋感慨:

“无数夜晚反复难眠,常在梦里突然惊醒,梦到紧紧抓住一根稻草,脚下便是悬崖,稍微松懈就会坠入万丈深渊,粉身碎骨。”

除了锦荣商贸城,豫发还进驻港区成为“吃螃蟹第一人”。

那时港区籍籍无名,许多房企都拒绝涉足,但王建树顶住了来自外界甚至公司内部的压力,大力拓展港区业务。

实际上,2009年的航空港区,规划138平方公里,建成区仅有20多平方公里。

用个形象的词来说,这里还很“荒凉”。2010年初,豫发集团便拿下1700亩土地;如今,豫发已经成为航空港区大发展的受益者之一。

22年过去,那个“押宝”成功的王建树已然风光不再,豫发集团也无当年驰骋地产疆场的豪气。

当下,这家房企最要紧的是考虑如何在地产下行期中“活下去”。

本文来自微信公众号:进深News (ID:leju-sydcsxh),作者:吕秀伦

加载中...