新浪财经

百亿房企破产未遂

市场资讯 2022.04.25 13:00

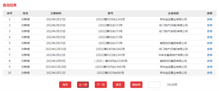
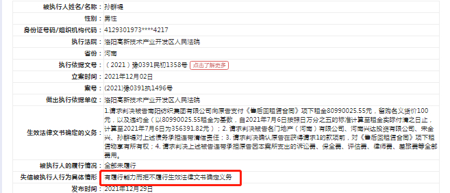
2021年12月29日,名门地产(河南)董事长孙群堤收到了来自洛阳高新技术产业开发区人民法院的判决,他被法院列为失信被执行人,且属于“有履行能力而据不履行生效法律文书确定义务”。

这是2021年一年内,孙群堤第8次被列入失信被执行人名单。

除此之外,在2020年至今不到3年时间里,孙群堤被全国各地法院限制高消费共计194次。

这意味着,孙群堤以及旗下以名门地产为主的企业行为都将受到限制。

申请破产未遂

2022 年 2 月 23 日,广州普邦园林股份有限公司以被申请人名门地产(河南)有限公司不能清偿到期债务且资产不足以清偿全部债务,明显缺乏清偿能力为由,向郑州航空港经济综合试验区人民法院提出申请对该公司进行破产清算。

广州普邦园林是全国园林行业龙头企业之一。

2014年,普邦园林为名门地产开发位于郑州航空港区的名门骏景小区的景观工程。

2020年,普邦园林起诉名门地产至郑州市航空港区人民法院,请求其支付1108553元工程款及利息。

2020年11月25日,法院判决支持普邦园林的诉讼请求。

2021年1月25日,普邦园林申请执行以上判决,8月10日该案件终止执行。

于是才有了2022年普邦园林请求对名门地产破产清算一事。在郑州市中级人民法院审理过程中,普邦园林请求撤回对名门地产(河南)有限公司的破产清算申请。

为什么会撤回申请?

截至目前,双方均未公开对此事发表公开声明。法律规定,法院在破产受理前,可以撤回破产申请。撤回申请的原因很多:

1)普邦园林不能提供名门地产不能清偿到期债务的证据而不得已撤诉;

2)名门地产提交自身有能力偿还债务的证据,资产大于负债不符合破产条件,故普邦园林认为破产胜算不大主动撤诉;

3)也可能是名门地产偿还了普邦园林的债务。

从目前的信息来看,名门地产还没有进入破产重整阶段。之前仅是被申请破产清算,而且申请人也已经撤回申请。实际上,破产重整的申请需要通过审查后才能让被申请企业进入破产重整程序,当破产重整失败后,才会进入破产清算阶段。

即便没有进入破产阶段,名门地产的情况也如履薄冰。

左手城改,右手信托

1992年,兴达地产在河南南阳成立。孙占中在南阳卧龙岗,为兴达制定了争夺天下的路线图。他们的计划是,1-2年称霸南阳,3-5年辐射郑州,5-10年走出河南。

而后四年,兴达房地产在南阳纵横捭阖,一年一盘,连开四盘,顺利完成了初级阶段的原始资本积累,成为南阳最知名的地产商。

2003年7月,兴达地产挥师赴郑,开始逐鹿中原。野心勃勃的兴达先后并购了河南省泰辰置业有限公司、河南嘉达置业有限公司等郑州本土房企,迅速在省会站稳脚跟。

2006年,泰辰置业正式更名为名门地产。

2008年,名门地产在郑州浦发国际金融中心等项目上赚足眼球。

2013年,经过214轮竞拍,名门地产以8.08亿元摘得洛阳九都路附近101.24亩土地,刷新洛阳当年单价“地王”纪录。

2014年,经过125轮角逐,名门地产以2.97亿元拍得郑州当年首个限价房地块,并签约郑州西流湖项目,试图在城市旧改项目中发力。

名门真正意义上的突飞猛进是在2016年。2016年12月15日,名门以20亿竞位于金水核心区的超级大盘名门翠园项目土地。第二天,首次进军深圳的名门地产摘得罗湖核心区的城改项目。这是属于名门的高光时刻,二十天前,名门刚刚摘下了农业路常砦项目用地,这是后来的天镜项目。

20天里三宗城改土地,均位于一二线城市核心区。市场对名门给予了足够的期待:三千越甲可吞吴。此前,名门地产便开始涉足州城市旧改,仅2014年底郑州26个城中村改造项目中,名门地产就拿下3个,包括二七区张魏寨、孙八寨、金水区押砦。

周期长,耗资多是旧改项目的一致特点,名门也不例外。资金链紧张似乎一直伴随着这家地方房企。早在开发郑州金水路的名门浦发广场时,名门就开始用起了信托。

2008年中下旬,在次贷危机席卷全球的时候,名门开启了“地产+担保”模式的先河,名门以房产回购的形式向担保公司借款。名门将位于金水路的名门盛世以市场价一半的价格3000元/平卖给润唐担保,融资6000万元,月息超3.5%,融资款用于著名的名门浦发广场项目。之后网签备案,并签订回购协议,约定半年后原价回购。

2010年,名门地产与a信托合作,后者发行规模1.54亿元名门驻马店风光城市广场股权投资集合信托计划,募集资金用于受让名门地产(驻马店)有限公司股权,向项目公司增资并取得97%股权。

2012年9月,兴达投资与b信托签订《股权收益权转让及回购协议》,约定兴达房地产股权收益权转让给b信托,b信托支付转让价款3.02亿元。兴达投资向b信托支付相应股权收益,兴达投资则按协议约定向b信托公司回购此股权收益权,并支付回购款3.02亿元。

同时,兴达房地产还与b信托签订《房屋所有权抵押合同》,将其位于南阳市卧龙区4.93万平方米的房屋所有权及土地使用权抵押给b信托。

2016年,20亿拿下的名门翠园项目,信托计划共计20亿,名门地产用5.88亿债权认购了信托计划的次级份额,剩余14.12亿是通过中小投资者的认购得来的。发债方c信托占股100%,未来随着名门地产逐渐偿还资金,c再逐步将手中持有的股份过户给名门地产。

除此之外,名门地产还曾得到H证券、d信托、e信托等的输血。名门项目中,信托公司持股超过九成以上,已成普遍现象,持股达到100%的也不在少数。

正是依靠出售股权收益权、到期申请回购的“明股实债”模式,兴达系完成了短期闭环融资,支撑了前期土地积累。

成也城改,败也城改

在河南地产圈里,提起名门,很多业内人士想到的并不是项目开发的怎么样,更多关注的是其“资金链”安全状况。为此,有业内想撮合有地的名门和有资金的开发商合作,但名门一再推迟。在合作上,名门给业内的感觉是思路固化,难得变通。

不过,从2016年开始,一直在一级土地市场持保守心态的名门地产开门合作了。

碧桂园为例。

2016年,名门地产与碧桂园开始战略合作。这在当时郑州房地产市场掀起热议。彼时碧桂园河南区域总裁杨海波表示,看重名门紫园和名门翠园的核心位置与教育资源配套优势,双方会进行全方位战略合作。

此后,双方联手拿地动作变多。2019年,名门地产和碧桂园用联合成立的郑州中贯新城置业有限公司,以起始价2.65亿元拿下郑州刘东路西、九冶路北地块;2020年1月5日,郑州中贯新城以4.28亿元拿下郑州振兴路东、芦庄路南地块,这些都是碧桂园名门时代城的建设用地。

此外,碧桂园在郑州开发的千亩大盘碧桂园凤凰城、碧桂园西湖项目,都是跟名门合作项目,碧桂园均为控股股东。本土企业有地、一线房企有资金和实力,这样的强强联合成为不少房企全国规模化扩张的模式。

但与碧桂园的合作并不愉快。

不仅因为超大项目的一级开发过于复杂,还在于与合作股东的关系妙不可言。或许认为等到的白衣骑士,但没有永远的朋友,只有永远的利益。

名门不仅先后退出中贯新城(碧桂园名门时代城)的股权,在碧桂园名门凤凰城、碧桂园西湖的声音也越来越弱。

除此之外,碧桂园在2020年就先后三次向法院申请对名门地产进行财产保全,申请冻结名门地产价值12.8亿元的财产。

在过去的3年里,名门地产(河南)董事长孙群堤被限制高消费194次;过去1年时间里,被8次被列入失信被执行人名单。

超级项目城改大盘,名门并没有吞下这头大象,反而被其握扼住了命运的喉咙。

加载中...