新浪财经

第一代职业股民创办私募,私募高管英雄不问出处,12年职业股民“炒股履历”亮眼

财联社APP

关注

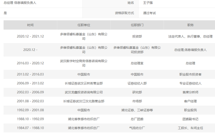
财联社(北京,记者 陈俊岭)讯,“任职单位:中国股市;任职部门:中国股市;职务:职业股市投资者!”你没有看错,这是一位新晋私募基金总经理的一段长达3年的履历表。

4月15日,多维领睿私募基金(山东)有限公司正式拿到了中基协的备案资格,担任总经理的王子强曾有两段、总计12年的“职业股民”经历,其中一段长达9年,另一段也有3年。

名如其人,如今已是私募老总的王子强的履历,也堪称“自强不息”——从最早的纺织厂段长、车间主任,再到券商营业部大户、经纪人,再到某信息咨询公司总经理,这27年可谓跌宕起伏。

从“职业股民”到私募老总

1984年夏天,王子强进入了湖北省孝感市纺织总厂,在气流纺分厂担任工段长和车间主任,四年后,他被调到总厂团委,又当了四年的团委副书记,前前后后在这家纺织总厂干了8年。

对于上世纪80年代而言,纺织厂的工作不能说是一个“铁饭碗”,但也是一个很主流、也很体面的工作。1992年,邓小平南巡讲话,股市自此开启了一波空前的大行情。

这年9月,王子强辞去了纺织厂的团委副书记,一头扎进了中国股市。在1992年至2001年这9年时间,他先后在湖南证券、三峡证券的营业部开户、交易,成为了当时第一代“中国股民”。

2001年8月,在股市摸爬滚打9年的王子强找了一份正式的“营生”,他进入长城证券武汉江汉北路营业部,在市场部担任客户经理,也就是拉人头“开户”,待遇是基本工资加佣金收入。

几个月后,习惯投资和来去自由的王子强辞去了这份工作,加入了武汉龙鑫投资咨询有限公司,在研究部担任首席分析师。四年后,他又去了长城证券武汉云林街营业部,成为一名专业的证券经纪人。

从2013年2月到2016年3月,王子强人生第二次辞去工作,全身心投入中国股市中。他并不介意将这三年的经历填在履历表里——任职单位和部门均为:中国股市;职务是:职业股市投资者。

2016年春天,王自强再次回到职场,成为武汉数字时空商务信息咨询有限公司总经理,也正是这四年多的高管经理,让他日后萌生了创业一家私募基金的念想,也就是多维领睿私募基金。

私募高管“英雄不问出处”

与王子强的曾有12年的职业股民经历相似,在创办星月泓华私募基金管理(海南)有限公司之前,总经理戴鲁宁也曾过6年的“职业投资者”经历,这段时间是2007年6月至2013年5月。

戴鲁宁第一份工作是在青岛吸尘器厂做助理工程师,这份工作只维持了大概两年时间,1993年到1997年,他先后在青岛市两家设备和工程配套公司的维修部,担任工程师。

1997年5月,前前后后当了6年工程师的戴鲁宁决定转行,成为当地一家房地产公司的销售处销售员,彼时正是国内商品房概念兴起,在这家工作的十年时间,算是赶上了时代的风口。

2007年,沉寂多年的A股市场迎来了一波波澜壮阔的大牛市,这年6月,戴鲁宁辞去工作,正式成为一位自由职业者。他给这六年的履历表填写的是,任职单位和职位均为“无”,职务为“职业投资者”。

6年后的2013年夏天,重归职场的戴鲁宁进入了共青城云岭财富投资管理合伙企业,担任投资部的基金经理,正式开启了职业投资之路,这些都为他日后创办自己的私募基金奠定了基础。

与戴鲁宁不谋而合的是,会计出身的星月泓华合规风控负责人戴鲁艳也曾有两段“自由职业”的经历,一次是2004年10月至2015年12月,一次是2012年12月至2013年5月。

从省团委书记到证监局局长,从华尔街精英到头部公募高管,更不必说昔日一呼百应的明星基金经理……在两万多家私募基金中,从来不缺履历光鲜的高管,亦有草根出身、一路逆袭的样本。

英雄不问出处。在中基协不定期公布的被注销私募机构中,也不乏履历光鲜的合伙人,而在终成私募大佬的一群人中,亦有如冯柳、林园等半路出家的“草根”。

责任编辑:石秀珍 SF183

加载中...