新浪财经

股民惊呆:最惨巨亏57%!投资大佬葛卫东突然栽了!更有高瓴、景林、王亚伟等私募大佬也套惨了...

中国基金报

关注

中国基金报记者 吴君

再融资新规以后,近年来不少私募大佬积极参与上市公司定增项目,但由于今年市场震荡下跌,一些定增股票将要解禁的,却出现不小的浮亏。

网络安全领域的安恒信息的定增股份将在4月21日解禁,葛卫东当初认购了3亿元,但最新股价却较发行价跌了57%,大佬也难免被“深套”。

光伏逆变器龙头阳光电源的定增股份也将在今年4月下旬迎来解禁,景林资产旗下两只产品认购2.4亿元,如今浮亏也达34%左右;而长川科技的限售股上市流通是在今年4月6日,如果王亚伟的千合资本旗下两只产品到现在没有卖掉,浮亏也有30%。

“云茅”用友网络今年初的定增引来高瓴、葛卫东等大佬捧场,但目前来看阶段性浮亏也有35%,但其限售股解禁时间在今年7月;三环集团在去年底的定增也吸引了高瓴、正心谷等机构抢筹,但目前浮亏31%左右,其限售股解禁时间在今年6月。我们且继续关注其股价表现。

安恒信息定增股份将解禁

私募大佬葛卫东浮亏57%

4月12日晚间安恒信息发布《向特定对象发行限售股上市流通公告》,公司在今年4月21日将有411.2万股限售股解禁,占总股本的5.24%。本次上市流通的限售股为公司向特定对象发行股票形成,涉及发行对象为5名,包括中信建投证券JP摩根、葛卫东等。

据了解,此次解禁的限售股为安恒信息半年前定增募资所发行的股份,彼时定增的发行价格为324.23元/股。

私募大佬葛卫东参与安恒信息的定增一直受到市场关注,当时他获配92.53万股,认购金额为3亿元。事实上,安恒信息定增股份上市是在去年10月20日,彼时该股一度涨至363元/股的高位,但随后却一路震荡下跌,如今6个月锁定期将要过去,截至今年4月15日收盘,安恒信息报139.36元/股,较定增发行价跌幅达到57%,当时参与定增的个人和机构浮亏也比较厉害,已然被“深套”。

公开资料显示,安恒信息一家信息安全技术服务商,公司的产品及服务涉及应用安全、大数据安全、云安全、物联网安全、工业控制安全及工业互联网安全等领域。此前安恒信息发布的2021年业绩快报显示,2021年公司实现营业总收入18.21亿元,同比增长37.68%;扣非后的归母净利润-7865.36万元,同比减少165.13%。但是公司在四季度收入增长提速,四季度归母净利润2.82亿元,同比增加68%。

同时,公司在今年2月发布了股权激励计划,本次拟授予激励对象306.15万股限制性股票,占公司股本总额的3.90%;本次首次授予的激励对象共313人,较2020年、2021年限制性股票激励计划的激励范围进一步扩大,涵盖3名核心技术人员以及董事会认为需要激励的其他人员。

葛卫东很早就看上了安恒信息这只股票,2020年三季报披露,他首次出现在安恒信息的前十大流动股东名单上,持有86.09万股,彼时的持有市值为2.46亿元;到了2020年四季度他大幅加仓,持股增至183.12万股,期末持股市值为4.76亿元。

值得注意的是,葛卫东在去年三季度减持了安恒信息25.45万股,持股数量降至158.1万股,期末市值为5.58亿元,这阶段安恒信息股价震荡幅度较大。当然安恒信息从去年四季度以来跌幅非常大,目前其尚未披露年报,不知道葛卫东有没有进一步减持动作。

景林等知名机构参与阳光电源定增

6个月将解禁、浮亏近34%

阳光电源在去年10月22日上市的定增股份,也即将在今年4月22日迎来限售股解禁。彼时阳光电源定增的发行价格是128元/股,发行股份数量为2841.86万股,募集资金总额为36.38亿元。涉及18名认购对象,包括千亿私募景林资产旗下的景林景泰丰收、景林丰收3号两只产品,合计配售187.5万股,认购金额为2.4亿元;还有JP摩根、云南能投、UBS、润晖投资、财通基金、诺德基金等知名机构也参与其中。

公开资料显示,阳光电源是一家专注于太阳能、风能等可再生能源电源产品研发、生产、销售和服务的国家重点高新技术企业。公司是中国目前较大的光伏逆变器制造商、国内领先的风能变流器企业,拥有完全自主知识产权。

但是阳光电源近半年来的股价走势也不太好,该股曾经在去年10月涨至阶段高点178.98元/股,但是此后跌幅也非常大,到今年2月一度跌至95元以下,2月下旬到3月上旬有一波上涨,然而最近下跌得又很厉害,截至4月15日收盘,阳光电源报84.53元/股,较当时的定增发行价跌了34%左右。可见参与定增的机构浮亏也很大。

长川科技定增股已经解禁

王亚伟千合资本两产品参与有浮亏

3月30日晚间,长川科技发布《关于向特定对象发行股票解除限售上市流通的提示性公告》,此次解除限售股份数量为812.68万股,占总股本的1.3448%,解除限售股份的上市流通日期为2022年4月6日。

去年9月30日,长川科技向 8 位特定对象发行812.68万股,发行价格为45.75元/股,募集资金总额3.72亿元。参与发行的机构包括王亚伟的千合资本,旗下昀锦2号私募证券投资基金、千合资本-昀锦3号私募证券投资基金两只产品,合计获配131.15万股,获配金额近6000万元。

资料显示,长川科技是一家专注于集成电路装备的研发、生产和销售的高新技术企业,为集成电路电参数性能测试提供生产平台和技术服务。

从股价表现来看,长川科技定增股份上市日期是去年9月30日,到今年4月6日股份上市流通,6个月时间内跌幅也比较大。该股在去年11月出现阶段高点63.39元/股,然后到今年4月6日报收34.41元/股;如果按最新的收盘价31.86元/股算,较定增价格跌幅为30%左右。

高瓴、葛卫东等大佬捧场

用友网络定增阶段性浮亏35%

云计算龙头用友网络的定增在今年1月引发市场关注,其发行价格为31.95元/股,发行股数1.66亿股,募集资金总额52.98亿元。

从发行对象来看,阵容可谓豪华,高瓴旗下的HHLR管理有限公司获配约10亿元,高毅邓晓峰管理的两只产品合计获配近4亿元,中国国际金融股份有限公司、易方达基金分别获配5.12亿元和2.53亿元。此外,葛卫东在本次定增中也获配近2亿元。这17名发行对象的股份锁定期均为6个月。

但是用友网络今年股价表现不佳,在1月24日见到阶段高点40.33元/股后,跌势非常强,不到3个月时间股价已经腰斩了,截至4月15日收盘,用友网络报收20.79元/股,较定增价格下跌了35%左右,参与机构阶段性浮亏不小。当然用友网络定增股份的解禁时间是在今年7月,我们且看其股价是否能够涨回来。

公开资料显示,用友网络是领先的综合型、融合化、生态式的企业服务提供商,用友UAP私有云平台是中国大型企业和公共组织应用最广泛的企业计算平台,畅捷通公有云平台在小微企业和各类企业公共应用服务中得到运用。

用友网络前不久发布了年报,数据显示,用友网络2021年实现营业收入89.32亿元,同比增长4.7%,创出近年新高;归属于上市公司股东的净利润7.08亿元,同比下降28.2%;基本每股收益0.22元。

私募大佬葛卫东继续现身用友网络前十大流通股东名单,年报显示,到2021年四季度末,混沌投资董事长葛卫东仍然持有该公司1.15亿股,但是较三季度末减持了27.17万股,其期末持股市值为41.17亿元,位列第五大流通股东。

高瓴、正心谷等参与三环集团定增

阶段性浮亏超31%

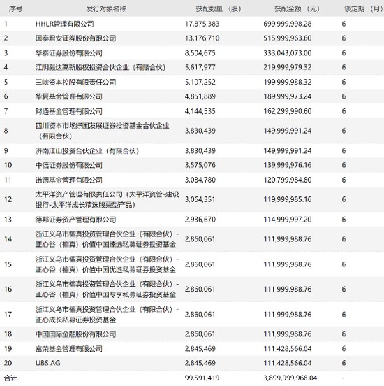
MLCC行业龙头三环集团去年底的定增也获得知名资管机构追捧,当时发布的公告显示,发行价格为39.16元/股,发行股数约为9959.14万股,募资总额约为39亿元。

最终获配的有20名发行对象,包括高瓴旗下的HHLR管理有限公司,获配1787.54万股,获配金额近7亿元;基金圈大佬林利军掌舵的正心谷旗下有4只产品获配,合计获配1144万股,获配金额为4.48亿元;此外华夏基金、财通基金、诺德基金等也都获配了。这些定增股份的锁定期是6个月。

从股价走势来看,三环集团在去年12月见到阶段性高点47.39元/股,此后一路下跌幅度非常大,截至今年4月15日,三环集团报26.99元/股,较定增价格跌了31%左右。尽管阶段性浮亏比较大,但三环集团的限售股解禁是在今年6月17日,需要关注到时候的股价表现。

公开资料显示,三环集团是我国第一家具备材料工艺设备垂直一体化的电子陶瓷企业,主要产品包括MT插芯及陶瓷导针、激光器用带线插芯、陶瓷手机后板盖、阳极支撑SOFC单电池、多层陶瓷片式电容器MLCC、陶瓷柱塞等。产品应用于光通信、电子、机械、生物等领域。

三环集团今年1月27日晚间披露2021年度业绩预告,公司预计2021年度实现归属于上市公司股东的净利润18.7亿元-22.3亿元,同比增长30%-55%。公司表示,受益于5G技术广泛普及应用、汽车电子及消费电子的需求增长,叠加被动元器件市场需求旺盛,行业景气度较好,公司主要产品电子元件及材料、半导体部件销售大幅增加,影响当期利润增加。

编辑:乔伊

 

加载中...