新浪财经

“捂盘王”的影子银行

市场资讯 2022.04.08 08:31

原标题:“捂盘王”的影子银行

文/乐居财经 吕秀伦

每个地产投资者,都听过李嘉诚的经典名言,“决定房地产价值的因素,第一是地段,第二是地段,第三还是地段。”

然而,李首富没有明说的是,在地段的基础上,时间才是财富增值的真正神器。地产商如何利用时间?在他这里的答案很简单,就是两个字——捂盘,其在内地开发的10多个楼盘,开发时间基本都超过十年。

在安徽,也有一位地产老板学到了李嘉诚的捂盘术,他就是刘士强。旗下乐福强在安徽房地产市场被封为“捂盘王”,善于拉长周期,等待时机成熟再放售,为自身带来不菲的资产增值收益。

更绝的是,年近花甲的刘世强,左手把控3家银行股权,右手还能向AMC不良资产机构借款数十亿。

在素有房价四小龙支撑的合肥,土拍竞争向来激烈,乐富强作为安徽本土房企在近期合肥首批集中供地中,以总价5.4亿元夺得庐阳区一地块,实属难得。

不过,扩张之下乐富强在安徽却遭遇口碑“滑铁卢”,例如,项目发生安全事故造成人员死亡,楼盘质量遭到业主非议等等。

变相“捂盘”

在合肥,乐富强有着“捂盘王”的戏称。

去年7月,甚至有网友投诉称乐富强悦湖熙岸捂盘惜售。据乐居财经获悉,2018年11月,乐富强拿到悦湖熙岸所在地块;但时隔3年多,还有房子没卖。

对此,政府相关部门回复称,“受疫情影响,开发企业资金较为紧张,导致工程施工进度较慢,剩余的10栋288套房源暂无法取得预售认可证,待达到预售条件后将启动销售。”

通常来说,开发商选择高周转模式,希望尽快回笼资金,填补现金流;除非万不得已,项目受到工程进度制约,不能如期出售。但乐富强二者都不是,其意或是要卖出更高的价格。

深谙合肥楼市的业内人士向乐居财经透露,此前乐富强一般拿地的楼面价都不高,毛坯交付,主打价格战。

在上述人士看来,“乐富强比较能忍,留一两栋楼不卖是常有的事,经常同时拿地的盘清盘一两年了,乐富强突然拿出几栋楼来卖。打时间差,品牌不行,价格来凑。”

不过,这个捂盘小能手也有遭遇失策的时候。例如,2020年5月底,乐富强以约7亿元竞得新站XZ202003号地块收入;时隔一年之久,2021年5月底该地块案名才得以发布。

专业人士分析认为,“案名迟迟不发布的原因,主要归结为该地块周边比较荒凉,是在等利好消息,若是不等自然卖不出好价钱。”

不过,迟迟未等到利好消息的乐富强,最终宣布和去年3月新取得的地块一同宣布入市。

但值得注意的是,乐富强的“捂盘”并不违规。合肥当地对于捂盘的标准是拿到预售许可证10天内不卖,算的上捂盘。看到空子的乐富强,玩起了“拖延”战术,只要未拿到预售许可证,也就算不上捂盘。

不过,近年来合肥对于出让土地都有明确的开工、竣工要求,因此乐富强的“捂盘”行为或将成为历史。

一边是乐富强因“捂盘”在合肥楼市而得名,另一边它的房子却频频遭“差评”。

去年11月,乐富强悦湖熙岸业主爆料称项目存在实际与宣传不符,质量堪忧等问题。如,建筑垃圾回填,未来有安全隐患;绿化与规划不符,多处花草枯败;房屋多处鼓包、渗水等。

除此之外,乐富强旗下企业还曾多次违反相关法律法规被相关部门处罚。例如,去年年初,高新区NP2-1、2、3地块文宸苑项目发生一起起重机械伤害事故,造成1人死亡。

但乐富强依旧“屡教不改”,今年1月,长丰乐富强房地产又因为未严格督促施工单位建立安全文明措施费使用制度落实安全文明施工措施,被处以罚款2万元行政处罚。

又如,去年3月,安徽乐富强房地产未按规划实施建设“悦澜湾小区”项目和未取得《建设工程规划许可证》擅自建设该项目30#住宅楼的行为违反相关规定,被处罚近7.4万元,没收违法收入近21.37万元。

紧接着去年6月,乐富强旗下合肥瀚博房地产通过“合肥乐富强文宸悦府”微信公众号发布的广告含有升值或者投资回报的内容等违反相关规定,被相关部门处罚。

左手银行 右手AMC

乐居财经财经查询获悉,乐富强(全称“安徽乐富强控股集团有限公司”)成立于2017年1月,注册资本10亿元。其前身为成立于1992年的安徽金彩牛实业集团有限公司(下称“金彩牛实业”)。

在乐富强股权层面,大股东金彩牛实业持股68%,刘德文、刘静雯各持股16%;股权穿透可知,金彩牛实业由刘静雯、刘德文、刘士强三人均各持股30%,刘瀚文持股10%。

不难看出,乐富强背后持股人均为刘氏股东。他们与创始人刘士强有何关联?

安徽业内人士称,这几个股东实际上是一家人,刘静雯是老板刘士强的千金;刘德文、刘瀚文二人其中有一人是刘士强的侄子。

眼下,乐富强已发展成为以地产开发为核心,商业运营、酒店管理、物业管理、金融投资等为一体的多元化产业集团,年营业收入逾百亿。

具体来看,乐富强目前直接对外投资4家企业,包括安徽乐富强房地产(68%)、乐富强(上海)企业管理咨询(60%)、长丰乐富强房地产(54%)、合肥乐富强房地产(34.986%)。

在这4家子公司下,乐富强却间接持股企业高达84家。例如,乐富强控股子公司安徽乐富强房地产,对外投资企业达10家。

潜藏于安徽的乐富强,是如何进行融资扩张,做大做强?

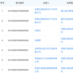
一方面,乐富强系手持3家银行股权。包括股东金彩牛实业持有安徽新安银行30%股权,位列大股东;子公司安徽乐富强持有阜阳颍泉农村商业银行持有9.3897%股权,位列二股东;子公司合肥乐富强持有六安农村商业银行8.3717%股权,位列二股东。

手中有粮,心中不慌。3家银行为乐富强提供了“隐秘”输血渠道,还为其股权出质融资立下了汗马功劳。

去年12月底,金彩牛实业将新安银行1.195亿股股权数额出质予安徽马鞍山农村商业银行肥西分行;此外,2019年-2020年期间,金彩牛实业也曾两次将新安银行巨额股权数额进行出质。

与此同时,安徽乐富强、合肥乐富强均有将持有的银行股进行巨额出质。其中,合肥乐富强就将六安农商行6354.7万股的股权数额进行出质。

另一方面,乐富强与四大AMC之一的中国华融关系匪浅。以安徽乐富强为例,目前与之相关的股权出质信息达7条之多,但质权人均是中国华融安徽省分公司,出质股权数额总计11.82亿。

此外,合肥乐富强将霍山县乐富强投资价值1.28亿股权数额,以及它还联同乐富强将长丰乐富强价值1.1亿股权数额,均出质予中国华融安徽省分公司。

不止于此,乐富强股东“金彩牛”也将安徽乐富强房地产价值2.87亿股权数额,出质予中国华融安徽省分公司。

中国华融是四大全国性AMC之一。所谓AMC,传统意义上是指那些在市场上寻找破产重组股、垃圾债等看上去劣质、实际上具备升值前景,并以此撬动巨额收益的投资者。

如此看来,乐富强一边是银行,一边又有AMC中国华融的加持,颇具左右逢“金”的意味。

此外,乐富强旗下金融投资平台合肥翰嘉投资管理有限公司(下称“翰嘉投资”)不容小觑。目前,该企业对外投资企业中有4家处于存续状态,其中关联机构不乏高成资本、愉悦资本、中金资本等。

最后,乐富强还热衷与其它房企合作进行扩张。例如,在六安碧桂园嘉禾房地产股权上,佛山市顺德区碧桂园物业发展、安徽乐富强各持有59.5%、30%股权。

阜阳神秘富豪

白手起家是一个成功企业家的标配,乐富强创始人刘士强也不例外。然而,神秘低调的他公开资料更是鲜有提及,即便安徽本地人,对他也了解不多。

但刘士强却有一段不风光的过往,人尽皆知。他曾因向安徽省原副省长王怀忠行贿20万元,被写进王怀忠的判决书。

1996年至1999年期间,王怀忠接受白金汉宫大酒店有限公司刘士强请托,利用职权组织召开会议,积极为刘士强协调各部门,解决了白金汉宫二期工程中遇到的拆迁问题,并先后两次要求安徽省信托投资公司阜阳办事处为白金汉宫大酒店解决建设资金共计320万元。为表示感谢,刘士强一次性送给王怀忠20万元。

20多年过去,刘士强已经年近花甲。目前,他除了金彩牛实业外,处于存续状态下的对外投资企业仅剩一家——安徽阜阳西湖娱乐城有限公司,并持有40%股份,该企业经营范围主要涉及餐馆、休闲、园林景点绿化。

前人栽树,后人乘凉。刘士强之女刘静雯的对外投资颇为丰富。目前,她对外投资企业达13家,涉及房地产业、商务服务业、科技推广和应用服务业等。

作为60后的刘士强,是那个年代少有的高材生,毕业后便得到了一份“铁饭碗”工作。

1992年南巡讲话后,国内掀起了一阵下海经商的浪潮。颇具商业头脑的刘士强毅然决定离职,投身家乡建设。

资料显示,1992年1月,乐富强集团第一家交电批发公司成立,开创集团起始历程。两年后,他成立了安徽乐富强,开始在房地产摸爬滚打。

此后,凭借我国房地产东风,擅长经营的刘士强带领乐富强进入了高速发展期。与此同时,1998年,阜阳白金汉宫大酒店正式营业。并于2014年成立酒店管理公司,酒店板块高星级酒店项目拓展至合肥、阜阳、六安等地。

刘士强还瞅准了物业机会,从地产开发到物业的全链条服务。2002年,安徽乐富强物业管理有限公司顺利诞生。

2006年,刘士强带领乐富强品牌进军省会合肥。此后,在房地产行业逐渐进入白银时代,乐富强集团开启了多元化的进阶之路,于2015年成立翰嘉投资,涉足金融投资业务。

虽然鲜有露面的刘士强,但近三年的公司上半年度总结会,他却从不缺席。去年下半年,刘老板在会上提到,强化危机意识,树立过“紧日子”思想。

加载中...