新浪财经

土坑酸菜主角掘金故事:小县城里出了个龙头,插旗菜业为何从功臣沦为罪人

时代周报猛犸工作室

关注

“3·15”晚会曝光后,持续发酵的“土坑酸菜”事件,终于快到大结局。

3月18日,据媒体报道,“土坑酸菜”涉事地,湖南岳阳市华容县全县的芥菜加工相关企业均已停产整顿。身处舆论中心的湖南插旗菜业有限公司(下称“插旗菜业”),更是已完全封闭,厂区门口拉起红色横条,厂内部分车间出入口也同样被封。

3月16日,岳阳市华容县、君山区的4名公职人员因食品安全监管不力而受到停职或免职处分。而涉事企业的相关人员已由地方联合执法组控制;插旗菜业董事长严钦武面对镜头公开道歉后,便再未露脸。

这一事件波及面广,不仅导致康师傅相关产品下架、股价大跌,甚至引发国内酸菜相关餐企陆续发布公告澄清。

自此,插旗菜业彻底“塌房”。

3月16日—17日,插旗菜业的官网仍能正常打开。官网宣称,企业熟知如何用高科技、现代化制作工艺来为自己“镀金”,与当地村民为所谓“古法制作”叫屈形成鲜明对比。在这里,一家“精明”县企把酸菜的故事讲得头头是道,企业的经营者深知什么才是“好企业”。3月18日起,插旗菜业官网已无法访问。

小县城里的大龙头

插旗菜业是岳阳华容县当地的龙头企业。

插旗菜业头带多项光环:位于湖南省北部、洞庭湖藕池河畔的县级企业,是全球最大方便面企业康师傅的供应商;“中国驰名商标”“中国食品安全百家示范单位”等称号排满一整个网页;公司共计生产有餐饮、休闲、出口、代加工4大产品系列60余个产品品种,国内销售遍布20多个省份80余个城市,国外销售遍及德国、美国、澳大利亚等10多个国家。

(媒体报道中,2019年7月22日,湖南岳阳,华容县插旗菜业公司的无菌包装车间内,工人在加工真空包装的酸菜产品。图源视觉中国

产品远销国内外,插旗菜业的生意也带动了邻里乡亲致富。

2019年,岳阳人大网曾转载一篇来自华容县插旗镇财政所的文章。这篇名为《芥菜大王严钦武》文章介绍,为发挥芥菜加工优势,扩大生产规模,带动当地农民致富,插旗菜业推行“公司+基地+农户”的经营方式,生产基地已辐射20多个乡镇及周边县市,带动近18万亩地的芥菜、豆角、榨菜等蔬菜生产。该公司采取订单生产模式,与近9000位菜农签订了蔬菜产销合同,2016年,合作农户每亩新增收800多元。

尹钦武是插旗菜业的关键人物。1968年,尹钦武出生于插旗镇一个农民家庭,大专学历。2003年,商业嗅觉灵敏的他因看到了当地芥菜行业的市场潜力,毅然放弃原本从事的棉花采购工作,转行从事芥菜生产加工。

2005年,他牵头整合插旗镇内多家加工企业,成立插旗菜业。《芥菜大王严钦武》介绍,公司成立后,严钦武对芥菜加工环节进行了改造,不仅引进先进包装技术、实行真空包装、提高产品技术含量,同时也先后注册多个商标,着重培育华容芥菜品牌。

严钦武俨然是一改土法制造、推进现代化工厂的先进人物。

时代周报记者梳理各种公开的宣传材料发现,2010年,在政府部门多方联动下,插旗菜业与统一集团签订了年供6亿包方便面风味包的协议;2017年,华容县在建立全省第一支产业引导投资基金后,对插旗菜业进行了股权投资,插旗菜业获得了6000万元的资金;同年,插旗菜业新建300个标准腌制池,新建标准示范基地1000多亩。

官网显示,2012—2019年,插旗菜业获得了多个奖项,其中包括中国食品安全年会百家示范单位、湖南省科学技术进步奖、高新技术企业等。同一时期,各级地方官员都曾到插旗菜业考察。

官网显示,插旗菜业占地面积150余亩,建筑面积近5万平方米,资产逾亿元,员工1200余名。公司拥有食品级标准厂房12栋,现代化蔬菜加工生产线4条、设备500余台套,年蔬菜加工能力8万吨,建设有高标准室内腌制池300个,年蔬菜腌制能力近4万吨。

光鲜的面子,坏掉的里子

严钦武,无疑极富企业经营头脑。在他的领导下,插旗菜业将开源节流、利益最大化贯彻到底。

他将插旗菜业包装成一家具有核心技术研发能力的现代化企业,讲好酸菜故事,开辟财源。

一家县级企业,拥有信息清晰详尽的官网。建站方为业内头部服务商中企动力,中企动力服务过博纳影业、三一重工、东来顺等国内各行业头部企业。

经过细致编排,官网上留下的都是现代化食品企业话术:在描述公司出口产品“芝麻芥菜”的制作过程时,“定量石压腌制法”、“定量食盐”、“负压除湿”等专业词汇不一而足;而在描述酸菜产品的原料时,插旗菜业更是使用了“一次检验原料、二次检测发酵、三次检测高科检验”等自证质检可靠的字眼。 

这与用脚踩出来的酸菜制作工艺截然不同。

公开报道中,插旗菜业深知如何包装商业价值和体现企业社会责任。

2011年以来,一组由插旗菜业提供的数据被反复提及:一蔸2公斤重的芥菜,以现有价格算,直接卖鲜菜收益0.6元;经腌制初加工后,可卖到1.2元;制作成方便面风味包,可卖到13.2元,其间增值逾20倍。一年下来,仅插旗镇农民从芥菜产业获得的收入就超过2亿元,几乎占到全镇农民收入的40%。

几个数字几句话,插旗菜业成为当地经济的“功臣”。

2017年,华容县建立的产业引导投资基金,首期基金规模为2亿元,而当年注入插旗菜业的资金则高达6000万元。据媒体报道,收到资金后,严钦武曾高兴地说,不用一年,即可收回投资成本,插旗菜业将新增年产值1.2亿元。

但从315晚会曝光的视频看来,插旗菜业把“表面一套、背面一套”用到了极致。

无论是从官网的车间展示图、从获得的荣誉称号、又或者是从高层的公开采访看,插旗菜业早已具备工业化、规模化生产酸菜的能力。讽刺的是,插旗菜业仅将这样的能力,用于验收要求更高、食品安全违规成本更高的海外客户。

在2020年的媒体报道中,插旗菜业曾表示,公司在生产出口日本的酸菜产品时,会严格按照日本的进口要求,将腌制后的酸菜清洗整整12遍。为满足日本经销商要求、保证每批次的芥菜品质如一,插旗菜业还定制了规格统一、每块重量均为400公斤的方条石,将石头井井有条地压在腌制池里的芥菜上。

然而,据3·15晚会,插旗菜业在生产国内方便面酸菜包时,使用的却是收购来的“土坑酸菜”,这类酸菜来自加工厂附近的农田土坑,工人们往往踩在菜上抽着烟干活,因此,“土坑酸菜”中往往会混入羽毛、烟头等杂质,而插旗菜业甚至不对卫生指标进行检测。

“自己腌的酸菜做出口,方便面菜包里的就是收的土坑酸菜。国内的酸菜,到了消费者手里,有树叶、纤维等杂质,顶多罚你一千两千,但如果到了国外,出了问题,至少罚你10万元。”315晚会报道中,插旗菜业的工作人员对暗访人员说道。

被忽略的经营风险

双标之下,插旗菜业内销产品的质量问题,近年来也开始显现。

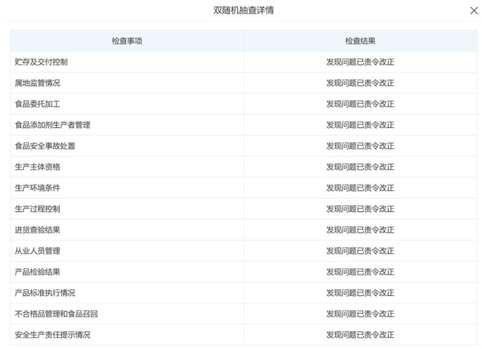
天眼查显示,2019年、2021年,湖南插旗菜业均在双随机抽查后被查出问题。早在2016年,就有消费者在购买插旗菜业生产的开袋即食海带丝后,发现添加剂超标。消费者举报插旗菜业并诉至法院,最终华容县市场和质量监督管理局责令插旗菜业立即整改并召回涉事产品,同时法院裁定插旗菜业返还消费者货款并10倍赔偿。

(2019年湖南省市场监督局对插旗菜业的食品生产监督检查结果)

插旗菜业还面临着更大的经营风险。

天眼查显示,2月24日,作为插旗菜业控股股东的严钦武对公司股权进行了质押,出质股权数额为864万元,这个数字,与他在公司的认缴股份金额一致。目前,插旗菜业存在5则动产抵押登记,被担保债权数额总数额高达6700万元。

此外,根据天眼查,插旗菜业涉及多条法律诉讼,案由包括产品责任纠纷、追偿权纠纷、民间借贷纠纷与合同纠纷等。

时针拨回2003年,当35岁的尹钦武,看到芥菜加工业的广阔商机时,有没有想过,近20年后,由自己一手打造的酸菜龙头,竟从当地功臣,沦落为酸菜行业的罪人?

责任编辑:刘万里 SF014

加载中...