原顶级风投合伙人备案新基金,“公奔私”大潮延续不停,还有物理老师、审判员、医生……都来了!
每日经济新闻
近日,中国证券投资基金业协会(以下简称中基协)公布了最新一期备案的私募机构名单。每经记者统计发现,这一批共有28家私募完成备案,其中有不少亮点。
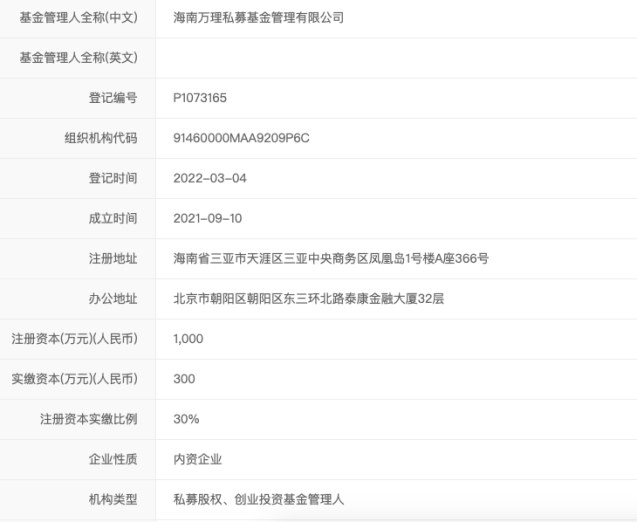
3月4日,一家名为“海南万理私募基金管理有限公司”(以下简称海南万理私募)的私募完成备案,其法定代表人、总经理和实控人正是原红杉中国合伙人曹曦;这家机构的另一位合伙人则是曾在博裕资本担任合伙人的王宇晨,可谓是两位行业大佬的联手。
另外,这一批新备案私募的高管中有多位都是来自公募基金、有着丰富经验的投资老兵,显示出“公奔私”大潮的延续。还有部分高管此前的职业曾是物理老师、医生、审判员等,也显示出投资行业强大的吸引力。
多位创投大佬联手设立新基金
3月4日,海南万理私募的成功备案在行业里又拉了一波关注。这家私募基金管理人成立于2021年9月,注册资本1000万元,有4名员工,而引起大家注意的正是这家机构背后豪华的高管阵容。
实控人曹曦的名字在创投圈里为人所熟知。他在红杉中国工作近8年,曾担任合伙人,并于2018年参与创建红杉中国种子基金,曾主导参与投出快手、斗鱼、英雄互娱、懂球帝、腾讯音乐、超级猩猩、量子体育等项目。公开资料还显示,在加入红杉之前,曹曦曾任职于同创伟业,担任TMT投资总监。而在进入风险投资领域之前,他先后任职于腾讯、金山软件等公司,担任产品经理、运营负责人等职务。
另一名合伙人王宇晨,备案信息显示他曾在高盛(亚洲)担任分析师,后来又加入博裕资本担任合伙人。财务总监何子器2012年~2017年也在红杉中国任职,主要负责人民币基金财务和投后管理工作,2018年她加入了襄禾资本。对于海南万理私募,曹曦认缴出资99%、何子器则为1%。
2021年11月,曹曦宣布与前博裕资本二级市场合伙人Tim Wang共同成立投资管理机构——Monolith Management,首只基金规模超过5亿美元,已超原计划的认购规模,一度也引发行业热议。在公开资料里,Monolith的首只基金将是一只科技对冲基金,但同时优异的一级市场成长期项目也在其关注范围内。
此次完成备案的海南万理私募,其机构类型为私募股权、创业投资基金管理人,也就是一家关注一级市场投资的私募。目前这家机构旗下还没有备案的基金,但几位创投大佬“强强联手”,接下来的动作还是非常值得关注。
物理老师、审判员、医生都来做私募了
除了顶级风投大佬的动向,“公奔私”也是这批新备案私募的一大主题。
3月4日,北京中汇守正私募基金管理合伙企业(有限合伙)(以下简称中汇守正私募)和青岛沐丰禾私募基金管理有限公司(以下简称青岛沐丰禾私募)都成功完成备案,而这两家私募背后的高管都是非常资深的公募老兵。
首先来看看中汇守正私募。中基协备案信息显示,这家机构成立于2020年底,注册资本1000万元。其执行事务合伙人(委派代表)、董事总经理王李允泰有8年的证券从业经验,在中邮基金工作多年,并且一度担任专户部副总经理。
投资总监孙良更是一名资深的投资老将,1995年研究生毕业后就入职了一家券商,后来又转战公募基金,曾担任长城基金机构理财部总经理、宝盈基金的核心研究员、纽银梅隆西部基金(西部利得基金前身)研究总监等职务。离开公募行业后,他进入私募,在多家机构担任投资总监,并在2021年3月加入了中汇守正私募。
青岛沐丰禾私募则成立于2021年2月,注册资本500万元。这家机构的法定代表人、总经理郭盈2016年加入鹏华基金,并在2020年开始担任鹏华改革红利股票、鹏华策略回报混合的基金经理。2021年11月,他离开鹏华,并在当年底出资参与设立青岛沐丰禾私募、担任总经理,成为“公奔私”大潮中的一员。
而青岛沐丰禾私募的另一名高管刘卫红,此前是武汉教育电视台的法制专栏制片人,后在武汉海事法院海事庭担任了11年的审判员。2016年她加入郑州发展投资集团有限公司,开始在投资机构担任审计、风控方向的职务,并在2021年底加入青岛沐丰禾担任合规风控负责人。
经过不完全统计,每经记者还发现了一些很有趣的现象。例如2021年8月成立、此次成功备案的湖北江城私募基金管理有限公司,其法定代表人、总经理杨欢曾是武汉市第二十三高中的一名物理老师,后来转行当起了投资经理,并且在湖北江城私募成立后成为了总经理,算得上是非常彻底的转型了。
另一家成立于2018年的私募基金——贺州新经济新业态创业投资基金有限公司,3月4日也成功完成备案,注册资本1亿元。
在中基协的备案信息里我们看到,这家机构的高管之一、副总经理陈景毅最初的职业是一名临床医学部的轮转医生。但是在此之后他也迅速转行,开始担任起项目经理、投资总监等职务,并且一度任职深圳市前海宏达资产管理有限公司的执行董事/总经理。现在,他是贺州新经济新业态创投基金的副总经理,和此前的职业相比也是完成了一次转型。

事实上,不仅是“公奔私”,大量不同职业的专业人士纷纷加入私募投资行业,甚至近来有不少实业大佬都纷纷“跨界”进军私募,体现出这个行业强大的吸引力。而这些高级人才的不断流动,也为资管行业的快速发展提供了活力与支撑。
免责声明:每日经济新闻·场景汇旨在为创业者与投资人搭建互动交流、精准对接平台,我们将定期深度报道优秀创业公司和创业项目,所选用的素材均来自于公开资料和采访,请各位投资人谨慎判断、预防风险。