新浪财经

陪客户喝酒、加班过度猝死算工伤吗?一起聊聊关于工伤的那些事

封面新闻

关注

大河网记者 宋向乐

2月22日,一个“95后设计师猝死 生前聊天记录曝光”的话题成为网络热议。 近日,上海某建筑设计公司1996年出生的设计师小赵被曝或因加班过度在出租屋内猝死,引发关注。事情让人唏嘘,很多网友提出了问题:“因工作遭受事故伤害或者患职业病后,如何申请认定工伤?”

关于工伤的争议正说明《工伤保险条例》等法律知识并不十分普及,今天记者由河南省高院刚刚公布的一起纠纷案件来聊聊关于工伤的那些事。

出差陪客户喝酒猝死,算工伤吗?

2022年2月23日,大河网记者从河南省高院获悉一起工伤纠纷案件:欧某因为陪客户喝酒猝死,南阳市人社局、南阳市政府及三级法院均不认定为工伤。这究竟是为何?让我们来一起看看这个案件。

2018年9月17日,南阳市民欧某前往北京分公司出差并与客户进行交流。当天18时左右,经领导同意,欧某在公司食堂陪同客户就餐。餐后,欧某住宿于北京海淀区某小区。

9月18日11时许,公司同事发现欧某意识丧失、呼之不应,遂拨打急救电话并报警。

11时28分左右,北京市红十字会紧急救援中心人员到达现场,发现欧某双侧瞳孔散大固定,对光反射消失,四肢僵直,宣布临床死亡。

那么欧某之死算工伤吗?

2019年1月28日,南阳市人力资源和社会保障局依据《工伤保险条例》第十六条第(二)项之规定,作出(2019)宛工伤不予认字第01号不予认定工伤决定书。

随后,欧某所在的公司不服,申请行政复议,6月11日,南阳市人民政府作出宛政复决(2019)26号行政复议决定书,维持被申请人2019年1月28日作出的《不予认定工伤决定书》。

从这里我们可以看到,工伤认定并非由当事人所在公司来定性。

我们再来看当地法院是如何判决的。

南阳市宛城区人民法院及南阳市中级人民法院均认为,欧某在外出工作期间饮酒后猝死,经鉴定,其血液中的酒精含量远超过醉酒标准。

上诉人称一审法院没有查明欧某的死亡与醉酒之间的关系,经查,北京市海淀区公安司法鉴定中心的鉴定意见是欧某符合酒后猝死。

故上诉人的上诉理由不能成立,本院不予采纳。

值得注意的是,河南省高院出具的行政裁定书认为,申请人向该院提起再审申请的主要理由为欧某的死亡和醉酒之间并不存在因果关系,且醉酒不应一律作为不予认定工伤的事由。

但对于欧某在外出工作期间猝死的原因,北京市海淀区公安司法鉴定中心出具的鉴定意见确定,欧某血液中的酒精含量远超过醉酒标准,符合酒后猝死。故申请人的上述理由不能成立。

划重点:因陪客户喝酒受伤或死亡的均不算工伤

宋长贵律师在分析本案时认为,本案中的欧某陪客户喝酒,是为工作原因;在履行工作职责期间病发,当属于工作时间;病发的地点虽不在公司,但由于喝酒行为属于办公行为,因此,喝酒的地方可视为工作场所的合理延伸。

所以,按照这些标准,欧某属于工伤本无可非议。

但是,根据《工伤保险条例》第十六条的规定,职工虽符合工伤认定标准,但是有下列情形之一的,不得认定为工伤或者视同工伤:

1.故意犯罪的:

2.醉酒或者吸毒的;

3.自残或者自杀的。

由此可见,法律早已规定,陪酒身亡,即使是工作原因造成的也不能认定为工伤。

因此,陪酒不应成为正常的工作范畴,且若是将陪酒也认定为工作的话,是否还会再出现“送礼工伤”、“嫖娼工伤”?这些将严重违背工伤保险制度的设立初衷。

上下班途中摔伤算工伤吗?这些情形下算

网友“泡沫”微博发文称,自己是郑州东区某公司的一位职员,今年是她在公司工作的第八年。“前段时间步行上班的路上,因路面湿滑在单位门口不慎摔倒,导致胳膊骨折。为了治疗受伤,我要在家休养一个月左右的时间。在我看来,这应当算作是工伤,可是单位的领导却给了我不一样的答复。”

上下班途中发生意外事故的情形并不少见,也一直是企业和员工关注的焦点问题。

在日常的普法中,很多人都知道《工伤保险条例》规定,在上下班途中,受到非本人主要责任的交通事故或者城市轨道交通、客运轮渡、火车事故伤害的,应当认定为工伤。

上下班路上受到伤害要认定为工伤,必须同时满足以下条件:在上下班途中;受到伤害的原因是发生了交通事故;该交通事故的责任认定中,本人为非主要责任。

因此,如遇雪天路滑摔倒,自己摔倒受伤,虽然发生在上下班途中,但并未受到非本人主要责任的交通事故伤害,是不能认定为工伤的。

大河网记者了解到,现实生活中,还一些企业往往把回家定义为回员工宿舍或员工自己的家,除此之外不算工伤。

事实上,2014年9月1日起施行的《最高人民法院关于审理工伤保险行政案件若干问题的规定》,对“上下班途中”进行了细化。其中明确,“对社会保险行政部门认定下列情形为‘上下班途中’的,人民法院应予支持:(二)在合理时间内往返于工作地与配偶、父母、子女居住地的合理路线的上下班途中。”

根据这一规定,所谓合理时间内,比如为躲避上下班高峰而早出发一小时或晚下班一小时,均属在合理时间内;所谓合理线路内,即往返于工作地和劳动者合理居所的“上下班途中”,涵盖了劳动者的住所地、经常居住地、单位宿舍以及劳动者配偶、父母、子女的居住地。另外,在上下班途中发生交通事故,须是非本人主要责任的交通事故,同时有交警部门出具的事故认定书等书面材料。

工作期间感染上新冠,算工伤吗?

新冠疫情给社会带来的影响巨大,那么在工作期间感染上新冠算工伤吗?

其实,人社部在2020年下发的通知中已对该问题做出了回答。

《关于因履行工作职责感染新型冠状病毒肺炎的医护及相关工作人员有关保障问题的通知》(人社部函〔2020〕11号)明确,在新冠肺炎预防和救治工作中,医护及相关工作人员因履行工作职责感染新冠肺炎或因新冠肺炎死亡的,应认定为工伤,依法享受工伤保险待遇。

这是在抗击疫情期间,对于新型冠状病毒职业暴露风险高的从事预防和救治的医护及相关工作人员的特殊政策,体现了党和国家对医护和相关工作人员的关爱。

如果不是从事新冠肺炎预防或相关工作人员,感染新冠肺炎是不能认定为工伤的。

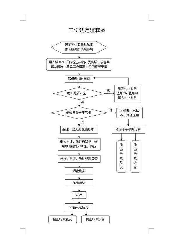
一图读懂:发生工伤后如何申请赔偿?

加载中...