新浪财经

“土豆大王”梁希森超两亿豪宅将被拍卖,财富曾高于马化腾

红星新闻

关注

曾被称为“土豆大王”的梁希森,如今的日子有点不好过。

红星资本局2月12日从阿里拍卖网上获悉,梁希森在北京昌平区玫瑰园两套总价值超过两亿元的豪宅,将在3月5日公开拍卖。其房产被拍卖是因为他与一起金融借款合同纠纷有关,共计欠款1.5亿元未还。

红星资本局注意到,梁希森是乐陵希森马铃薯产业集团有限公司的董事长。在2005年胡润百富榜中,以20亿元的财富排名第66位,身价甚至高于马化腾、江南春、张朝阳等。

北京超两亿豪宅将被拍卖,暂无人报名

根据阿里拍卖显示,此次被拍卖的两座豪宅分别位于北京市昌平区玫瑰园别墅二区和三区。

其中,二区的豪宅估价1.55亿元,建筑面积达到1225.81平方米,总共三层;起拍价1.55亿元,参拍需缴纳保证金1000万元,增价幅度为10万元。另一套位于3区,估价4900万,建筑面积864.29平方米,总楼层4层;其起拍价为4916.6万元,保证金400万元,增价幅度为10万元。这也意味着,两套豪宅的估价超过两亿元。

红星资本局查阅发现,玫瑰园周边有八达岭长城、十三陵、京密运河等自然风景区。根据贝壳找房网站显示,玫瑰园今年1月的参考均价为73616元/平方米,物业费为5.8元至5.9元/平方米/ 月,房屋总数为186户,楼栋总数有9栋。

据了解,此次拍卖将于3月5日上午10点开始,3月6日上午10点结束。需要注意的是,参与拍卖的竞买人,其家庭或个人应符合北京市限购政策。竞买人在竞拍前应先行到当地房管部门核查本人的购买资格,拍卖成交后需携带通过资格核验的结果办理相关手续。

截至发稿时,二区220号房产38人设置提醒、6177次围观,三区42人设置提醒、2404次围观,均暂无人报名参拍。

豪宅主人欠债1.5亿未还

曾跻身胡润富豪百强

根据一份案号为“(2021)鲁1481执1131号之一”的执行裁定书显示,上述两处房产的所有人是乐陵希森马铃薯产业集团有限公司(以下简称“希森集团”)的董事长,被称为“土豆大王”的梁希森。公司官网显示,希森集团成立于2005年11月,注册资金1.5亿元。已完成投资30多亿元,已形成年繁育4亿粒微型薯原原种的产能,在内蒙古、张家口建成三年轮作模式的种薯繁育基地40万亩。

公开资料显示,梁希森1955年生于山东,白手起家积累了一定财富后,选择进军房地。2005年,梁希森曾以20亿元的身家跻身胡润百富榜,位居第66位,财富排名高于马化腾(当时位居82)、 江南春(当时位居82)、张朝阳(当时位居86)等。

一份案号为“(2020)鲁14民初346号”民事裁定书显示,在德州银行乐陵支行与希森集团、北京玫瑰园别墅有限公司、希森三和集团有限公司、山东希森集团有限公司、梁希森金融借款合同纠纷一案中,德州银行向法院申请财产保全,请求查封后者银行存款1.5亿元或其他等值财产。法院依法查封了上述两套豪宅,由于后者未在期限内还钱,法院裁定拍卖上述豪宅。

红星资本局发现,除了上述豪宅被拍卖外,梁希森所属的希森集团也官司缠身。

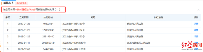
天眼查APP显示,成立于2006年的希森马铃薯公司,注册资本1.5亿元,法定代表人梁希森。该公司曾因借款合同纠纷被起诉7次,曾4次被列为限高企业,还因未按时履行法律义务而被法院强制执行11次。

加载中...