子康生活旗下“润铧商城”涉传,虚假宣传,药企“尔康药业”有染?
原标题:子康生活旗下“润铧商城”涉传,虚假宣传,药企“尔康药业”有染? 来源:涨乐财富通
近年来,随着国家在打击传销方面力度的加强,越来越多的涉嫌传销的企业要么被监管部门查处、要么关网跑路留下一地鸡毛。
然而,尽管“打传”已经成为常态化,但由于传销的计酬模式和裂变方式能够为组织策划者快速积累财富,一些尝到甜头的不法者依然屡次试探法律底线,甚至多次改头换面继续从事非法传销活动,“子康生活”就是其中之一。
【多次更名、申牌无果】
图片来源:子康生活微信公众号
据子康生活微信公众号显示,湖南子康日用品有限公司成立于2014年,由湖南兴隆铺集团有限公司与湖南上市药企尔康制药共同投资成立。是一家集科研、生产、销售服务于一体的高新技术日化企业。于2016年在国家级浏阳经济开发区投资成立子公司湖南子康日化用品有限公司,拆资千万组建专业研发团队与先进生产设备打造近2000平约十万级GMP结净生产车间,主要生产美容护肤品、家居洗涤日用品等。
子康生活的主体运营公司湖南子康日用品有限公司成立于2014年4月21日,位于湖南省长沙市芙蓉区隆平高科技园湖南科研成果转化中心2号栋101,注册资本8000万,实缴2000万,法人代表瞿超群持股70%,为最大股东,湖南尔康制药股份有限公司持股30%,为第二大股东。在2014年4月公司成立初期至2016年12月,该公司名为“湖南子牛润怡护肤养生有限公司”。值得一提的是,该公司原来的法人代表为瞿吉辉,于2016年12月退出。
而官宣资料中显示的子康生活的投资公司之一“湖南兴隆铺集团有限公司”,经反传防骗联盟查询,该公司成立于2013年2月26日,位于湖南省长沙市芙蓉区隆平高科技园湖南省科研成果转化中心厂房1栋1楼(集群注册),注册与实缴资金均为1000万,法人代表瞿吉辉。
经查询,九年内湖南兴隆铺集团有限公司也经历了两次更名,在2013年成立初期公司名为“湖南子牛生物科技有限公司”,2014年8月更名为“湖南子牛集团有限公司”,直到2019年1月再次更名为如今的“湖南兴隆铺集团有限公司”。
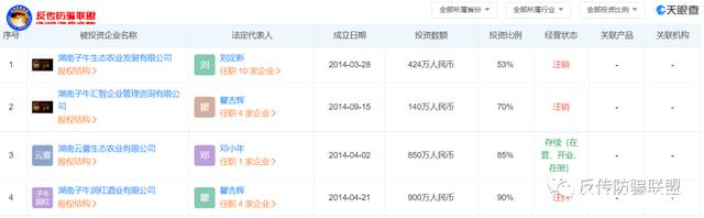
值得一提的是,湖南兴隆铺集团有限公司曾对外投资了四家企业,但其中湖南子牛生态农业发展有限公司、湖南子牛汇智企业管理咨询有限公司、湖南子牛润红酒业有限公司均于2019年5月注销,仅湖南云雾生态农业有限公司目前还处于“存续”状态。
而持股子康生活30%股份的湖南尔康制药股份有限公司,经查询其公司前身为湖南尔康制药有限公司,成立于2003年10月22日。公开资料显示,2010年10月23日,湖南尔康制药有限公司召开股东会,全体股东一致同意将公司整体变更为股份有限公司。2010年10月28日,全体股东签署了《发起人协议》,以湖南尔康制药有限公司2010年9月30日经审计账面净资产139,586,938.57元为基础,按照1:0.9886的比例折为本公司股份13,800万股,余额1,586,938.57元计入资本公积。公司于2010年11月8日在长沙市工商行政管理局登记注册,注册资本13,800万元。截至2022年1月,注册资本206260.487万元。
图片来源:东吴证券
据2016年东吴证券发布的一篇名为《尔康制药:淀粉胶囊产品高速增长,政策红利助力公司长远发展》显示,2016年10月,尔康制药公司审议通过出资2400万元与湖南子牛集团有限公司使用5600万元共同出资设立湖南子康生物科技有限责任公司,并将申请直销牌照,探索直销模式。
反传防骗联盟了解到,上文中的湖南子牛集团实际上就是子康生活的前身。而时至今日,经反传防骗联盟查询,子牛集团、子康公司、兴隆铺集团、尔康制药三家企业均未获得直销牌照,在商务部直销行业管理官网均查无踪迹。
【涉嫌传销、早有曝光】
为何子牛集团更名“子康生活”,而更名后的子康生活戎相关联的企业又多次更名?旗下多家公司又为何要集体注销呢?据悉,这与其涉嫌传销屡次被曝光有关。
图片来源:百度知道
反传防骗联盟留意到,早在2016年4月,就有用户在百度知道留言询问“怎样评价湖南子牛集团的营业模式?”,一位用户在该提问处留言称“一亲戚说2万半年可以变4万,现在还买了很多子牛的商品,而且还说是免费的。”
无独有偶,据湖南电视台都市频道2016年11月11日的暗访报道,子牛集团主打的子牛生活馆,营销模式涉嫌传销。主打产品则被描绘成包治糖尿病、肿瘤、肝炎乃至艾滋病的神药。
也就是在其涉嫌传销被曝光后不久,湖南子牛集团开始销声匿迹,子康生活随之卷土重来。那么如今的子康生活是怎样的运营模式呢?
润铧商城小程序
据子康生活微信公众号显示,其目前运营的商城是一个名为“润铧商城”的微信小程序。但小编多次尝试均显示“登录失败”,后经过询问客服得知,目前该商城已更名为“润铧小助手”。
图片来源:润铧小助手
目前润铧小助手必须要填写推荐人的手机号码后才可成功登录。
据推广人员介绍,子康公司现行的制度消费3000元即可成为VIP(原点位复消折扣20%),成为VIP及以上级别后可以拿到直推奖、差额奖、平级奖和加权分红。
第一,直推奖是35%(复消部分15%)
第二,差额奖:直推3名VIP成为经销商,奖励9%;介绍3名经销商成为区代(介绍的意思是指经销商可以发展三个市场,也叫三条线,这三条线各有一个VIP成为经销商,那么最初的经销商就可以升级),奖励12%;介绍3名区代成为市代,奖励15%;介绍3名市代成为省代,奖励18%;介绍3名省代成为总代,奖励21%。
第三,平级奖:三代平级20%(差额奖部分)
第四,加权分红:总代2%(公司一共产生的业绩)
开设店铺后,还有推荐奖(店推店,第一代享受下级店铺总销售额的1%,永远享受第二级店铺总销售额的0.5%)和报单费(5%)可拿。
说明:按PV计算(能量霜3000元/套时,PV是2400)
据此前润铧商城的相关页面显示,用户消费20000元可以购买家庭健康包,权益包括:1、能量霜院装1000ml有4桶;2、单瓶能量霜100ml有7瓶;3、赠送牛角三件套2套;4、赠送顶级明前红茶2罐;5、赠送市代资格;6、计16000PV。
用户消费50000元可以购买店铺大礼包,权益包括:1、能量霜院装1000ml有10桶;2、单瓶能量霜100ml有24瓶;3、赠送牛角三件套5套;4、赠送红茶4罐;5、赠送省代资格;6、赠送店铺资格;7、计40000PV。
从以上制度模式来看,子康生活旗下的润铧商城尽管几经更名,但依然没有摆脱拉人头发展下线、多层次计酬等涉传违规行为。
【山药霜美容保健虚假宣传】
图片来源:子康生活微信公众号
据子康生活官网介绍,润铧山药美养霜由台北医学大学院联合美国哈佛医学院共同研发既是一款美容保养品,又是一款功效型养生保健品,能够有效调节生理机能、疏通经络、疏散筋结。
一款霜有美容保健的功能吗?对此,反传防骗联盟查询了国家药品监督管理局官网:
图片来源:国家药品监督管理局官网
经反传防骗联盟在国家药品监督管理局官网中搜索国产特殊化妆品注册信息、化妆品原料备案信息、化妆品注册备案检测机构等多个类目中查询,子康公司旗下的润铧山药美养霜并无任何备案信息。
【结语】
至于未来,曾屡遭涉传质疑的子牛集团如今蜕变为“子康生活”后能否实现“成为全球美容养生的标杆性品牌”的企业愿景?又将会有多少消费用户成为“润铧商城”多层级返利下的牺牲品?反传防骗联盟将持续关注。