换东家、董事长辞职, 田中精机发生了什么?
界面新闻
日k线图
记者 | 郭净净
编辑 |
1月10日,田中精机(300461.SZ)股价大跌6.11%至22.13元/股。
当晚,该公司宣布,其原董事长林治洪因个人原因申请辞去公司董事长、董事、董事会战略委员会召集人职务。在新任董事长选举产生前,由公司董事张玉龙代为履行董事长职责,直至选举产生新任董事长为止。
据悉,林治洪的原定任期至2024年5月18日第四届董事会届满。田中精机将继续聘请该人士担任公司战略顾问。截至公告日,林治洪持有田中精机160万股(其中112万股为股权激励限制性股票),占公司总股本的1.23%。林治洪曾在中国民生银行、恒丰银行等就职,现任蔷薇控股股份有限公司(简称“蔷薇股份”)董事长、总经理。
随着董事长卸任,田中精机的控股权变更事宜再进一步。
公开资料显示,田中精机主要从事自动化设备的研发、设计、生产、销售及技术服务。2021年前三季度,公司实现营业收入2.46亿元,同比跌15.46%;实现归母净利润1245.06万元,同比跌76.29%至。第三季度,公司亏损795万元,较上年同期下滑149.39%。
去年12月8日,公司披露,持股7.6%的第五大股东蔷薇资本有限公司(简称“蔷薇资本”)因涉嫌内幕交易,于2021年11月18日遭证监会立案调查。
天眼查显示,蔷薇资本由林治洪担任董事长、总经理的蔷薇股份全资持股,其执行董事正是田中精机原董事长林治洪。穿透蔷薇股份股权结构,林治洪直接持股40%的宁波华山君德投资控股蔷薇股份;此外,中民投、信发集团、巨人网络(002558.SZ)等是蔷薇股份的股东。
图片来源:天眼查
不等调查结果出炉,2022年1月4日上午,田中精机突然停牌并宣布,公司控股股东、实际控制人竹田享司、竹田周司正在筹划向上海翡垚投资管理有限公司(简称“上海翡垚投资”)转让公司控股权的事项。
随后,田中精机公布,竹田享司、竹田周司及公司大股东藤野康成、钱承林将其合法持有的上市公司7.83%的10,215,443股无限售条件、流通股份,以23元/股的价格转让给上海翡垚投资;其中竹田享司转让2,608,080股,竹田周司转让2,608,080股,藤野康成转让2,391,203股,钱承林转让2,608,080股。
除了转让股份外,在表决权委托条件成就时,竹田享司、竹田周司还准备将其合法持有的田中精机24.72%的32,237,178股股份对应的表决权全权委托给上海翡垚投资行使;在表决权放弃条件成就时,竹田享司、竹田周司永久且不可撤销地放弃其所持上市公司的27,021,018股股份的表决权。
此外,为了进一步保证控股权变更,田中精机于2022年1月6日撤回了此前预计募资3.5亿元的定增计划,同时发布新的定增预案称,拟向上海翡垚投资非公开发行股票数量不超过29,694,492股,募资额不超过4.7亿元,扣除发行费用后拟全部用于补充流动资金。此次认购价格为15.82元/股,较2022年1月10日收盘的22.13元/股折价约28.51%。
上述交易完成后,上海翡垚投资合计持有的田中精机的股份比例将不低于24.93%。据此,该公司控股股东变更为上海翡垚投资,实际控制人变更为肖永富。
图片来源:2022年1月6日定增预案
据介绍,本次交易对方上海翡垚投资成立于2014年,主要从事股权投资管理业务,其实控人是持股90%的肖永富。2020年,该公司资产合计是80.33万元,负债合计是12.31万元,去年无营业收入,净利润是-31.91万元。
据悉,上海翡垚投资承诺以自有资金或合法筹集的资金作为认购公司本次发行的资金来源,且本次认购资金不存在直接或间接来源于公司及其关联方的情形,不存在任何争议及潜在纠纷,不存在通过协议、信托或任何其他方式为他人代为持有的情形,不存在分级收益等结构化安排,亦未采用杠杆或其他结构化的方式进行融资。
田中精机定增预案显示,上海翡垚投资将利用其产业投资资源,与公司建立全面、深入的战略合作关系,支持和推动公司业务发展。
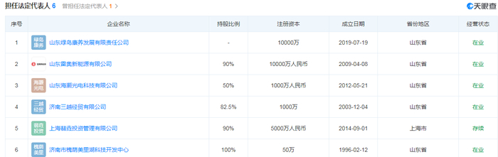
界面新闻查询天眼查获悉,肖永富实际控制了14家公司,其中在山东绿岛康养发展有限责任公司(简称“山东绿岛康养”)、山东雷奥新能源有限公司(简称“山东雷奥新能源”)、山东海灏光电科技有限公司(简称“山东海灏光电”)、济南三越经贸有限公司(简称“济南三越”)、济南市槐荫美里湖科技开发中心及上海翡垚投资的法定代表人或董事长等职务。
其中,就公开信息来看,山东雷奥新能源是肖永富实际控制的最主要资产。该公司于2009年4月成立,法定代表人肖永富,注册资本1亿元。官网介绍,该公司占地面积近千亩,总投资10亿元以上,现有职工450余人,主要建有2座5.5米捣固焦炉,同时配套备煤、化产回收、煤气净化、污水处理、地面除尘站等环保工艺设施;年产焦炭100万吨,焦油5万吨,粗苯2万吨,外供煤气2亿立方,年可实现产值20亿元以上,上缴税收过亿元。2021年11月17日,山东雷奥新能源控股的山东佑富实业集团有限公司注册成立,业务涵盖煤炭及制品销售、燃气经营、工程管理、仓储、投资、房地产等各类业务,下属10多个公司。
天眼查显示,2016年,山东雷奥新能源曾因“其他有履行能力而拒不履行生效法律文书确定义务”,数次被最高人民法院公示为失信公司。此外,该公司曾因生产安全事故应急救援类、重大危险源管理类及安全设备使用维护及防护装备配备类违法等,于2016年至2018年数次遭当地监管部门行政处罚。
济南三越则早在2003年就成立,注册资本为1000万元,经营范围包括煤炭及制品销售;石油制品销售(不含危险化学品);汽车零配件批发;五金产品批发;建筑材料销售;金属矿石销售;办公用品销售;润滑油销售;日用品销售;电气机械设备销售;电子产品销售;金属制品销售;建筑工程用机械销售等等。
山东海灏光电成立于2012年5月,注册资本为1000万元,经营范围包括LED照明灯具的研发、制造、设计、销售及与LED相关配套工程的安装施工。此外,肖永富实际控制的山东绿岛康养成立于2019年7月,注册资本为1亿元,经营范围包括老年人养护服务;社会看护与帮助服务;房地产开发经营;房地产中介服务;物业管理;房屋租赁;停车场管理;营养健康咨询;贸易咨询服务;企业管理咨询;企业营销策划;会展服务;餐饮服务;家政服务;保健食品技术开发、销售。
在田中精机控股权转让事宜披露后,2022年1月7日,深交所下发关注函,要求田中精机结合此次控制权变更方式、上海翡垚投资及股东控制企业的经营范围,补充说明上海翡垚投资、肖永富成为上市公司控股股东、实际控制人后,未来12个月内对公司资产、业务、人员、组织架构、公司章程等进行调整的计划以及对公司生产经营、投资计划等可能产生的影响,并充分提示相关风险。
同时,关注函要求田中精机结合上海翡垚投资注册资本、成立日期、主要股东、前次控制权变更以及近二年及一期收入、利润情况,并结合肖永富与其一致行动人个人资产、负债情况,补充披露本次股权转让所涉及资金的来源、筹集资金方式等。
深交所还要求田中精机补充说明控股股东、实际控制人及其他交易对方筹划本次事项的背景、过程、目的及对公司生产经营的具体影响,上海翡垚投资、肖永富是否为公司控股股东、实际控制人或董事、监事、高级管理人员或蔷薇资本的一致行动人或存在其他关联关系。
需要注意的是,田中精机此前《股权转让协议》中约定竹田享司、竹田周司、藤野康成、钱承林在协议签署日至股份过户日期间性“应当尽量促使上市公司不得进行任何形式的利润分配”。就此,深交所要求田中精机说明这一约定的原因及合理,是否违反法律法规、规章、规范性文件以及相关规定,是否存在损害中小投资者利益的情形。

