新浪财经

泛海控股减持民生证券引争议,神秘公司入局?

市场资讯 2022.01.06 17:40

来源:翠鸟资本

民生证券的“归属”,已置于聚光灯下。

“泛海系”机构一度在中国资本市场呼风唤雨,但近年屡次遇到逆风。

上市公司泛海控股(000046.SZ)目前股价跌至2元附近,正在一步步迈向仙股阵营。

日前,卢志强掌控的这家公司披露,不再将民生证券纳入公司合并财务报表的合并范围。

然而,泛海控股并未清盘离场,而是对民生证券持股比例下降为31.03%,并称民生证券董事会的股东代表董事席位已低于半数。

这一表态十分微妙。

那么,问题来了,民生证券究竟属于谁的?神秘的接盘者什么背景?

牛市旗手的“赚钱生意”

民生证券成立于1986年,注册资本为114.56亿元,注册地为上海。

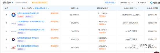
民生证券股权结构颇为复杂,泛海控股转让之前,至少有9家机构进入这家券商的股东行列。

如下图,泛海控股此前占据大股东的绝对位置,最终受益股份超过70%。

自2020年9月起,泛海控股便开始一步步转让手中的股份。

随着中国资本市场不断纵深改革,作为“牛市旗手”的券商自然从中获益,也是各大资方眼中的“肥肉”。

此外,民生证券在泛海控股的财务版图中,也占有相当的比重。

首先看2021年半年报,民生证券的营业利润、净利润指标位居所有子公司之首。

据泛海控股公告:民生证券2020年归母净资产占上市公司最近一个会计年度经审计的相关财务数据的比例超过50%。

再看2019年,民生证券的净利润比旗下两家资本投资子公司的财务数据,漂亮很多。

简单地说,民生证券是一只会下“金蛋”的鸡。

一年内连续“减仓”

梳理公告发现,2020年9月1日,泛海控股开始转让民生证券股份,并引进战略投资者。

当时,泛海控股向上海张江(集团)有限公司、上海张江高科技园区开发股份有限公司等22家投资者转让民生证券股份,持股比例由71.64%缩减至44.52%。

需要注意的是,这次转让后,泛海控股并未失去对民生证券的控制权。

转折点出现在另一家战略投资者身上――上海沣泉峪企业管理有限公司(下称“上海沣泉峪”)。

2021年初,泛海控股向上海沣泉峪转让民生证券约13.49%股份,且已于7月份完成股份交割,当时作价约23.64亿元。

这场交割结束之时,泛海控股对民生证券持股比例进一步下降至31.03%。

半年报中,泛海控股还称公司正在积极推进民生信托和亚太财险的其他引战工作,并有序推进公司旗下类金融牌照股权合作或转让的对接洽谈工作。

可以说,这场围绕民生证券等多家金融子公司的引战工作,最终目的是获取增量资金。

接盘者何许身份?

然而,接盘的上海沣泉峪身份相当“诡异”。

据天眼查,三个股东为自然人,即杨延良、杨振兴、杨振宇,通过上海沣泉峪控股三家公司,皆为交通运输类公司,即上海沣泉峪航运有限公司、上海沣泉峪船舶管理有限公司和海南新春航空有限公司。

也就是说,一家交运类的公司,成为了民生证券的战略投资者。

奇怪的是,上海沣泉峪控股的三家公司均成立于2021年8月份之后。而上海沣泉峪的成立时间是2020年12月,“稍早于”正式受让泛海控股所持股份。

此外,上述的大股东杨振兴由上海沣泉峪提名成为民生证券董事。正是由此产生的董事提名,并因新增董事导致泛海控股失去民生证券控制权。

这直接引来了交易所的问询,特别提及上述交易会否构成一揽子交易,以及背后涉及的审议程序和信息披露义务的合法合规性。

可见,民生证券的“股份转移”有多扑朔迷离。

年关之时,泛海控股还在互动平台对投资者表示,受国内外政策环境、企业经营状况等多方面因素影响,在压降负债规模的前提下,公司面临一定经营压力。进一步支持公司稳健发展、满足公司临时资金需求,公司亦不排除争取控股股东及其控股子公司的财务资助支持。

关键问题来了:寻找资金的过程中,一家“名不见经传”的个人系公司冒出来,究竟是利益输送,还是真正的引入战投?泛海控股需要认真回答。

1月5日,泛海控股发布关于累计诉讼、仲裁情况的公告。

截至公告披露日,除已披露过的诉讼、仲裁案件外,泛海控股及控股子公司连续十二个月内累计诉讼、仲裁涉案金额合计16.7亿元,占最近一期经审计净资产166亿元元的10.08%。

其中泛海控股及控股子公司作为被起诉方涉及的诉讼、仲裁合计涉案金额为16.5亿元,占总金额的98.72%。

加载中...