新浪财经

出让金破3000亿,明年杭州的房价已一清二楚!最全板块限价图请收好

媒体滚动 2021.12.24 08:11

这意味着,“宝地”们各有归属,明年可以摇的新房版图已经基本明确,加上新房限价清晰(2019年下半年起,杭州宅地出让施行“限地价、限房价”政策,既设置地价上限,还规定未来商品房销售限价),如果打算明年买房,那么可以准备起来了。

钱江晚报·小时新闻记者为大家画好了杭州最新各区限价地图,并且整理了5月、10月、12月三批次出让的各区待售项目,赶紧收藏吧。

上城区:

最低门槛丁桥,精装限价32900元/㎡

老上城区,只有望江新城有新房供应,精装限价69800元/㎡,具体到楼盘就只有两个,港企新世界的望江项目、滨江的望江未来社区项目,而且何时开盘是未知数。

今年初接纳了江干区之后,上城区的新房价格梯度丰满了,可选余地大了不少。

最低限价在“2”字头的长睦,然而无新房源可售,因此最低门槛还是丁桥。

本土老牌房企坤和刚刚在12月22日摇到丁桥新宅地,北面一路之隔就是龙湖丁桥天街,精装限价已微涨至32900元/㎡。目前,丁桥在售新盘仅剩招商德信·花芸春境,拿地时间在今年1月15日,精装限价仍为31500元/㎡,已于今年11月首开,中签率14.38%。

此外,牛田、笕桥板块的限价也在第三批宅地出让时有所上调,目前精装限价44400元/㎡、42640元/㎡,分别上涨1840元/㎡、2000元/㎡。

位于艮北新城的牛田,上一次推地同样在今年1月,即已在11月清盘的地铁绿城·潮听明月,精装限价42400元/㎡,两次开盘中签率分别11%、18%。

拱墅区:

改善重点关注桥西、文晖、申花

拱墅区近年来一直是主城范围的供地大户,12月的第三批出让更是一口气推出了12宗涉宅地块。

改善们可以重点关注的分别是由“锦鲤”德信摇中的桥西宝地,精装限价51440元/㎡;以及临安房企地上集团命中的庆隆、文晖宝地,分别精装限价55000元/㎡、51700元/㎡,其中庆隆板块的限价相比此前已微涨1000元/㎡。值得注意的是,地上集团此前从未在杭州主城区开发过项目,最终呈现的作品有待市场检验。

从表格上可以看到,运河新城的新房限价已上调至40000元/㎡。如此一来,10月拿地的中海运河新城项目,限价仍为38000元/㎡,妥妥又是一个红盘“种子选手”。

西湖区:

三墩北、转塘新房,大户型唱主角

从新房限价来看,西湖区显然是首屈一指的低门槛。

今年的三次集中供地,西湖区共出让了5宗涉宅地块,新房最贵的在三墩,单价也只是“3”字头,精装限价36800元/㎡。

不过,限价虽然低,刚需们想买依然不轻松。据记者了解,今年5月首批出让的三个西湖区项目,都已定位为纯大户型改善产品。

其中,祥生双浦项目,主力户型预计156㎡、215㎡;新希望转塘项目(案名:新希望·锦翠栖源府),仅102套房源,主力户型清一色245㎡;融信三墩北项目(案名:融信·如澜邸)则全盘设计了130-160㎡户型。

滨江区:

改善双黄蛋来了,精装限价51500元/㎡

想要在滨江改善的购房者们这两天一定很高兴,两大本土品质房企摇到了襄七房、西兴宝地,精装限价均为5.15万/㎡,直接预订了明年的滨江区“红盘”席位。

目前,整个滨江区在售的改善新盘就只剩龙湖滨康天曜城,限价同样为5.15万/㎡,今年的前三次中签率分别8.41%、36.3%、12.49%。

此外,滨江区的另一供地主力板块在浦沿,5月首批出让时由花样年、金翰拿地,精装限价38000元/㎡,目前仍无开盘消息。浦沿板块目前在售的荣盛·江荣府,限价同样3.8万/㎡,今年9月首开时流摇,已于近日刚领出最新一批预售证。

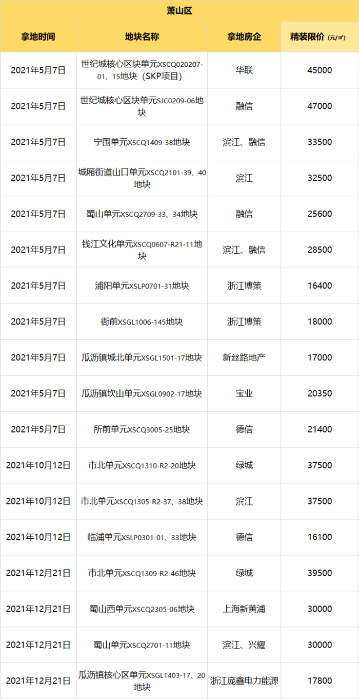
萧山区:

重点关注刚开工的SKP,限价4.5万/㎡

今年5月由华联拿下的杭州SKP项目,紧邻地铁2号线盈丰路站,刚刚于12月22日正式开工,这是钱江南岸首座高端综合体,而其住宅部分精装限价45000元/㎡。

同样在钱江世纪城板块的融信项目,临近红盘创世纪,精装限价4.7万/㎡,也是毋庸置疑的未来“红盘”。

板块内的每次开盘均备受瞩目。今年1月,精装限价4.7万/㎡的滨江·君品最后一次加推,416套房源,吸引了9746组报名,中签率低至4.27%,触发限售5年;精装限价4.5万/㎡的滨江·星翠澜庭,在今年8月首开,396套房源一把清盘,入围摇号3534组,中签率11.21%。

限价变化上,萧山区在第三批出让的四宗宅地,精装限价均有所上调,市北板块涨幅较高,从原先的37500元/㎡,上调至39500元/㎡。因此,10月拿地的滨江、绿城项目可以重点关注,限价更香。

南部卧城的精装限价虽然涨了200元/㎡,但房价也正式突破至3万元/㎡。

余杭区:

可关注绿汀路万象城,限价36100元/㎡

余杭区今年三批集中供应推出的五宗地块,仅绿城的老余杭地块为纯宅地项目,精装限价30500元/㎡。

其余四宗均为综合体地块,最让人期待的有两宗,分别是未来科技城的华润绿汀路三站换乘项目、以及龙湖&省交投刚刚拿下的云城杭腾未来社区项目,精装限价均为36100元/㎡。前者已确定打造未来科技城的万象城,后者则是高起点、高标准打造的云城首宗涉宅地块,同时将迎来一座龙湖天街。

临平区:

东湖新城、崇贤限价均有所微涨

作为刚需阵地的临平区,新房摇号难度并不小,尤其是东湖新城、崇贤新城。

第三批出让中,崇贤板块出现了新的限价,由圣奥置业摇到的崇贤项目,由于地块容积率仅1.5,适合打造低密度改善产品,精装限价27720元/㎡;赞成项目的容积率为2,精装限价23600元/㎡,相比此前的23000元/㎡,微涨600元/㎡。

因为地铁四期的利好,崇贤板块在今年初的热度颇高。今年3月,崇贤多个新盘陆续加推,精装限价23000元/㎡,中签率清一色低于10%,宸瀚里6.43%,澜仕里7.48%,星合映2.3%。

钱塘区:

大江东新房限价突破2万元/㎡

第三批集中出让时,滨江&兴耀联手底价拿下的一宗大江东宅地,未来精装限价21300元/㎡,相比此前的19800元/㎡,涨幅7.58%。

作为一个“青壮年”板块,大江东备受争议,也利好不断。今年9月19日,大江东天街开业;9月30日,钱塘区产城融合核心区管理办公室揭牌,24.5平方公里的“江海之城”呼之欲出,未来投资不低于300亿元。

但“2”字头的大江东新房,是否仍然吃香,还需市场检验。

钱塘区另一供地主力就在下沙,目前已经细分出精装限价26200元/㎡的大学城北、30000元/㎡的开发区单元、37500元/㎡的金沙湖,以及27500元/㎡的元成单元。

其中,限价3万元/㎡的融创开发区单元项目,即融创正荣·杭曜之城,本月刚刚首开,337套房源,335组报名,无需摇号。

富阳区、临安区:

新房限价无变化

注:表格内均为2021年三批集中出让的涉宅地块

本文为钱江晚报新闻资讯客户端“小时新闻”原创作品,未经许可,禁止转载、复制、摘编、改写及进行网络传播等一切作品版权使用行为,否则本客户端将循司法途径追究侵权人的法律责任,包括但不限于要求删除稿件、赔礼道歉、赔偿本文采编成本及维权支出等。侵权举报、版权合作请联系:qbwl@8531.cn

加载中...