新浪财经

宝马发明全新后轮转向系统 转向角度更大并减少后部组件空间限制

中国质量新闻网

关注

中国质量新闻网讯(刘嘉运)近日,巴伐利亚发动机制造厂股份有限公司(宝马)向美国专利和商标局申请了一项新发明,该发明为一套新的后轮转向系统,系统可使后轮转向角度高达10度,并且不增加后部组件的空间限制。

后轮转向技术并非新鲜事物,像凯迪拉克CT6、奔驰S级、奥迪A8L、保时捷卡宴、高合HiPhi X等车型均采用了后轮转向系统,该系统可以使车辆在低速时转向减小转弯半径更加灵活,高速过弯时更加稳定,提高车辆操控性。

(奔驰S级后轮转向 图片来自奔驰)

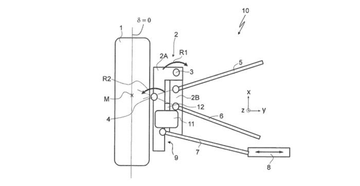
该品牌认为,现有的后轮转向系统过于笨重,大多数系统使用转向横拉杆来调整每个后轮的束角,而在这一空间内,车辆还需要容纳副车架、车轴,以及差速器和侧轴等部件。宝马表示,现有设计使转向角度具有局限性,最大角度仅为5度。为了解决这一问题,宝马在每个轮毂上额外增加轮架,每个轮架的下部配有通过槽形导轨控制的致动器,从而实现更大的转向角度。

这项发明若能顺利投入量产,将使宝马所有搭载该系统的车型受益。例如在宝马M4这样的高性能车型上,该系统可大幅减少虚拟轴距,明显提高急转弯的操控能力,同时改善高速稳定性。对于宝马7系这样的大型车辆,在拥挤的市区停起车来并不容易,该系统可大幅减少车辆低速时的转弯半径,驾驶起来会更加轻松。

加载中...