雷军创投圈又添新成员!注册资本11亿,小米新成立私募股权基金公司,或为“造车”而生?
时隔7个月,实控人雷军、由小米科技100%控股的小米私募股权基金管理有限公司终于拿到了官方认证的正式“入场券”。
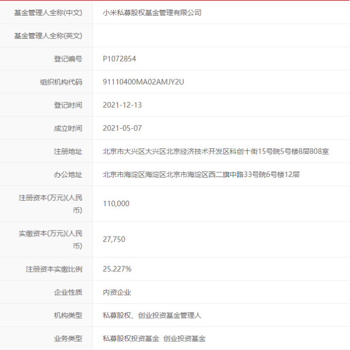
近日,中国证券投资基金业协会公示的信息显示,小米私募股权基金管理有限公司完成私募管理人登记,注册资本达11亿元。这也就意味着,小米私募股权基金将进入发行运作阶段,其投资动向值得期待。
实际上,雷军在创投圈混迹已久,他旗下的小米系基金是国内创投市场上不可忽视的重要角色。仅成立十年的顺为资本管理了总计50亿美金美元基金以及50亿人民币基金,公开投资事件近600件,涉及互联网、互联网+、智能硬件、智能制造、深科技、农村互联网等多个领域。
注册资本11亿,小米新成立创投公司
近几年,雷军通过顺为资本、湖北小米长江产业基金、小米集团以及他本人,在创投界可谓风生水起,期间投资了多家独角兽,也收获了多家IPO上市公司。但这还不够,今年5月,雷军又成立了新的私募股权基金——小米私募股权基金管理有限公司,并且该基金于近日完成私募管理人登记。
中国证券投资基金业协会公示的信息显示,小米私募股权基金管理有限公司成立于2021年5月7日,登记时间为2021年12月13日,注册资金11亿元,实缴资本2.775亿元,股东是小米科技有限责任公司,全资100%控股,穿透股权结构,背后的实际控制人是雷军。

该基金的法定代表人、总经理为邢嵩,风控合规负责人为魏然颖,均是北京小米移动软件有限公司从市场挖来的资深人士。
中国证券投资基金业协会公示的工作履历信息显示,在加入小米之前,邢嵩曾在Chief China Fund和高能天汇创业投资有限公司的基金部和管理部分别担任合伙人助理和CEO,具备相当丰富的一级市场创业投资的实践及管理经验。

该基金的法定代表人、总经理为邢嵩,风控合规负责人为魏然颖,均是北京小米移动软件有限公司从市场挖来的资深人士。
中国证券投资基金业协会公示的工作履历信息显示,在加入小米之前,邢嵩曾在Chief China Fund和高能天汇创业投资有限公司的基金部和管理部分别担任合伙人助理和CEO,具备相当丰富的一级市场创业投资的实践及管理经验。
2019年8月,邢嵩进入北京小米移动软件有限公司,担任产业投资部董事总经理,随后在2021年9月,被委任为小米私募股权基金管理有限公司的法定代表人、总经理和执行董事。
与邢嵩的工作履历类似,该基金风控合规负责人魏然颖在加入小米之前,同样也有着长时间的专业积累。中国证券投资基金业协会公示的工作履历信息显示,魏然颖曾在北京舟之同律师事务所担任律师,随后相继在深圳人合资本和丝路华创两家私募基金风控法务部担任咨询顾问和法务经理一职。
2018年5月,魏然颖早邢嵩一年加入了雷军的北京小米移动软件有限公司,担任法务部投资法务总监,并于今年8月被委任为小米私募合规风控部负责人。
小米私募的成立似乎又是一个里程碑,完成备案后,小米私募将正式进入发行运作阶段,接下来的投资动向也值得期待。
值得一提的是,近日雷军接连退出多家小米关联公司职务,引起业界的关注。对此,小米公关总经理王化曾于12月14日在微博回应称是正常变更。他表示,雷军今年的精力主要放在了造车相关的事务上面,其他事情能不管的就一定不管。
那么,此次雷军成立新的私募股权基金,又将聚焦哪些领域?不少业内人士猜测,雷军自今年年初宣布造车后动作不断,为稳定产业链和供应链,小米私募基金或专为“造车”设立。
雷军混迹创投圈已久
事实上,雷军很早就开始混迹创投圈,也很早就取得了基金从业资格,旗下有多家备案的私募基金管理人,包括顺为资本、小米长江产业投资基金和金星创投等。
其中,顺为资本成立时间最早,据企查查资料显示,顺为资本成立于2011年,出资人来自于国际顶级投资机构,包括国际知名主权基金、家族基金、FOF(基金中的基金)及大学基金会等。顺为资本重点关注互联网、移动互联网、高科技行业以及互联网与其他行业结合所带来的变革,主要投资于初创期及成长期的优质创业公司。
企查查数据显示,顺为资本自成立以来,公开的投资事件有580件,涉及公司407家。今年以来,顺为资本还在不断加码投资,仅12月份以来就参与了8家公司融资,包括ASINKING领星、洲瓴医疗、秋田满满、LingoAce、挚听、简单云、蔚领时代、CertiK等。
据了解,在过去的十年中,顺为资本管理了总计50亿美金美元基金以及50亿人民币基金,涉及互联网、互联网+、智能硬件、智能制造、深科技、农村互联网等多个领域。
2013年,小米成立了天津金星创业投资有限公司,注册资本达到24.77亿元,投资领域包括电子、科技、互联网、移动互联网、技术服务、传媒、广告、消费品制造、消费服务、培训教育、医疗、传统制造、能源等。据企查查数据显示,天津金星创业投资有限公司对外投资了51家公司。
相比顺为资本和金星创业,小米长江产业基金成立时间明显较晚,2017年该基金才成立,但该基金成立后,在半导体领域频繁出手,投资了多家半导体公司,包括灿芯半导体、比亚迪半导体、芯原微电子等众多知名公司。
实际上,在上市公司前十大股东或流动股股东中,小米系基金也是有迹可循。据证券时报记者梳理,小米科技(武汉)有限公司出现在激智科技、东易日盛、智云股份等公司三季报前十大股东名单中,其中激智科技持仓市值最多。

湖北小米长江产业投资基金管理有限公司则出现在多家科技公司三季报前十大股东名单中,包括芯原股份、恒玄科技、精测电子、方邦股份等,其中湖北小米长江产业投资基金管理有限公司持有芯原股份市值最多,达18.35亿元。

编辑:万健祎