恒丰银行资产质量面临大考:股权屡遭流拍 不良率高于同业水平
中国科技投资
重提上市计划后,恒丰银行的股权及资产质量问题仍待解决
近日,阿里法拍网显示,恒丰银行股份有限公司(以下简称“恒丰银行”)两笔合计4.68亿股权将分别于11月10日、22日拍卖,起拍总金额约为4.65亿元。据悉,上述两笔股权均来自法院查封冻结的资产。历史拍卖记录显示,恒丰银行去年亦有两笔股权拍卖均以流拍告终,总金额合计1.14亿元。
恒丰银行是目前12家全国性股份制商业银行中,尚未上市的两家银行之一,其2018年不良贷款率高达28.44%,2019年降至3.38%。2020年末,恒丰银行不良贷款余额为148.35亿元,不良贷款率为2.67%。对比来看,商业银行同期不良贷款率的平均水平是1.84%,恒丰银行不良贷款率仍处于同业较高水平。
股权遭流拍
11月10日-11日,北京市第三中级人民法院将在阿里拍卖平台上对北京中伍恒利投资发展有限公司(以下简称“北京中伍恒利”)持有的恒丰银行2.93亿股权进行拍卖。该笔股权评估价约为3.65亿元,起拍价约为2.92亿元,折合每股起拍价为0.99元。而根据恒丰银行2020年年报显示,该行年末每股净资产仅为0.81元。截至发稿,此次拍卖尚无人报名,但有1081次围观、14人设置提醒。另外,11月22日,四川省资阳市中级人民法院也将对恒丰银行1.75亿股权进行司法拍卖,起拍价为1.74亿元。
*待拍卖的股权,截图自阿里拍卖司法网
历史上恒丰银行股权流拍不在少数,拍卖记录显示,2020年6月,成都门里投资有限公司(以下简称“成都门里投资”)持有恒丰银行1.36亿股权被司法拍卖,最终遭遇流拍。2020年7月,济宁中油石化有限公司(以下简称“济宁中石化”)拍卖持有的恒丰银行1000万股权,也以流拍告终。今年9月,济宁中石化因金融借款合同纠纷被法院列为被执行人,其持有的恒丰银行股权已遭冻结。
另外,2014年,北京中伍恒利和成都门里投资发生融资违约,恒丰银行作为融资担保人,不得不按约定买入上述两家公司投资的信托计划和资管计划本金和利息共计39.56亿余元。据悉,北京中伍恒利和成都门里投资所持有恒丰银行股权已被全部抵押给恒丰银行。两家公司也被法院列为被执行人,法院将其股权进行拍卖。截至目前,上述两家公司持有的股权尚未成功拍卖。
中国人民大学商学院教授孟庆斌向《中国科技投资》记者表示,近些年来,民营资本对中小银行的股权参与度降低,主要有两方面的因素:一是中小银行存在一定的坏账风险,甚至存在一些隐藏的业绩暴雷风险;二是银行的利差收入越来越少,投资者对中小银行盈利能力有所担忧,“尤其是当大型银行都转向理财收益时,中小银行依然是过着靠利差收入过日子的模式,已无法取得较高的盈利水平,无法达到投资者的盈利预期。”
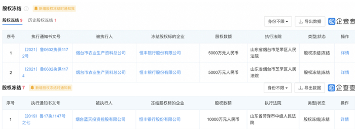
企查查数据显示,在恒丰银行前十大股东中,持股比例均为5%的两大股东烟台市农业生产资料总公司、烟台蓝天投资控股有限公司均被法院列为被执行人。同时,上述两大股东持有恒丰银行的股权全部遭冻结,占该行总股份的10%。
*两大股东股权均遭到冻结,截图自企查查
据《商业银行股权管理暂行办法》相关规定,商业银行主要股东及其控股股东和实际控制人,不得存在被列为相关部门失信联合惩戒对象,因违法违规行为被金融监管部门或政府有关部门查处、造成恶劣影响的情形。
不良贷款率高企
2018-2020年,恒丰银行资产总额分别为1.05万亿元、1.03万亿元、1.11万亿元,2020年资产总额较2019年同期同比增长8.3%。除此之外,2020年恒丰银行营业收入为210.28亿元,同比增长52.79%;净利润为52.1亿元,同比增长703.33%。2017年底,恒丰银行经历改革重组工作后,经营发展逐步走入正轨,但如今仍面临着较高的不良率水平。
财报数据显示,2017-2019年,恒丰银行不良贷款率分别为1.8%、28.44%、3.38%;拨备覆盖率分别为241.6%、54.7%、120.83%。经历两任掌门人的违规违法后,恒丰银行资产质量出现恶化,该行2018年的不良贷款余额高达1635.61亿元,不良贷款率高达28.44%。2019年,恒丰银行与山东省资管签订资产转让合同,向其剥离1439亿元不良资产后,压降不良贷款率至3.38%。
*恒丰银行近年来资产质量状况,根据该行年报数据制图
截至2020年末,恒丰银行不良贷款余额为148.35亿元,不良贷款率为2.67%,拨备覆盖率为150.37%。银保监会官网公布的数据显示,截至2020年四季度,我国商业银行不良贷款率平均水平为1.84%,拨备覆盖率平均水平为184.5%。对比来看,恒丰银行不良贷款率仍偏高,拨备覆盖率也未达到行业平均水平。
目前,全国12家股份制商业银行中另一家未实现IPO的银行为广发银行。年报数据显示,广发银行2018-2020年的不良贷款率分别为1.45%、1.55%、1.55%;拨备覆盖率分别为151.06%、173.41%、178.32%。对比来看,恒丰银行近三年的不良贷款率均高于广发银行,拨备覆盖率均低于广发银行。
*恒丰银行与广发银行不良贷款率对比情况,根据银行年报数据制图
光大银行金融市场部分析师周茂华向《中国科技投资》记者表示,一般来说,部分银行不良贷款过高,意味着银行面临较大信用风险,经营缺乏稳定性,也一定程度反映其经营能力不足。同时,处置不良资产需要消耗资本金和利润,不良贷款处置压力较大将削弱银行的盈利水平。市场给予这部分银行的信用评级一般不高,投资者风险偏好降低,其要求的风险溢价更高,融资难度相对大。
周茂华认为,“如果部分银行长期面临不良贷款过高,势必影响到银行的流动性管理、内部人才管理,业务开展等方面;不良贷款处置需要消耗资本金和利润,则直接影响资产端业务扩张”。
今年以来,恒丰银行先后获批筹建私行部、资金运营中心、理财子公司,有意向零售业务加大发展力度。而据2020年年报显示,恒丰银行公司类贷款和垫款金额为4611.27亿元,占贷款总额83.1%;个人类贷款和垫款金额为628.48亿元,占总贷款的11.33%。恒丰银行目前个人类贷款占比不足两成,距离“做大零售”的战略仍有较大差距。
针对恒丰银行股权拍卖及不良率较高等问题,记者致函恒丰银行,截至发稿未获回复。