新浪财经

霸气!比亚迪承包“海军”,战列舰、巡洋舰、驱逐舰、登陆舰全申请了,快要发大招?

市场资讯 2021.10.09 17:45
日k线图

日k线图

来源 中国证券报 

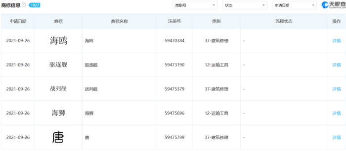
10月9日,中证君从天眼查获悉,比亚迪日前申请注册了军舰系列商标,包括“巡洋舰”“护卫舰”“登陆舰”“驱逐舰”“战列舰”等商标,国际分类涉及运输工具、建筑修理,目前商标状态均为申请中。

虽然目前关于新商标的最终用途还不确定,但如果是为车辆命名的话,它将成为比亚迪继王朝系列、海洋系列之后的又一大产品序列。

网友热议这一消息。有网友称,之前其他车企产品用过“陆地巡洋舰”,很霸气,比亚迪沿着这个思路可谓顺理成章。有人畅想:长城汽车承包了“陆军”系列商标,比亚迪如果承包“海军”,未来会不会有车企承包“空军”?

军舰商标有望用于新车型?

天眼查显示,比亚迪在9月26日批量申请了多个商标。关于军舰系列商标是否用于新车规划,比亚迪尚未透露任何信息。

今年6月,比亚迪方面曾表示,正在打造的高端品牌车型售价区间预计为50-80万元,计划年内第四季度发布。据悉,该品牌将是全新的独立品牌,不悬挂比亚迪LOGO,并配备独立的团队和销售网络。

有网友猜测,结合此前比亚迪将于年底发布高端系列的消息来看,比亚迪新注册申请的军舰系列可能是高端产品序列的命名。

值得关注的是,除了上述军舰系列外,比亚迪此次申请的商标中还有海鸥、海狮等“海洋”系列商标。

比亚迪部分商标申请情况

近年来,随着国内自主品牌汽车的崛起,各大厂商对于车辆命名也是推陈出新。以长城汽车为例,其通过票选、征集等方式提升关注度,先后推出“欧拉猫”系列、“大狗”系列以及“坦克”系列。

早在数年前,比亚迪就推出了“王朝”序列命名方式,至今已经陆续推出“秦、汉、唐、宋、元”等车型。

今年,比亚迪全新“海洋”系列车型也陆续面世,比亚迪海豚于今年8月份上市,此外,其在“海洋”系列还申请注册了“鲸鱼、海豹、鲨鱼、海鸥、旗鱼”等品牌。

7亿元拿地

持续扩张产能

近年来,比亚迪乘用车的市场销量增长迅猛。官方数据显示,比亚迪乘用车9月全系销售79037辆,同比增长93.2%,环比增长16.9%;其中新能源乘用车销售70022辆,同比增长276.4%,三季度累计销量破20万。

而随着销量大增,比亚迪的产能也亟待扩张。中证君注意到,比亚迪在今年年中交流会上透露,今年累计订单量可能达90万辆,但公司今年的交付能力只能达到70万至75万辆,目前在手未交付订单达16万辆将顺延到明年交付。基于目前的基本面,比亚迪认为,明年汽车交付量有望达到150万辆。

在产能扩张方面,比亚迪近期动作频频。公开资料显示,10月9日,郑州比亚迪汽车有限公司7.27亿元竞得郑州4宗约4104亩工业用地。

据天眼查显示,郑州比亚迪汽车有限公司于9月22日成立,法定代表人为何志奇,注册资本5000万元。股权穿透可见,郑州比亚迪汽车有限公司为比亚迪汽车工业有限公司全资子公司。

郑州比亚迪汽车有限公司的经营范围包括:汽车零部件及配件制造、新能源汽车整车销售、新能源汽车电附件销售、汽车零部件研发、汽车零配件零售、汽车零配件批发、普通货物仓储服务(不含危险化学品等需许可审批的项目)等。

除了比亚迪郑州公司外,今年7月12日,合肥比亚迪成立。据合肥市长丰县发改委项目备案信息显示,比亚迪合肥项目已完成备案,此次完成备案的项目总投资为60亿元,年产能40万辆, 未来主要从事新能源电池电芯、模组及相关配套产业等核心产品的制造,项目将于8月底开工建设。

加载中...