新浪财经

回顾腾讯回购史:六次神抄底赚数十倍,这次能重演吗

财经自媒体

关注

原标题:回顾腾讯回购史:六次神抄底赚数十倍,这次能重演吗 来源:老虎证券

2021年,港股股王腾讯的股价从最高点的773.4港元,一路下滑至目前的425.4港元,跌幅达45%!市盈率也跌到了17倍,位于历史低点。

显然,腾讯意识到了“信心比黄金更加宝贵”,于近日连续两次增持:8月19日回购18万股,涉资7696.5138万港元;8月20日回购24万股,涉资约1.017亿港元。

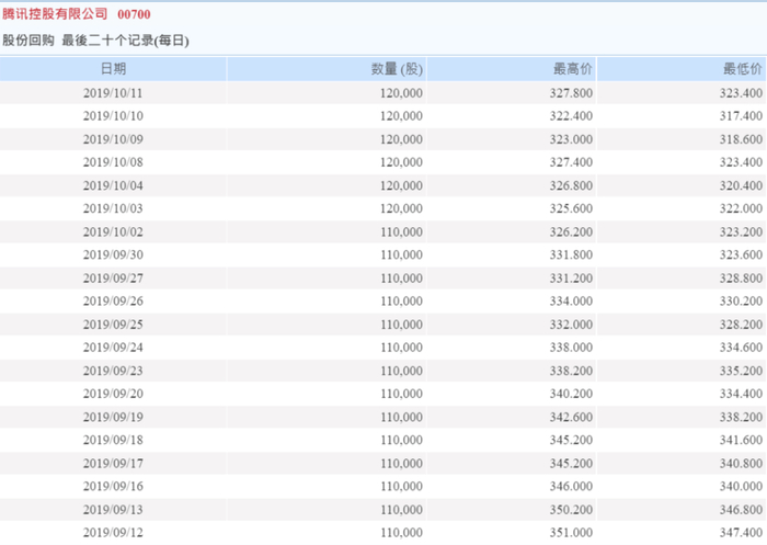
而腾讯的上次回购,还要回溯至2019年。

现在看,2019年9月-10月,基本也就是腾讯股价的一个阶段大底。

其实,在2004年上市后不久,腾讯就进行过金额巨大的回购,对当时的股价形成了支撑。后来,由于公司股价持续的上涨,早期的这些回购获得了数以百倍的回报。之后,次贷危机、3Q大战,股价下跌等重要节点上,腾讯都有大手笔回购,这批回购后来获得了数以10倍计的回报。

细数腾讯那些令人称奇的“回购时刻”

1,2005年11月24日,腾讯上市后第二年,开始了第一笔回购,一直到2006年2月份,中间进行了密集的回购,股价稳住,此后一路上扬。

2,第二次密集回购发生在2008年金融危机期间(2008年9月-2009年1月),腾讯公司开始了上市以来历时最长的持续回购计划,期间腾讯股价历经腰斩。从9月开始至次年1月的5个月期间,腾讯一共从市场上陆续进行了36次大额的回购,期间一共回购了827.3万股,涉及资金超过4亿港元。

回购计划结束后,伴随全球经济复苏及腾讯业绩飞速增长,股价也很快开始一路上扬,至2010年1月,腾讯股价已距回购价计划均价有超过3倍的涨幅。

3,2010年,「3Q大战」打响,在经历激烈的交锋之后腾讯与360进入了旷日持久的诉讼战。这场战役让腾讯遭遇了很大挫折,腾讯股价也从1月份一路下跌至6月底,跌幅30%,此后腾讯从2010年7月6日开始连续4日在市场回购了262.4万股,股价在133港元左右,共涉资3.55亿港元。

神奇的回购指标再次奏效,腾讯股价开始上扬,半年后,股价距7月回购时涨幅超7成。经此一役,腾讯调整了自己的经营策略,选择走向开放的道路。

4,2011年8-10月,从8月中旬开始,先后共发起了12次回购操作,共回购671.88万股,共涉及资金11.15亿港元,此后在2011年11月和12日腾讯还各有一次回购,此间股价跌幅超过30%。

5,2013年3月-4月,由于第三方支付和互联网金融监管越发严厉,同时腾讯的业绩增速出现了一定的回落,加上搜搜、电商业务纷纷被剥离,各种因素叠加下,腾讯股价回落,跌幅达20%。

在此期间,腾讯累计14次出手回购股份,累计回购数量664.3万股,金额达到14.36亿元,其中有9次回购金额在1亿元以上。回购计划结束后,腾讯在业绩并未出现如担忧那样下滑反而重新维持了较高的增长趋势,股价也一次开始持续上升。该次最大规模的回购成了腾讯股价此后腾飞的起点,一年后股价涨幅超过了180%。

6,时间回到2018年,不知不觉,距离腾讯上次回购已经5年过去了。2018年对于腾讯来说,同样流年不利,先是3月份腾讯第一大股东Naspers大举抛售腾讯控股股份,重要的是,这是大股东自2001年投资腾讯以来首次抛售,再加上腾讯业绩不佳,其股价从最高点475港元最低跌至250港元,跌幅高达47%,竟接近08年金融危机时的跌幅。

伴随着股价调整的是,时隔6年,腾讯组织构架大重组。9月30日,腾讯正式宣布,启动新一轮整体战略升级:调整为六大事业群。腾讯于9月7日~10月12日24个交易日内进行了24次回购,总共回购了3300余万股,涉资超10亿港元。此次回购后不久,腾讯开始触底反弹。

回购=抄底?这次跟不跟

某种意义上说,腾讯在港股的历史就是一部回购史。之前的每次回购不仅支撑了股价,回头看也都是“抄到了底”。

回购,从某种角度说明,公司看到了自家股价的价值。而归根到底,在企业基本面与盈利增长能力并未发生实质性恶化的背景下,股价下跌更多体现在投资情绪的过度释放,因为在悲观情绪极度宣泄的过程中,往往具有一定的非理性,极度悲观的投资情绪会把股票估值压到极致,但这恰恰也是价值投资者低吸的定投良机。

所以,这次,你会选择跟进吗?

加载中...