新浪财经

中融小贷增资至50亿元揭开字节跳动金融版图一角:已揽下5张牌照

财经自媒体

关注

  来源:洞见财经

作者:谢奀国 实习记者 席文

小贷行业洗牌继续。据统计,2020年11月《网络小额贷款业务管理暂行办法(征求意见稿)》发布时,注册资本不低于50亿元、即满足跨省经营资格的小贷公司仅5家。随着今年深圳市财付通网络金融小额贷款有限公司、深圳市中融小额贷款股份有限公司分别于4月、6月将注册资本增至50亿元,头部小贷公司的阵容扩至7家。

梳理关联信息可知,上述7家小贷公司大多是大型互联网平台旗下,包括蚂蚁、百度、苏宁、腾讯,以及曾声称“不做金融”的字节跳动。

实际上,自2020年以来,字节跳动收购金融牌照的速度明显加快,金融版图不断扩大。据不完全梳理,目前字节跳动在国内已拿下支付、保险经纪、网络小贷、证券投顾、商业保理等多张金融牌照,推出了“放心借”、“头号保”、“Dou分期”、抖音支付等多款产品。除网络小贷牌照含金量升级,今年6月初,字节旗下海南字跳商业保理有限公司注册资本也从3000万元变更为3亿元。多个金融板块业务扩张正蓄势待发。

不过值得注意的是,当前针对助贷、联合贷等互联网金融业务,监管正从用户个人信息保护、金融服务收费、展业范围等多方进行大力规范。字节跳动此时发力金融业务,扩张之路能否顺利?

记者注意到,就在7月19日,工信部官网发布的“关于侵害用户权益行为的APP通报”显示,抖音极速版APP涉及应用分发平台上的 APP 信息明示不到位问题,被要求在7月26日前完成整改落实工作。“逾期不整改的,将依法依规组织开展相关处置工作。”工信部表示。

继续增资,字节跳动小贷领域动作不断

根据央行数据,截至2021年3月末,全国共有小额贷款公司6841家,较2020年3月底的7458家减少617家;贷款余额8653亿元,较2020年3月底的8771亿元下降118亿元。

小贷行业的收缩或和去年11月下发的《网络小额贷款业务管理暂行办法(征求意见稿)》(以下简称“办法”)有关。上述办法对网络小贷公司的资本金、杠杆率、出资比例、授信余额等关键指标进行了规定。例如《办法》提出,经营网络小额贷款业务的小额贷款公司的注册资本不低于人民币10亿元,且为一次性实缴货币资本。跨省级行政区域经营网络小额贷款业务的小额贷款公司的注册资本不低于人民币50亿元,且为一次性实缴货币资本。

这使得多数互联网平台旗下原有的网络小贷牌照的价值直接跳水。据统计,彼时注册资本不低于50亿元、即满足跨省经营资格的小贷公司仅5家。分别为重庆市蚂蚁小微小额贷款有限公司、南宁市金通小额贷款有限公司、重庆度小满小额贷款有限公司、重庆苏宁小额贷款有限公司、中新(黑龙江)互联网小额贷款有限公司。

根据公开资料,其中南宁市金通小额贷款有限公司是吸收合并玉林市金玉小额贷款有限公司等6家广西省地方小贷公司而来。中新(黑龙江)互联网小额贷款有限公司则为中新控股旗下,或受先锋系事件影响,该公司目前已被列为异常经营状态。剩余3家小贷公司均属于大型互联网平台旗下,分别为蚂蚁、百度、苏宁。

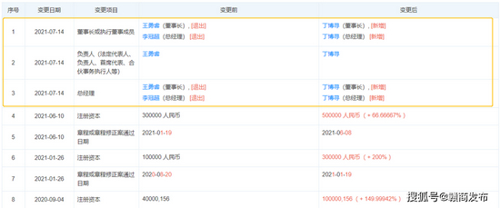
尽管是征求意见稿,记者注意到,新规发布后,不少互联网平台已开始着手应对。2020年11月4日,深圳市财付通网络金融小额贷款有限公司注册资本由10亿元增加至25亿元,在今年4月份再次增资至50亿元。近期,字节跳动旗下小贷公司也传出增资的消息。今年6月10日,深圳市中融小额贷款股份有限公司注册资本由30亿元增至约50亿元。跨区域经营网络小贷公司再添一员。

资料显示,深圳市中融小额贷款股份有限公司成立于2012年6月,初始注册资金仅4亿元。2020年该公司被字节跳动收购后,经历了连续增资。2021年1月份注册资本刚刚从10亿增至30亿,6月份再次增资至50亿元。

“持有网络小额贷牌照,意味着互联额平台可以自行开展借贷业务,而不是仅仅作为持牌金融机构的导流渠道。”行业人士向记者分析了这张牌照的重要性。

记者了解到,早在2018年7月,字节跳动旗下今日头条App就上线了一款贷款产品——“放心借”。据介绍,放心借是一款个人消费信贷服务产品,大致对标的是蚂蚁集团的“借呗”。但由于没有获得相关牌照,彼时的“放心借”更像是一个为金融机构借贷业务进行引流的平台。拿下小贷牌照后,目前“放心借”的放款方成为中融小贷及合作金融机构。

揽下5张牌照,金融版图悄然扩张中

金融业务正式成为字节跳动的一个业务分支已经是2018年,相比BAJ等大型互联网平台,字节跳动的金融版图建造起步已经比较晚了。不过自2020年以来,字节跳动收购金融牌照的速度明显加快,基于今日头条、抖音APP丰富流量生态下的金融科技帝国日益壮大。

打开今日头条APP,可以在“钱包”—“头条服务”一栏看到多个金融产品的入口,包括“放心借”、备用金、头条信用卡、股票—“海豚股票”、保险—“头号保”等。

据悉,“海豚股票”是字节跳动入局金融的最早探索产品,于2017年低调面世,原名为“纳镁股票”。通过今日头条App的宣传,2018年三季度纳镁股票的下载量曾出现一波小高峰。2019年,钠镁股票正式更名为海豚股票,并启用全新的LOGO,同时优化了操盘指标、选股策略、智能盯盘等亮点功能,主打为券商提供信息发布和跳转链接的技术服务。

同在2017年,字节跳动开始进军保险业务。2017年11月,有消息称,字节跳动已组建好保险业务团队,并且正在筹备保险业务的相关事宜。2018年6月,福建字节跳动科技有限公司认缴出资5000万元,100%持股北京华夏保险经纪有限公司,字节跳动拿下一张保险经纪牌照。2019年9月,北京华夏保险经纪有限公司旗下的保险服务品牌“头号保”平台在今日头条App上线。目前主推的有可免费领取的1000元重疾保障,由华农财产保险股份有限公司承保,以及一款百万医疗险,由中国平安财产保险股份有限公司承保。

备用金则是字节跳动收购中融小贷后推出的一款新的借贷产品,额度在500元到2000 元不等。对标的是支付宝在2018年推出的备用金功能,两者在功能和定位上非常类似,针对的均是用户的资金应急周转需求,支持随借随还。今日头条备用金每年可取用12次,首次借款免费,后续按日收取手续费,最高年化20.16%。

此外,记者在抖音APP—“我的”—“钱包”栏目里看到了另一款借贷产品“Dou分期”以及抖音支付的推广信息。官方介绍信息显示,“Dou分期”是抖音为符合要求的客户提供的“先消费,后付款”的在线消费金融服务,大致对标的是蚂蚁集团的“花呗”。页面信息展示,“Dou分期”额度最高为1万元,最长可享受36日免息期,并支持3/6/12期还款。新用户开通“Dou分期”还可获得88元优惠礼包,活动力度不小。

授信协议显示,“Dou分期”的放款方为深圳市中融小额贷款股份有限公司。还款时中融小贷向武汉合众易宝科技有限公司(以下简称“合众易宝”)发出扣款指令,从支付账户余额或绑定银行卡中扣款。

自有的支付通道对于打通金融业务不可或缺。2020年8月28日,合众易宝原股东退出,由北京石贝科技有限公司全资子公司天津同融电子商务有限公司100%持股。股权穿透信息显示,该公司的实际控制人正是字节跳动创始人张一鸣。对此,字节跳动方面回应外界称,这将有利于提升用户体验,今后字节跳动将和其他支付方式一起,更好地服务旗下产品的用户。

此外,今年6月初,海南字跳商业保理有限公司注册资本从3000万变更为3亿元,增幅900%。海南字跳商业保理有限公司成立于2021年1月,法定代表人为李英,经营范围为商业保理业务。股权信息显示,该公司由字节跳动(香港)有限公司全资子公司北京字节跳动网络技术有限公司全资持股。实际上,今年1月初,海南字跳商业保理成立时就引发行业关注,被解读为是字节跳动有意进军产业链金融,扩大金融生态圈的信号。

可以看出,通过不断拿牌和增资、产品上新,字节跳动旗下的多个金融板块业务扩张正蓄势待发。行业人士预计,随着字节跳动金融业务线的打通和整合,一个和支付宝、京东金融等APP类似的平台推出有望。

不过,上述行业人士也直言,拥有抖音、今日头条、火山视频、TikTok等十亿级别月活的产品是字节跳动的优势,与此同时,从反垄断到网络信息安全,近一段时间以来国家对于互联网行业重点出击,已有多个互联网巨头企业都被处于重罚。错失互联网金融行业的“野蛮生长”期,站在“合规发展”阶段启航点,字节跳动金融业务的合规压力不小。

记者注意到,就在7月19日,工信部官网再次发布“关于侵害用户权益行为的APP通报”。工信部组织第三方检测机构针对用户反映问题较多的手机应用软件进行了专项检查,并已通知相关企业进行了整改。截至目前,尚有71款APP未完成整改。其中,抖音极速版APP涉及应用分发平台上的 APP 信息明示不到位问题。工信部表示,上述APP应在7月26日前完成整改落实工作,逾期不整改的,工信部将依法依规组织开展相关处置工作。

加载中...