新浪财经

每日优鲜IPO充值送新股,参与者上市首日每人至少亏损603元

公司研究室

关注

原标题:每日优鲜IPO充值送新股,参与者上市首日每人至少亏损603元 来源:公司研究室

文|楚山

上周末,每日优鲜美股打新破发的事在圈内刷屏,引起不少股民的关注。

6月25日晚间,每日优鲜在纳斯达克市场正式挂牌。令那些打新中签者失望的是:这只新股开盘即跌破每股13美元的发行价,这次中签等于踩了一个大雷。截至美股当日收盘,每日优鲜收报每股9.66美元,较发行价大跌25%。

令人意外的是,首日破发竟然还不是每日优鲜这次上市最大的槽点,网上骂声一片的是这家公司IPO时充值送新股的活动。周日一整天,网上都充斥着对这项活动的指斥与议论。

月活行业第四

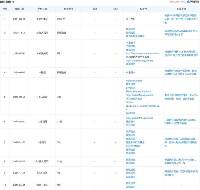
融资10次超140亿元人民币

这几年,生鲜类互联网公司,作为所谓新零售概念的代表,备受机构投资者的追捧。其中,每日优鲜与叮咚买菜是其中两个曝光率较高的公司。

天眼查资料显示,每日优鲜成立于2014年11月,是一家技术驱动的创新型社区零售企业。在一二线城市,每日优鲜首创"前置仓"模式,为16个城市的数千万家庭提供了“超4000款商品,最快30分钟达”服务。

不过,公开信息显示,每日优鲜与叮咚买菜只是名声在外,以月活规模考量,这两家其实在圈内还没有进到前三,但这并不妨碍二者上市圈钱。

公开信息显示,截至本次IPO,每日优鲜已经获得10轮融资,投资者中不乏中金、腾讯这样的大牌机构。公司研究室粗略估算,本次IPO后,每日优鲜累计融资约合人民币140多亿。不到7年时间,烧掉这么多钱,只能说这是真正用钱喂出来的独角兽。

在本次IPO中,每日优鲜总计发行2100万股(含绿鞋2415万股)美国存托股票(ADS)。6月9日,每日优鲜在美递交招股书,摩根大通、花旗、中金公司、华兴资本、工银国际、Needham、富途控股老虎证券为此次IPO承销商。

由于引入外部股东较多,每日优鲜的股权比较分散。IPO前,管理层持股比例20.2%,拥有投票权75.6%。其中,创始人兼CEO徐正持股15.2%,投票权为74.1%;老虎环球基金持股为12.4%,有3.8%的投票权;青岛国资委旗下国信创新持股8.7%的股份,拥有2.7%的投票权;腾讯持股为8.1%,有2.5%的投票权;元生资本持股7.2%,拥有2.2%的投票权。

公司研究室注意到,现有股东中金、腾讯、美国长线基金Davis、元生、元璟均参与本次认购发行,这表明了他们对于每日优鲜长期价值的认可,以及对数字化社区零售市场的看好。

中签率达18%

首日跌幅超过25%

不过,让很多人大跌眼镜的是,这次赴美上市,在国内被当成热饽饽的每日优鲜,在美股市场却遭到冷遇。

本次IPO发行价的定价区间为每ADS13至16美元,但最终发行价为每股ADS 13美元。这是本次发行定价区间的最低端。可见,这只号称社区零售数字化公司的价值,不是很受美股投资者认可。

以每股ADS 13美元发行价计算,每日优鲜IPO募资额约为3亿美元,IPO市值为32亿美元。不过,以上市首日每股9.66美元收盘价计算,每日优鲜市值为22.74亿美元,当日跌去9.26亿美元。

据一位美股投资者提供的信息,每日优鲜上市首日25%的跌幅,在近两月美股中概股新股中跌幅第一,打新者不仅没赚到钱,而且折损本金1/4。

一位参与每日优鲜IPO打新的投资者李果(化名)告诉公司研究室,最近每日优鲜与叮咚买菜都在申购,前者打新门槛是400美元,后者打新门槛是700美元。李果觉得每日优鲜门槛更低,打新中签概率更大,就选择了申购每日优鲜。

李果总计申购1手,最后中签10股。这次上市后,首日损失42.3美元(含盘后跌幅)。虽然绝对值不大,但跌幅确实惨不忍睹,盘后实际达到32.54%。

其实,每日优鲜上市首日破发早有征兆,这从其IPO中签率畸高就可以略知一二。

参与本次每日优鲜IPO的一家券商工作人员透露,从目前的中签率来看,每日优鲜每认购100股预计可中18股。也就是说,打新中签率高达18%,这里面绝大多数都是散户,难怪上市首日开盘就破发。

不过,对于这次中签被套,李果表现得还算淡定。他说,打新中签的总金额较小,跌幅虽大,实际损失不多,他想先拿着看看再说。

与券商合作充值送股票

送福利变成送亏损

对于那些主动打新的投资者,那是愿赌服输,只有自认倒霉。

这两天,网上议论最多的,不是像李果这样愿赌服输的打新者,而是那些在“充值送股票”活动中挨套的每日优鲜客户。

公司研究室了解到,IPO认购期间,每日优鲜联合两家券商推出了“充值送股票”活动,用户在每日优鲜APP账户中进行充值,就可以获取一定数量的股票。

活动中,每日优鲜的用户需要在账户中充值50元或100元,其中充值50元可以额外中签10股,充值100元可以额外中签20股。但这些额外中签的股票并非是“白白赠送”,投资者需要以发行价来进行购买。

在回答媒体咨询时,每日优鲜工作人员确认了这一活动,表示在认购期间的确是推出过,用户在每日优鲜APP账户中进行充值,就可以获取一定数量的股票,具体的内容可以向合作的券商进行咨询。

参与活动的一家券商人员透露,“‘充值送股票’是网上一种通俗的说法,确切的说是一种额外中签的权利。”从目前的中签率来看,每日优鲜每认购100股预计可中18股。以最少的充值50元计算,参与“充值送股票”活动的投资者,中签的数量最少为28股。

据此说法,以上市首日的收盘股价进行计算,充值最少的投资者,在第一天也要亏掉93.52美元,合人民币603.6元。

每日优鲜上市首日收盘后,中签者叫苦连天,有股民称:“美股打新赚了8个月的钱,不够这货一次赔的”。

那些参与“充值送股票”活动的投资者,情绪反弹更大。不少用户质疑每日优鲜美股洋韭菜割不动,就来收割国内的用户,而且一割就是两茬。

加载中...