新浪财经

我给“蜜雪冰城”留了个电话 结果引来了半个奶茶界

盒饭财经

关注

原标题:我给“蜜雪冰城”留了个电话,结果引来了半个奶茶界

作者 | 谭丽平

蜜雪冰城需要建立一个打假部门了。在销量和流量的加持下,火爆全网的蜜雪冰城,正在遭受反噬。

打开蜜雪冰城的官网,一封《严正声明》弹出,正是蜜雪冰城关于虚假招商加盟的声明。明确强调有不少假冒品牌发布虚假招商信息、借机推销其他品牌等误导情况。

然而,这份声明发布于2021年3月11日,发布3个多月后,这样的情况依旧没有减少,甚至成为行业内部的“通识”。

盒饭财经试着通过百度、搜狗、360等平台简单搜索“蜜雪冰城 加盟”两个长尾关键词后,出现各类加盟网站。点击进入后随机找到了显示蜜雪冰城官方交流群字样的QQ群,填了联系方式,就此开启了一场连续剧般的“加盟大冒险”。

套牌和快招,是玩家找到真加盟方的两个大BOSS。

套牌,大多是借蜜雪冰城、一点点这类大品牌方的流量,称是其旗下的品牌,如我们发现的何必问、猫小森、公主茶妆,都曾蹭过蜜雪冰城的牌子。

快招,顾名思义,就是快速招商,主推的是自己独立运营的品牌,一杆子买卖,只要加盟之后,就不太管后期的运营。查找相关工商信息发现,这类快招公司的运营企业,参保人数三四人,有的甚至0人。

划重点,只要你打过一个加盟电话,接下来要做的就是给手机充满电,找一个有信号的地方,静静等着不同的茶饮品牌给你打电话。从你拨打打一通咨询到被整个奶茶行业盯上,可能不过24小时。

奶茶加盟,看得见的江湖与硝烟。

与“假蜜雪”斗智

“蜜雪冰城骗走我三十万,我开一家冰雪蜜城亏死了?给大家分析下!”

“我开一家冰雪蜜城亏了?终于知道了为什么那么多蜜雪冰城转让?”

一条标题,再配上一张蜜雪冰城的门店图。蜜雪冰城百度贴吧前排,摆着类似几条帖子。

点击进入后,“加Q群XXX,蜜雪冰城加盟交流群……相互交流下心得,有经验相互帮助下(群里上传了详细的开店资料,需要的可以进群下载领取)。”

这是故意制造卖惨假象,来吸引大家进群?加了两个QQ群,决定等风来。

没有失望,一个多小时后,一个自称“蜜雪冰城”招商中心人员的来电,全程通话时长36分钟17秒。

这位麦先生(化名),先是对客户的意向做了一些了解,并针对一些痛点给出解答。他指出,目前蜜雪冰城不开放区域代理,只做单店运营。包括加盟费、管理费、首期原材料、门店装修、租金、人员薪酬,启动资金大概在35万元左右。此外,蜜雪冰城目前毛利50%到55%之间,净利润25%到35%之间,由于投资较晚,回本周期从一年拖到了一年半之内。

不得不说,麦先生确实非常专业,大到招商流程、规则、利润点,小到所咨询地区的人口、竞品的利润点、一个杯子的成本,都能对答如流。一套套非常专业及详细的说辞下来,我甚至有了抛下工作,回家创业的想法。

当然,他也提到目前蜜雪冰城在全国有一万多家门店,已经趋于饱和。因此,开新店,最大的问题就是选址。“公司不会像最开始把精力放在360度大力度扶持代理商上面,由于目前门店较多,精力有限,所以公司也不参与门店选址。而如果你想选的地址,当地区域代理不同意,就必须重新选址。”

此外,蜜雪冰城资格审核也非常严格。其中一条是,门店的法人必须有过两年餐饮管理经验。你看,人家多替你着想。

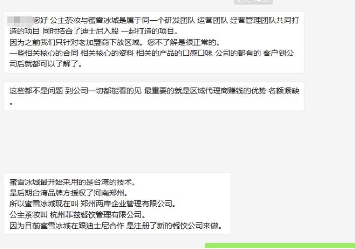
继续交流,这位负责招商的工作人员透露,公司目前的重心在于二期项目的打造,也是奶茶,即一款名为“公主茶妆”的品牌。“公主茶妆是蜜雪冰城总公司与迪士尼乐园花了1.2亿打造的项目,走的是年轻人路线。奶茶越来越年轻化,蜜雪冰城也需要不断去更新换代迎合年轻人群需求。”

据他介绍,公主茶妆,在6月1日正式在大陆上线,6月1日到6月20日期间,针对的是蜜雪的老加盟商进行下放。6月22日到6月底,针对的是当初申请蜜雪失败、铁杆粉丝进行下放。

补充一句,我们通话的时间正好是6月21日。

据盒饭财经了解,目前蜜雪冰城旗下除了“幸运咖”和“极拉图”,并没有新的项目。而公主茶妆刚刚招商,难道,蜜雪冰城真的做新品了?

于是,我很快通过了这位招商人员的微信验证请求。

打开对方发来的有关公主茶妆的链接,看着模模糊糊的像素风画质、满屏粉色与迪士尼公主,突然有一种五毛特效的既视感?

不过,等点开网页官网上更清晰的图片看了许久,我开始给自己洗脑,好像也还算可爱?甚至得出结论,土到极致就是潮,或许这又是蜜雪冰城的另一种营销手段呢!

然而,大失所望。继续在网上浏览更多有关公主茶妆信息后,会发现有许多不对劲。比如,公主茶妆官网的公司与蜜雪冰城公司所在地不一样,二者之间也没有任何股权的交集。

当抱着这些疑问,问麦先生时,他开始闪烁其词。

满怀疑惑,我拨通了蜜雪冰城官网的官方招商客服,还未说完,客服小姐姐就急着打断了,“是假的是假的,那是骗子,我们招商人员是不会主动联系您的,目前想加盟需要通过官方微信公众号填写申请,我们这边再审核……

听到这里,终于明白为什么蜜雪冰城招商热线要加上,“官方唯一加盟热线”……

当再去找骗子套话时,他贴心地说,“当初给您去电话,只是根据您的个人情况把公主茶妆介绍给您。您不相信我的话,我可以帮助您申请蜜雪冰城!”并奉上了蜜雪冰城官方加盟申请的二维码,还表示有任何疑问可以来请教。

这么言之凿凿,难道他是蜜雪冰城的外挂?

直到最后我们又看到了这个——

两天接了5个电话,不是套牌就是快招

“你这才是开始,后头估计还能接到很多类似的电话”,这是第二位招商人员安经理告诉我的,谁成想,第一天的“套牌”招商,真的只是开场。

第二天11:30分,快到饭点,距离挂掉“套牌”公司电话不到一天,我们就接到了其他茶饮品牌项目建议招商加盟的电话。

一通电话,依旧是半小时。

这次没有自称是某某品牌旗下的,而是直接告知是南京创立的一家品牌“向南巷”。于2016年开了第一家门店,2018年后开启全国各地的一些区域加盟商,至今已经开了217家门店,包括山东、安徽、浙江、江西、山西、广西、黑龙江等地区都有门店。

电话那头,依旧专业。讲到蜜雪冰城的装修,脱口而出2000~2500一平;讲到奶茶商标注册的时长,也很清楚一般14~16个月;讲到奶茶品牌的明星代言费,在700万到1000万。

当我提及前一天“套牌”的遭遇,安经理化身知心大姐姐,特意给我列举了一批骗子公司,“秦皇岛曾有最大的贴牌打的骗子团队,已经全部落网;杭州的一个品牌贴服装去打;这类公司就是快招公司,割加盟商韭菜,圈一波钱就走了”。

安经理格外热心,告诉如何去分辨骗子公司,比如有没有商标、带“京”字的商标无法注册等。并坦诚自己公司品牌是有实体门店、有供应链、有资质,随即还特地发过来公司的注册信息、详细的招商细节、门店产品等情况。

相比之前的麦先生,安经理近两年的朋友圈都与“向南巷”品牌有关,看得出算是非常合格的工作人。

直到这天下午,一位自称“微小甜”的招商人员再次拨通了我的电话。这次,又是40分钟。

听了我前面的经历,他更是直言,向南巷就是一家“快招”公司,自己有客户已经中招。而自己的公司与这些快招公司不同,是做品牌,微小甜保持着每季度至少5款单品的出新速度,5到10年都将只运营这一个品牌,目前已经有三百多家店铺。

茶饮市场已经内卷到相互打假、拆台的地步了么?

在他们的描述中,只要加盟他们的品牌,似乎百利而无一害。

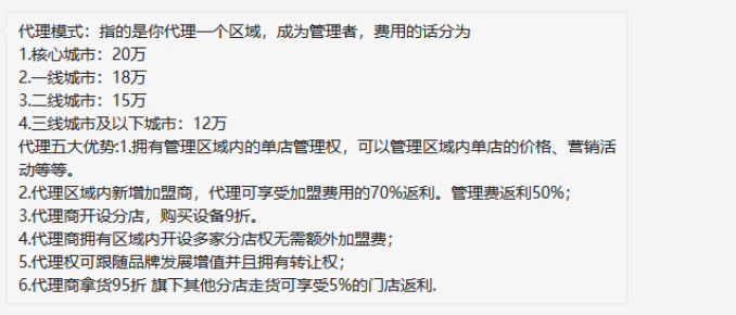
这三家品牌,单店的加盟费用从4万到8万不等,区域代理商的费用则是9万到20万不等。一般都会推荐区域代理商,比较大的特权是,可以免费在代理区域内自由开店;如果未来代理区域内新增加盟商,区域代理可享受加盟费用70%的返利;区域代理所开的门店原材料可以有9折或95折的优惠,未来区域内的加盟商需要从区域代理购进原材料,这也意味着原材料也可以拿到5%到10%的返利。

糟糕,又心动了。

调查过后,发现,自己还是大意了。

当在高德地图、美团上检索“公主茶妆”“向南巷”“微小甜”,可以发现,这三家品牌都有各自的实体门店,但门店数量并不多,相对多一点的是微小甜,在美团上,加上“即将开业”和“暂无评分”的门店,有33家,与他们所说的百位数门店有很大的差距,评分数最多的门店也只有166人评。

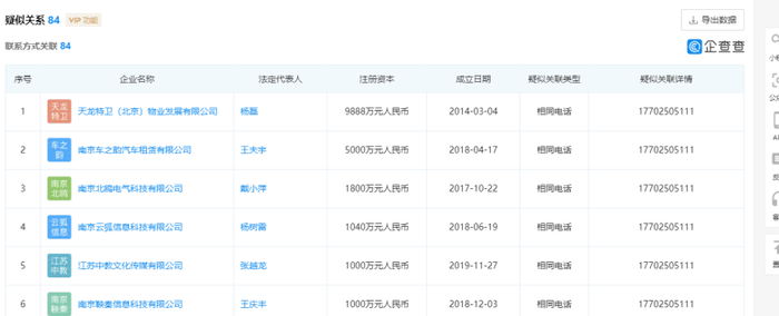
在企查查上检索公司名称发现,“公主茶妆”的运营主体杭州菲兹品牌管理有限公司,成立于2020年10月21日,注册资本500万,实缴资本30.09万元;“向南巷”的运营主体南京陶至餐饮管理有限公司,成立于2018年11月5日,注册资本100万元,实缴资本0.1万,参保人数5人;“微小甜”的运营主体,安徽三众餐饮管理有限公司成立于2017年8月21日,注册资本500万,参保人数0人。

值得一提的是,南京陶至餐饮管理有限公司疑似关系有84家公司,均为联系方式关联;安徽三众餐饮管理有限公司疑似关系也有374家公司,联系方式关联375家公司。

一位业内人士告诉盒饭财经,这样的公司并不常见,可能公司是空壳,也可能是同一个代理记账公司,空壳可能性更大。

加盟反噬

蜜雪冰城围绕在“假”上的相关消息,并不少。

我们在检索时发现,除了公主茶妆套上蜜雪冰城的牌子之外,何必问、猫小森等品牌也曾被网友称是蜜雪冰城旗下的品牌。

套牌以外,“截胡”蜜雪冰城的品牌更是种类繁多。在接下来的两天里,还有“小糖沫沫”“均渴”等各式奶茶品牌联系到我。这些奶茶品牌的招商人员,无一例外都对蜜雪冰城了如指掌,并针对痛点向客户不断宣传自己的品牌。

除此之外,一位名为“大韭哥”的知乎博主,还曾扒皮过知乎上蜜雪冰城的机构号,发现,全部都是假的。认证这些机构号的人,除了快招公司,想要通过蜜雪的流量招募其他加盟商的品牌,也有中介,还有是蜜雪的一个加盟店,总之,没有一个真实的。

为什么都爱贴牌蜜雪冰城?

不得不说,蜜雪冰城就是奶茶界的流量之王。其全国将近1.5万家的门店数,已经让它成为奶茶界触达人数最多、市场最广、影响力巨大的品牌。

据《晚点LatePost》报道,今年年初,蜜雪冰城已完成首轮20亿元融资,由高瓴资本、龙珠资本联合领投,投后估值达200亿元,高于喜茶的160亿元估值。对此,蜜雪冰城回应称“不属实”。

无论是否属实,蜜雪冰城融资的消息传出后,整个市场都大受震撼。其实早在2019年,蜜雪冰城就曾名列“2019年全国十大奶茶品牌榜”第三位,名次仅次于喜茶与奈雪的茶。到了2020年,在红餐网发布的中国茶饮十大品牌榜上,蜜雪冰城超越奈雪,成为了中国茶饮行业的第二。

巨大的影响力,来自于其专注下沉市场的策略。2元的冰淇淋、4元的柠檬水、均价8元的奶茶,蜜雪冰城一向接地气,不避讳自己使用的都是比较便宜的材料,当着顾客面往奶茶里倒奶浆、把奶茶粉、果酱、糖浆材料全堆店门口。用户对此也并不介意,甚至还自我调侃“它不嫌你穷,你别嫌它 low”。

蜜雪冰城“走量式”的盈利之道,已经不是什么秘密。

为能有效控制成本,蜜雪冰城在2014年完成了从研发、生产到仓储物流的整套供应链搭建,不仅保障了质量与成本,也开始在全国迅速扩张门店。

它在扩张中,不可忽视的是特许加盟模式带来的优势。

开放加盟模式后,蜜雪冰城扩张迅速。2013年至2015年7月期间,蜜雪冰城每年以门店数量两倍、营业额三倍的速度增长。2016年至2020年,其门店的数量分别为2500家、3500家、5000家、7500家、1万家。

在蜜雪冰城官网上,加盟费明细也是公开的,省会城市、地级城市、县级城市的加盟费分别为11000元/年、9000元/年、7000元/年。加上日常管理、门店设备、原材料、装修和房租,35万元起就能开一家蜜雪冰城加盟店,相较之下,开一家“一点点”的投入是其两倍左右。

根据各品牌招商人员的介绍,奶茶行业很重要的一点收入是依靠加盟费。蜜雪冰城通过降低加盟商的门槛、密集开店,一万多家门店的加盟费用想必不少。

除此之外,品牌所需的物料与原材料,比如印有logo的被子、杯盖、袋子、茶底等都需要加盟商们向品牌买入。后期长久的物料需求,也给品牌带来利润。

低价、低利润的商业模式,以及以加盟为主导的扩张方式,让蜜雪冰城迅速出圈。

但成也加盟、隐忧也加盟。

今年5月,据中国质量新闻网报道,蜜雪冰城旗下郑州永安街店、济南大观园店、武汉马湖商业街店存在前述一系列卫生乱象,包括篡改开封食材效期、使用隔夜茶汤奶浆半成品的食品安全问题。

用户可以不嫌你LOW,但一定会嫌你不安全。

被曝光后,“蜜雪冰城被曝篡改食材日期”的话题即登上了微博热搜,该条话题的阅读量超过了3亿。5月15日,蜜雪冰城官方微博发布致歉声明,针对门店存在的严重违规行为进行调查整改。

由此可见,特许加盟的模式虽能快速扩张,但对品牌的管理能力要求更高。这也是为什么奈雪、喜茶等品牌会坚持选择直营的模式,品控难做,即便品牌看中长期的利益,但加盟商容易短视,加盟商不执行、员工层级庞杂、质量难以控制,往往最后,是加盟商出了事却是品牌来背锅。

蜜雪需要上一堂品牌管理课

虽然,蜜雪冰城总裁张红甫写的回忆传记里,他曾多次与高层组织门店巡视,但在如今近1.5万家门店的庞大数量下,管理加盟商绝非易事。

加盟难题一直是行业两难,它有利于快速扩张,但难于标准化。2021年2月,茶百道、一点点、7分甜等主打加盟模式的奶茶品牌都被上海市场监管部门检查出食品安全问题。

而茶饮行业前端火爆的同时,行业已成一个爆炸头——又乱又卷。

抬眼望去,你会发现已经有暴雷。

今年5月,郑恺代言的茶主播遭700家加盟商投诉,称买不到物料,只能自己研发饮品。套路与我们的遭遇也非常相近,媒体报道,一位加盟商表示,去年五月份她本来在蜜雪冰城官网留言,却被位于南京的茶主播品牌方拦截,投入了50多万元才发现这是一场骗局。

在此之前,5月15日,有媒体报道,上海警方破获一起奶茶“套路加盟”合同诈骗案,涉嫌金高达7亿元。此品牌成立于2013年,通过雇佣“托儿”排队的方式,造成虚假繁荣的景象,以此吸引加盟商,演员马伊琍就是此品牌的代言人。

6月7日,据上海市市场监督管理局消息,2021年4月,普陀区市场监管局对21家奶茶店共19家经营主体侵犯“COCO及图”注册商标专用权的行为作出没收、销毁用于制造侵权商品的工具,罚款共计106.47余万元的行政处罚,形成系列案件。

无处不在的乱象背后,有令品牌与无数创业者痛恨的快招产业链。而门槛低,易标准化的茶饮行业,更是成为乱象肆意生长的温床。

企查查数据显示,2011年以来的十年间,奶茶行业蓬勃发展,企业注册量逐年增长,2011年共注册相关企业0.31万家,到了2020年,注册量达到了十年之最,共8.54万家,同比增长33%。

从注册资本来看,注册资本在100万元以内的奶茶企业数量最多,占比高达73%,规模普遍较小。注册资本在100-500万元和500-1000万元的分别占18%和5%。

这些小公司当中,又有多少是贴着流量到处播撒诈骗种子的呢?

检索蜜雪冰城,会出现好几个加盟商的官网,这些“官网”全部放着蜜雪冰城的品牌信息。

蹭流量、快招公司、安全事故乱象,扯下了大品牌的风光面具。乱象发生之后,无疑都是对蜜雪冰城出的考验题,如何维护品牌,如何在低门槛的行业持续增长,虽然从法律层面,蜜雪冰城不会收到这些假加盟商的影响,但是,李鬼多了,李逵也招架不住。

这天下午,我的手机铃声又响了,算了算,这是今天接到的第7个陌生来电。看着这些来自异地的虚拟号码,我的电话号码应该已经被卖给了快招公司。毕竟,招商人员都直言:未来你还会接到不少品牌的电话。

*题图来源于蜜雪冰城。

加载中...