新浪财经

1.76亿元!广州顶级豪宅尚东柏悦府司法拍出,买家山东民企意欲何为?

腾讯

关注

原标题:1.76亿元!广州顶级豪宅尚东柏悦府司法拍出,买家山东民企意欲何为? 来源:腾讯网

2021年6月14日至2021年6月15日,山东省高级人民法院将在阿里巴巴司法拍卖网络平台上,对位于广东省广州市天河区花城大道98号尚东柏悦府的3901室、3902室房地产公开拍卖,合计起拍价1.764919亿元。最终,唯一报名买家以起拍价1.764919亿元拿下。

上游新闻记者获悉,该买家系民企山东胜利投资股份有限公司(山东胜利投资)。

据了解,尚东柏悦府为广州顶级豪宅,因业主广东恒润互兴资产管理有限公司(广东恒润互兴)无力偿债,而被债权人申请法院强制执行,广东恒润互兴实际控制人为*ST天润(002113)老板赖淦锋。

成交价建面每平方约15万多元

此次拍卖的尚东柏悦府3901室建面431.9044平方米,评估价6629.3万元,起拍价6629.30万元,折合建面每平方米15.35万元。保证金1300万元,增价幅度33万元。

而尚东柏悦府3902室房地产,评估价和起拍价均为11019.89万元,保证金2200万元,增价幅度55万元,建面732.6068平方米,建面折合每平方米15.04万元。

合计建面1164.5112平方米,起拍价1.764919亿元。

上游新闻记者获悉,尚东柏悦府位于广州珠江新城珠江公园南侧,周边生活配套设施非常完善;交通网络四通八达;占地面积约1.6万平方米,总建筑面积近10万平方米。总户数99套,共52层,是由三个高低错落弧形向上的只塔组成的超高层全玻璃幕墙建筑,最高达198米,是目前广州最高的住宅项目。

按照安居客今年6月数据,尚东柏悦府挂牌均价为18.7386万元/平方米。而网易房产2017年7月28日报道,尚东柏悦府在售430平方米、490平方米和794平方米大平层,总套数99套,备案价16万元/平方米带装修。

此次,两项房产均各自只有1人报名,分别缴纳了2200万元保证金、1300万元保证金,分别一次出价,以起拍价11019.89万元、6629.30万元拿下。

买家山东民企或用来办公

上游新闻记者获悉,买家为山东胜利投资股份有限公司。

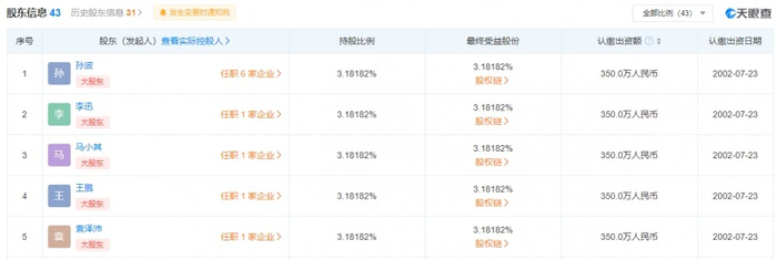
天眼查APP数据显示,山东胜利投资成立于2002年,法定代表人王鹏,地址在山东省青岛市莱西市姜山镇阳光路777号1号楼108室,注册资本1.1亿元,股东有43名,王鹏、孙波、王鹏、袁泽沛、马小其各占3.18%,并列第一,其他股东持股比例更低,山东胜利投资无实际控制人。

山东胜利投资为胜利股份(000407)控股股东,不过,今年1月,山东胜利投资拟向山东海洋集团转让其持有的胜利股份6150万股股份(占公司总股本的6.99%),同时将剩余占公司总股本3.00%对应股份的表决权委托股国企山东海洋集团行使,山东海洋集团取代山东胜利投资成为控股股东,山东海洋集团实际控制人为山东省国资委。

山东胜利投资为何拿下?业内人士认为,可能未来作为办公场所,同时也是较好的房产投资。

2017年购买价为1.26亿元

资料显示,3901室与3902室在工作阳台处将墙体打通,作为一套单元使用。该房玄关、客厅、餐厅采用石材;房间采用地毯或木地板;厨房、卫生间采用石材;景观阳台采用石材或防腐木;工作阳台、工人房、工人卫生间采用地砖。层高3.3米,根据《房屋信息》记载,3901室为4房2厅4卫1厨;3902室为5房及以上,1厨6卫。2017年成交价分别为 4606.956万元、8029.6576万元,合计12636.6136万元。

上游新闻记者了解到,这两套房屋的原权利人为广东恒润互兴资产管理有限公司。

天眼查APP数据显示,广东恒润互兴资产管理有限公司成立于2015年,法定代表人赖淦锋。

注册地址在广州市天河区翰景路1号金星大厦2101房(仅限办公用途),注册资本13亿元,股东三名,分别为广东恒润华创实业发展有限公司、赖淦锋、麦秀金,赖淦锋为实际控制人。

新闻纵深

豪宅业主实控人系上市公司老板

赖淦锋,男,1975年9月出生,中国国籍,研究生学历,是知名的广东地产大佬,赖淦锋曾任广州深科园软件工程有限公司董事长,现任广东新金山置业有限公司董事长、广东恒润华创实业发展有限公司董事长,曾任*ST天润(002113)董事长。

上游新闻记者了解到,*ST天润前身系岳阳化工,2007年2月,在深交所中小板上市,主营化肥生产与销售。由于经营不善业绩跳水,股票终被披星戴帽,2010年9月,公司迎来赖淦锋入主。

*ST天润对化工资产剥离,主业由化工转向贸易、租赁服务业,并大举进军游戏领域。以8亿元交易价格、逾26倍高溢价成功收购点点乐后,公司摇身一变成为游戏概念股,更名为湖南天润数字娱乐文化传媒股份有限公司,并成功摘帽。期间,10转30高送转,推动公司股价一路走高,市值一度接近200亿元。

2017年,*ST天润收购了北京虹软协创100%股权和深圳拇指游玩100%股权,主营业务扩大至移动游戏的代理运营和推广、广告精准投放等领域。

疯狂并购下,*ST天润耗费了巨大的人力和物力,但点点乐等并购标的业绩下滑导致商誉爆雷重创公司业绩,重新戴帽。而控股股东高杠杆运作,最终控股股东资金链断裂,陷入危机。

截至2020年年末,*ST天润因控股股东违规担保引起的违规担保金额合计176500万元,违规担保余额140372万元,因违规担保涉及的诉讼金额合计140372万元,广东恒润互兴、赖淦锋所持*ST天润股票也被司法冻结。因*ST天润和公司实际控制人赖淦锋因涉嫌信息披露违法违规行为,中国证监会决定对公司和赖淦锋进行立案调查。

*ST天润2020年营业收入为6.31亿元,同比增长6.01%,归属于上市公司股东的净利润为2.78亿元,较2019年-21.48亿元扭亏,扣非后归属于上市公司股东的净利润为-2.44亿元,较2019年-8.10亿元,大幅减亏。

今年6月15日,ST天润报收1.58元,涨停,换手率2.28%,总市值23.11亿元。

加载中...