新浪财经

震惊!6.9万人被骗221亿,韩国虚拟币大骗局曝光,不少老年人受害

券商中国

关注

诈骗、洗钱、价格操纵……虚拟货币市场乱象丛生,而“山寨币”大行其道,也让普通民众成为被收割的目标。

近日,韩国曝出一桩打着虚拟货币幌子的庞氏骗局,6.9万人被骗了3.85万亿韩元,约合人民币221亿元。其中,不少受骗者是老年人。

一家名叫“V Global”的公司声称运营虚拟货币交易平台,劝说人们在该平台开户投资,并承诺投资者可在短时间内收获几倍回报。一名韩国警官说:“这看起来是一桩庞氏骗局。我们正在进一步调查,预期会发现更多受骗者。”

值得关注的是,6月10日,在第十三届陆家嘴论坛上,中国银保监会主席郭树清在视频致辞中表示,要时刻警惕各种变换花样的“庞氏骗局”。当下,各种以高息回报为诱饵,打着所谓的金融科技、互联网金融等旗号的骗局层出不穷,其实质都是击鼓传花式的非法集资活动。大家一定要牢记,天上不会掉馅饼,宣扬“保本高收益”就是金融诈骗。

据了解,庞氏骗局是指以承诺高额回报骗取投资者资金,并将新加入投资者的资金用于支付老客户投资回报,却几乎不从事实际投资。这种金字塔式累积资金的骗术在20世纪20年代因行骗人查尔斯·庞齐而得名。

6.9万人被骗221亿元

虚拟货币市场乱象丛生,暴涨暴跌的价格,以及马斯克等网红的带货,还有坊间流传的一些币圈“造富神话”,让炒币进入普通民众的视野,不少人抱着一夜暴富的心态冲了进去,结果却损失惨重,一夜报“负”。

同时,“山寨币”大行其道,不少虚拟币公司打着“虚拟货币能发横财”的旗号,发行各种虚拟货币。缺乏辨别能力的投资者,正成为它们的围猎目标。

近日,韩国曝出一桩打着虚拟货币幌子的庞氏骗局。初步调查显示,大约6.9万人合计被骗3.85万亿韩元(约合221亿元人民币),其中不少受骗者是老年人。

新华社援引韩国《中央日报》报道称,韩国警方频繁接到来自各地的相关举报,于上月在全国范围内就此案启动调查。京畿道警方7日披露,罪魁祸首据信是一家名叫“V Global”的公司,其首席执行官以及大约70名员工正在接受警方调查。

警方说,这家公司声称运营虚拟货币交易平台,劝说人们在该平台开户投资,最低投资额为600万韩元(约合3.4万元人民币),并承诺投资者可在短时间内收获几倍回报。

一名警官说:“这看起来是一桩庞氏骗局。我们正在进一步调查,预期会发现更多受骗者。”不过,由于许多受骗者、尤其是老年人迟迟不肯报案,警方调查面临不小难度。

一名40多岁男子说,他的母亲被骗投资1300万韩元(约合7.5万元人民币),“我劝她报警,但她总觉得能把钱拿回来,所以拒绝报警。据我所知,还有许多像她这样的老年人上当,‘虚拟货币’对这些老年人来说是新玩意儿”。

这名男子说,那家诈骗公司最近还试图让他母亲在一份文件上签字,文件内容是声明签字人没有受骗上当。“那家公司不断劝说投资者别着急,再等等(投资)结果。”这样一来投资者存有侥幸心理,不太愿意报警。

一名五旬妇人说:“有个熟人告诉我这个投资机会,我就投了大约6000万韩元(约合34.4万元人民币)……现在我想报警,但是她劝我再等等,等赚回钱再说。当我又表达疑虑,她质问我是不是信不过跟她的交情。于是,我一直没有报警。”

郭树清:时刻警惕各种变换花样的“庞氏骗局”

据新华社报道,大量虚拟币公司打着“虚拟货币能发横财”的旗号,发行各种虚拟货币。幻想一夜暴富的投资者趋之若鹜,深陷庄家和吹鼓手编织的幻梦,成为“山寨币”的受害者。如雷达币、KUN、火神币等虚拟币,通过嘘寒问暖拉老年人投资,利用老年人有退休金但嫌银行利息低的心理,不断编织创富神话,引诱他们购买“山寨币”“空气币”。虚拟货币爆款之一的英雄链(HEC),其网络诈骗案的受害人达数百万人,涉案资金达3亿余元。

6月10日,在第十三届陆家嘴论坛上,中国银保监会主席郭树清在视频致辞中表示,要时刻警惕各种变换花样的“庞氏骗局”。

郭树清表示,当下,各种以高息回报为诱饵,打着所谓的金融科技、互联网金融等旗号的骗局层出不穷,其实质都是击鼓传花式的非法集资活动。大家一定要牢记,天上不会掉馅饼,宣扬“保本高收益”就是金融诈骗。要自觉提高警惕,增强风险防范意识和识别能力,远离各类非法金融活动。

郭树清还表示,要切实防范金融衍生品投资风险。在前期发生风险的金融衍生品案例中,有大量个人投资者参与投资。从成熟金融市场看,参与金融衍生品投资的主要是机构投资者,非常不适合个人投资理财。道理在于,受不可控制甚至不可预测的多种因素影响,金融衍生品价格波动很大,对投资者的专业水平和风险承受能力具有很高要求。普通个人投资者参与其中,无异于变相赌博,损失的结果早已注定。

“那些炒作外汇、黄金及其他商品期货的人很难有机会发家致富,正像押注房价永远不会下跌的人最终会付出沉重代价一样。”郭树清说。

我国对虚拟货币监管加码,币安、火币等被屏蔽

我国监管部门早已意识到虚拟货币交易炒作带来的风险,及时预警,多次出台举措予以整治。2013年,中国人民银行等五部门就联合发布《关于防范比特币风险的通知》,要求各金融机构和支付机构不得开展与比特币相关的业务。2017年央行等七部门叫停各类代币发行融资,并开展专项整治。随后,我国的虚拟货币交易平台和ICO交易平台基本实现无风险退出,人民币交易的比特币全球占比一度降至不足1%。

不过,今年以来,虚拟货币交易炒作活动有所反弹,从5月18日开始,我国又密集释放对于加密货币的监管政策:

5月18日,内蒙古发改委设立虚拟货币“挖矿”企业举报平台;同日,中国互联网金融协会、中国银行业协会、中国支付清算协会发布“关于防范虚拟货币交易炒作风险的公告”。公告指出,虚拟货币无真实价值支撑,价格极易被操纵,相关投机交易活动存在虚假资产风险、经营失败风险、投资炒作风险等多重风险。广大消费者要增强风险意识,树立正确的投资理念,不参与虚拟货币交易炒作活动,谨防个人财产及权益受损。

5月21日,国务院金融委要求打击比特币挖矿和交易行为,坚决防范个体风险向社会领域传递。值得注意的是,这是金融委首次提出打击比特币挖矿和交易行为。

5月26日,内蒙古发改委发布关于坚决打击惩戒虚拟货币“挖矿”行为八项措施征求意见。对工业园区、数据中心、自备电厂等主体为虚拟货币“挖矿”企业提供场地、电力支持的,核减能耗预算指标;对存在故意隐瞒不报、清退关停不及时、审批监管不力的,依据有关法律法规和党内法规严肃追责问责。

6月9日,青海省工信厅下发《关于全面关停虚拟货币“挖矿“项目的通知》提出,对有关虚拟货币挖矿行为开展清理整顿。

同样是在6月9日,中国支付清算协会发布“关于加强行业信息共享 有效防范支付风险的提示”,再次提示虚拟货币的风险。上述风险提示指出,利用虚拟货币等形式实施违法犯罪活动逐渐上升,因其交易具有匿名性,便捷性和全球性,逐渐成为跨境洗钱的重要通道。同时,已出现使用虚拟币作为赌博跑分媒介的模式。

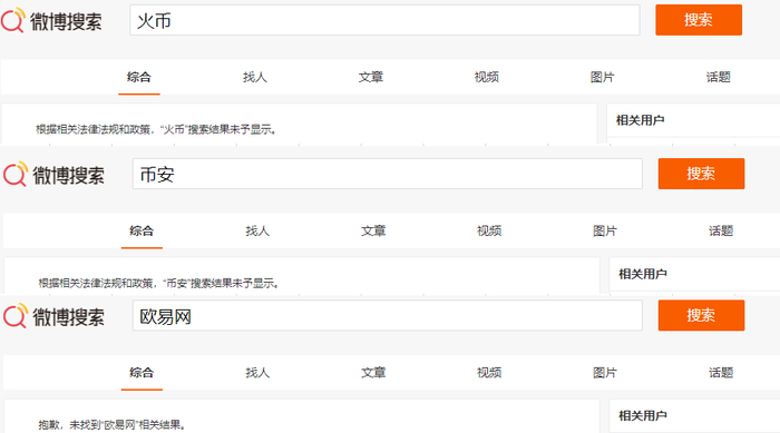
当天,在微博百度上,输入“火币”“币安”“欧易”等关键词时,弹出的是“搜索结果未予显示”等提示。截至券商中国记者发稿,上述关键词仍被百度、微博屏蔽。

稍早之前的6月5日,不少币圈大V的微博账号被封,包括交易员小侠、肥宅比特币、八哥谈币、超级比特币、区块链威廉等,这些账号的粉丝多在十万以上。相关页面显示,账号因被投诉违反法律法规和《微博社区公约》的相关规定,无法查看。

加密货币成黑客勒索“工具”

随着虚拟货币交易炒作活动的反弹,利用虚拟货币等形式实施违法犯罪活动逐渐上升。

加密货币市场的欺诈活动日益猖獗。据《华尔街日报》报道,美国联邦贸易委员会(FTC)统计的数据显示,在2020年第四季度和2021年第一季度的六个月中,美国消费者因加密货币骗局损失了近8200万美元,是去年同期的10倍。根据FTC的报告,最容易被加密货币投资诈骗侵害的群体是20-49岁的美国人。

另据统计,截至去年12月底,全球范围因加密货币诈骗遭受的损失近40亿美元,诈骗手段包括“空气币”诈骗、社交媒体诈骗、加密劫持、非法应用程序等。今年以来,也有不少知名企业被勒索软件攻击并索要比特币等加密货币。

当地时间6月9日,全球最大肉类供应商JBS宣布,已向黑客支付了价值1100万美元((约合人民币7028万元))的比特币赎金。此前,因遭受黑客攻击,JBS一度关闭了全美工厂,导致牛肉、猪肉产量大跌,甚至危及美国肉类供应链。

今年5月7日,美国最大燃油管道运营商科洛尼尔管道运输公司遭遇黑客攻击,被迫关闭整个管道系统。在遭到黑客攻击的数小时后,该公司向黑客组织支付了75枚比特币(当时价值440万美元,约合人民币2814万元)。

不过,当地时间6月7日,美国司法部表示,目前已追回科洛尼尔管道运输公司上个月付给黑客组织的63.7枚比特币,价值约230万美元。

消息发布后,币圈为之震动,有评论表示,如果FBI是通过技术手段破解了秘钥,就等于说,比特币底层逻辑被破解,底层逻辑便会不复存在,比特币等加密货币的抗审查性受到了挑战。随后,大量投资者选择抛售、做空比特币,当天比特币一度暴跌近10%,其他加密货币也集体暴跌。

加载中...