新浪财经

什么信号?蚂蚁"花呗、借呗"180亿项目终止 上交所一天更是否掉1536亿ABS

券商中国

关注

什么信号?蚂蚁“花呗”“借呗”180亿项目终止,上交所一天更是否掉1536亿ABS

原创 段久惠 

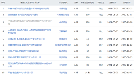
5月25日当天,上交所债券项目信息平台一次性披露了26只ABS(资产支持证券)产品的审核状态“终止”,合计拟发行金额为1536.26亿元,规模创今年来新高。

这之中,除了原始权益人(发行人)为蚂蚁集团“花呗”、“借呗”运营主体公司的两款合计拟发行180亿元的ABS项目;更多的是各类房地产公司、城投集团、文旅地产开发公司等涉房企业,后者作为SVP存在的信托公司等。

“地产类,涉房类的资产支持项目融资收紧了。”一位券商资管人士向券商中国记者证实,这类融资工具为房地产开发企业资金周转提供了便利,在一定程度上增加了房地产开发企业杠杆,违反“房住不炒”政策。

一个可供佐证的数据是,上交所今年4月份以来已多次一次性披露多起ABS项目终止。

涉房地产融资收紧,波及千亿规模ABS项目叫停?

5月25日,上交所一次性披露了26只ABS产品的审核状态“终止”,合计拟发行金额为1536.26亿元,规模创今年来新高。

这些审核“终止”的ABS产品,从类型来看,包括供应链金融资产证券化产品、保理资产证券化产品、PPP项目资产证券化产品等等,而从原始权益人(发行人)来看,一个明显的特征是,除了数家金融科技公司、小贷公司,更多的是各类房地产公司、城投集团、文旅地产开发公司等涉房企业。

比如当天终止的ABS产品中,拟发行金额最大的为200亿元的工银瑞投-诚远系列第1-50期供应链金融资产支持专项计划。此外,还有城发集团永旺梦乐城、华夏幸福新型城镇化PPP项目、百花蕙兰系列等等,基础资产池多涉房开发项目。其中,华夏幸福新型城镇化PPP项目ABS的发行人,是公告中已涉实质性债务违约的上市房地产公司华夏幸福基业股份有限公司。

“地产类,涉房类的资产支持项目融资收紧了。”一位券商资管人士向记者证实,这类融资工具为房地产开发企业资金周转提供了便利,在一定程度上增加了房地产开发企业杠杆,违反“房住不炒”的国家政策。

一个可供佐证的数据是,上交所债券信息相关公示显示,今年4月份以来,上交所已经多次一次性披露了多起ABS项目终止。

据上交所债券信息公示,券商中国记者不完全统计,今年4月27日,上交所终止了5只ABS产品的审核,合计拟发行金额为385.96亿元;今年4月20日,上交所终止了5只ABS产品的审核,合计拟发行金额为162.24亿元。

比如中信建投-五矿-恒信长丰二期ABS、建投宏宇1-20期ABS、建投宏诺1-20号ABS等项目,还有如国信-国君-杭州滨江宝龙城ABS项目以及中金-北京横琴人寿大厦ABS项目等等,拟募资规模在25亿元到~200亿元不等,均被叫停。

其中,建投宏宇第1-20期资产支持专项计划拟发行规模为200亿元,发行人为山东国惠投资有限公司和普洛斯商业保理(重庆)有限公司;建投宏诺1-20号资产支持专项计划拟发行规模为150亿元,发行人为光大兴陇信托有限责任公司,被业内推测其或是作为SPV存在,通过信托产品构建了ABS产品的基础资产,此前未申报过ABS产品。

据21世纪经济报道,在“房住不炒”政策下,基金业协会近期已叫停基金子公司备案房地产供应链类产品;券商资管也较大概率会被同样要求暂停房地产类供应链产品备案。该报道称:“供应链类非标融资的通常路径是,通过基金子公司或券商资管设立集合或专项资管计划,资管计划保理资产,保理资产的底层是房地产企业各个供应商的应收账款或商业票据。”

蚂蚁“花呗”、“借呗”180亿元ABS项目被终止

5月25日,上交所债券项目信息平台最新显示,除了涉房ABS项目,原始权益人(发行方)为蚂蚁集团“花呗”、“借呗”运营主体公司的两款合计拟发行180亿元的ABS项目状态显示为“终止”。

具体来看,一只是拟发行金额80亿元的“天弘创新花呗第8-15期消费授信融资资产支持专项计划”,原始权益人(发行方)为重庆市蚂蚁小微小额贷款有限公司,其为蚂蚁花呗的运营主体;另一只100亿元的“中信证券借呗五至十四期消费贷款资产支持专项计划”为重庆市蚂蚁商诚小额贷款有限公司,该公司为蚂蚁借呗的运营主体,两家公司均由蚂蚁集团股份有限公司全资控股。

相比此次审核“终止”的其他项目,原始权益人(发行方)多为房地产企业、城投公司,蚂蚁“借呗”、“花呗”的ABS项目底层资产属于消费金融类。

蚂蚁集团消费金融类ABS项目为何被叫停?

“可能是集中一批释放的,本来获批的项目其实都不多,这一批‘终止’就是有各种疑难杂症。”华南一位券商资管人士向券商中国记者透露,“每年上交所终止的项目比例其实不少,真正能拿函的一般不超过申报受理的一半。”

去年底《网络小额贷款业务管理暂行办法(征求意见稿)》发布,其中明确,网络小贷公司通过发行债券、资产证券化产品等标准化债权类资产形式融入资金的余额不得超过其净资产的4倍。

彼时,有股份行资管人士就向券商中国记者分析,“重庆市蚂蚁商诚小贷、重庆蚂蚁小微小贷的实缴资本分别为40亿元、120亿元,按《意见稿》的监管要求新变化,可能不批”。

不过,在上述网络小贷新规意见稿披露数天后,规模百亿元的花呗借呗相关ABS融资项目获上交所批准放行,分别是《国泰君安借呗第4-12期消费贷款资产支持专项计划》、《中信证券花呗一至十期授信付款资产支持专项计划》,涉及的融资金额均为100亿元。

当前,还有一只《财通资管花呗授信付款资产支持专项计划》,拟发行规模为80亿元,目前状态为“受理”中。

上述银行人士25日向记者证实,没有听说有消费金融项目融资有新变化。从以往情况看,ABS项目审核终止其实并不鲜见, “企业主动撤回、企业数据不达标、无法提供交易所所需资料、ABS发行时间过长超过有效期等等,都可能是终止原因。”

阿里巴巴近期发布2021财年第四财季及全年财报披露,蚂蚁集团在2021财年(2020年4月~2021年3月)给阿里巴巴集团带来196.93亿元投资收益。

加载中...