深度拆解丨左手养猪右手金融地产,牧原生态圈能否经受住考验
证券时报e公司
此前,牧原股份(002714)陷入舆论漩涡,质疑者与拥趸者吵翻了天。现阶段,关于牧原股份是否存在财务造假的争论很难有明确答案,不妨暂且搁置,进而关注整个牧原体系的安全性是否可靠。
养猪让牧原股份实际控制人秦英林夫妇成为河南首富,并稳居中国富豪榜前列。但随着财富的增加,秦英林已经不仅仅是个猪倌儿,投资布局已经拓展至金融、房地产开发、股权、养殖配套等多个领域,规模或已达到百亿。
(牧原集团总部,于德江/摄)
关注秦英林在上市公司之外的布局,有助于投资者更加完整地了解牧原体系。牧原体系能否平稳运行,也会直接影响上市公司牧原股份的安全边界。毕竟,体外资产拖累上市公司的前车之鉴已经足够多了,秦英林和牧原股份都应当警惕这一风险。
金融辅助扩张
在牧原股份上市之前,秦英林及牧原集团是极为专注于养猪业务的,这从其名下子公司的数量就可以看出。2014年之前,除了牧原股份外,牧原集团仅有1家全资子公司内乡县牧原科技有限公司和两家参股比例较低的行业性或地方性担保公司。
(牧原集团2014年初上市敲钟瞬间 全景网陈学良/摄)
牧原股份上市初期,牧原集团的对外投资仍显沉寂,直到2016年底,斥资数亿元成为内乡农商行的第一大股东。截至目前,牧原集团已经入股河南南阳内乡县、卧龙区、社旗县、西峡县,以及河南商丘宁陵县的5家信用合作联社或农商行,这5地无一例外都是牧原股份大手笔布局养殖业务的重地。
内乡农商行由内乡农信社发展而来,前者在2017年开业之时流出一则资讯显示,牧原10年前在农信社改制时入股56万元,2015年在县委县政府的邀请下,大手笔投资近6亿元成为内乡农商行的大股东,双方共同发展,一起成长。内乡农商行2017年的年报显示,牧原集团2016年12月认缴出资额5.85亿元,实缴出资额1.95亿元。内乡农商行最新的工商资料则显示,牧原集团的出资额为1.95亿元,持股比例30%,为第一大股东。
河南省农村信用社官网2020年8月发布《内乡农商银行做深做实生猪产业链金融》一文提及,目前,内乡农商银行与牧原集团合作共赢带动存款增长20余亿元,拉动贷款增长10亿元,年经营利润增长超过8000万元。目前,牧原集团及上下游企业在该行开立对公结算账户1600余户,资金日结算额近10亿元,月均留存资金8亿元左右;近5万名员工在该行代发工资,代发工资账户余额稳定在3.5亿元以上;累计发放上下游企业供应链融资贷款26.5亿元,余额6.3亿元,按月结息率和到期收回率实现100%。
牧原集团在内乡的住宅项目七里河畔要求购房者只能在内乡农商行按揭贷款,因为牧原集团是内乡农商行的第一大股东。牧原集团在西峡的住宅项目,则没有这样的要求。内乡农商行也针对牧原集团及上下游推出了专属的金融产品,可见双方的合作非常紧密。
此外,牧原集团还持有西峡农商行10%股权,持有南阳卧龙区农信社9.93%股权,持有社旗县农信社2.47%股权,持有宁陵县农信社20%股权。
内乡县、卧龙区、西峡县、社旗县均隶属于南阳市,是牧原的大本营所在地。证券时报记者从南阳当地银行人士处了解到,当地银行对牧原的依赖很高,牧原去年的存款高,银行的日子相当滋润,今年一季度存款下降不少,银行就会有焦虑感。
现在,当地银行都抢着做牧原的业务,而在牧原发展早期并不是这样的。十几年前,是中信银行第一个给了牧原无抵押贷款,秦英林至今仍感激。牧原股份副董事长、元老级人物曹治年也曾表示,从内乡农信社(现“内乡农商行”)支持牧原成长壮大,到牧原成长壮大后和内乡农信社共同成长,是农村合作金融支持地方经济的成功案例和典范。
宁陵县属于河南省商丘市,也是牧原股份大力布局生猪养殖及拓展下游屠宰产业的重地之一。2017年,牧原股份在宁陵投建了160万头的生猪养殖基地,2020年4月再投8亿元建设生猪屠宰项目。牧原股份与华能信托的合资公司之一宁陵牧华畜牧产业发展有限公司也在此落地,并受让了牧原股份在江苏灌南、河北衡水子公司的部分股权。
牧原股份的全链条自养模式资产重,土地需求大,资金需求大,因此当地政府及金融机构的支持至关重要。从这一点来说,牧原集团积极入股地方金融机构是牧原生态圈的重要一环。宁陵当地养殖户流传一个说法,哪里给地、哪里给贷款,牧原就去哪里建场。反过来,地方政府也在极力促成牧原的项目落地,这对促进当地就业及经济发展都有重要意义。
全产业链涉足
不仅是对地方金融机构的布局,牧原集团对外投资的力度随着牧原股份市值的攀升而增强,2017年后进入高速增长期。梳理牧原集团近些年的投资可以发现,相比牧原股份上市之前的低调专注,其投资画风发生了明显变化,更多的投向了与牧原股份相关的领域。
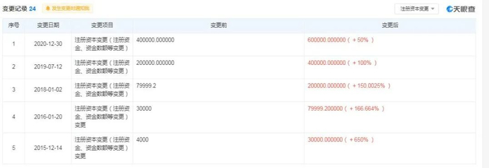
牧原股份上市后,牧原集团的注册资本也一路飙升,2015年12月由4000万元增至3亿元,2016年1月增至8亿元,2018年1月增至20亿元,2019年7月增至40亿元,2020年12月达到60亿元。
(牧原集团成立后注册资本变化情况来源:天眼查)
牧原集团2019年年报显示40亿元注册资本已经实缴,2020年年报尚未出来,按照以前的增资节奏,去年底新增的20亿元注册资本应该也已经完全实缴。迅速增加的资本实力,是牧原集团投资布局可以持续加强的保证。
牧原集团全资子公司河南牧原建筑工程有限公司(下称“牧原建筑”)专为牧原股份而设立,成立于2016年9月,起初的注册资本5000万元,今年已经增至34亿元。2020年前三季度,牧原建筑99%的营业收入来自于关联方,主要是服务于牧原股份生猪养殖场的建设需求。牧原股份预计2021年度将与牧原建筑发生200亿元的关联交易,2020年实际发生的金额为127亿元。
(来源:牧原股份3月16日对深交所问询函的回复公告)
在回复深交所问询函中,牧原股份已经详细解释与牧原建筑之间关联交易的必要性及公允性,此处不再赘述,市场解读已经较为充分。2020年前三季度,牧原股份与牧原建筑的交易额占公司采购总额的19%,这一比例与2019年持平。
不止是牧原建筑,牧原集团众多子公司出现在牧原股份2021年预计日常关联交易公告中,且有较高的依赖度。
(牧原股份关联公司经营情况来源:公司公告)
如河南省聚爱数字科技有限公司(牧原集团全资子公司)及其子公司,牧原股份预计今年与其的关联交易金额为10亿元,去年前11个月实际发生6.36亿元,主要采购办公用品、生活物资、农产品等。聚爱科技去年前三季度的营业收入总共才4.9亿元,以此可以推测出其主要客户就是牧原股份。
牧原集团的有机肥业务也依赖于牧原股份,模式是牧原股份向牧原集团出售猪粪和沼渣,后者以此为原料生产有机肥,牧原集团的有机肥、农产品、农副产品还会销售给牧原股份。河南牧原农牧设备有限公司(牧原集团控股90.91%)2020年前11个月向牧原股份销售了14.7亿元的设备或材料,2021年度的预计金额为20亿元,而其2020年前三季度的营业收入是18.73亿元。
牧原集团还为牧原股份提供物流运输服务,前者全资子公司河南省牧原物流有限公司2020年前11个月与牧原股份产生关联交易8.06亿元,2021年的预计金额为15亿元,而其2020年前三季度的营业收入是6.08亿元。
牧原股份的养殖本身就是采用全链条自养,近年来又向下游拓展了屠宰产业,已经较为完善。从以上数据对比可以看出,牧原集团在建筑、农牧设备、物流运输等领域布局的子公司主要是为服务牧原股份而设立,让整个链条更加封闭。关联交易连年升高,也是牧原股份被外界质疑的重点之一。关联交易本身并无好坏之分,关键在于价格是否公允,是否存在利益输送的问题。
牧原集团还参与了科创板上市公司科前生物的IPO战略配售,斥资1.96亿元获配1680万股。科前生物主要生产猪用疫苗和禽用疫苗,牧原股份是其客户。科前生物上市后大涨,牧原集团这笔投资获利颇丰。
此外,牧原集团还参与了扶贫产业基金的设立,出资5亿元占北京中证焦桐投资基金(有限合伙)44.64%的份额。
地产开发雄心勃勃
牧原集团在房地产开发上的布局,也是在牧原股份上市后开始的。“地产跟随主业走,让家人生活更美好”,这是牧原的幸福家园计划。可以简单理解为牧原集团房地产开发业务的远期规划是布局全国,有牧原养猪场的地方,就要有牧原开发的房地产项目。
(牧原集团房地产开发发展历程,于德江/摄)
牧原股份当前的养殖业务已经遍及河南省各县(市),在东北、安徽、广西等多地亦有落地,具体开展业务的子公司多达260多个。由此可见,牧原集团在房地产开发板块上的规划可谓宏大。
2015年9月,牧原集团设立河南盛达房地产开发有限公司(下称“盛达房地产”),后者官网称,其成立之时“肩扛为牧原建设总部的责任”。牧原总部位于河南省南阳市卧龙区龙升工业园区,一片深色系的高大建筑群,时至今日在周边环境中还非常显眼。
2016年,牧原集团总部完成交付,盛达房地产称达到了“国际一线水准”。牧原股份2016年9月的公告显示,因业务发展需要,公司办公地址由内乡县灌涨镇水田村迁至南阳市卧龙区龙升工业园区。即,牧原股份同期进驻了牧原总部大厦。
盛达官网介绍,除了总部办公楼,盛达房地产还为牧原体系代建了商务楼、科研楼、金字塔、生物制剂厂、卧龙装备厂等,累计建设面积超过100万平方米。
为体系内项目进行代建,显然只是牧原集团布局房地产的第一步。2018年底,盛达房地产更名为河南盛达发展有限公司(下称“盛达发展”)。次年8月,牧原集团将盛达发展的注册资本提升至2.8亿元,且全部实缴。这一时期,盛达发展在南阳市、内乡县、西峡县设立房地产开发子公司,全面进军房地产。
和牧原总部一体的房地产开发项目是空中墅院和精英公馆,盛达发展官网介绍,空中墅院、精英公馆是集团公司为成果突出的牧原家人建设,占地面积100亩,总建面积10万方,户型面积在185~195平方米之间。
(牧原集团总部旁的精英公馆 于德江/摄)
证券时报记者了解到,空中墅院和精英公馆只针对牧原的员工进行销售,现在仅剩二三十套,盛达发展官网标注的价格为11000元/平方米,员工可以采用“积分抵扣”的方式获取优惠,需要公司领导审批,一般申请下来价格会在6000多元每平方米。南阳当地人士表示,这是良心价,市区周边的新房已经很难找到8000元/平方米以下的房子了。
总部之外,牧原集团的第一个房地产项目位于内乡的牧原小区,这里是秦英林的老家,也是牧原的发家之地。牧原集团2017年11月以2840万元的价格拿下这一地块,牧原小区一期共有4栋,据称已经全部售出,在2018年交付。证券时报记者在现场看到,牧原小区的规划设计比较老派,现已更名为七里河畔,一期(即原“牧原小区”)有4栋多层建筑,共有307套房屋,物业费1元/平方米/月。从现场情况看,人员稀少,入住率较低。
(牧原小区 于德江/摄)
七里河畔二期正在建设,已经开盘,为3栋高层建筑,每栋均为26层高。证券时报记者以看房为由进入了七里河畔的销售中心,牧原的标识随处可见,置业顾问佩戴的也是牧原集团的工牌。置业顾问称项目卖得很好,靠近湍河的这一栋已经只剩几套了,另外两栋可选择性还比较多,三房、四房的户型都有。其介绍,折后单价在4200元/平方米左右,总价在50万元~70万元之间。
(内乡七里河畔 于德江/摄)
接待记者的置业顾问还说,七里河畔的户型和碧桂园的是一样的,之前他们也在碧桂园卖过房子,那里是牧原拿的地,与碧桂园合作开发。
这里的碧桂园,指的是内乡碧桂园·天麓府。2018年11月,盛达发展全资设立内乡县盛达置业有限公司(下称“内乡盛达”),后者在次月便拿下内乡县龙源路与牡珠沟河交叉口处合计9.72公顷的两块地,成交总价1.8亿元。2019年8月,内乡盛达引入碧桂园,后者通过增资方式获得51%股权,成为这个项目的操盘方。
(内乡碧桂园·天麓府 于德江/摄)
经实地走访,内乡碧桂园·天麓府是一个标准化的碧桂园产品,置业顾问并不会主动介绍该项目与牧原的关系。当记者问及时,他们也只是表示最初是牧原拿的地,由碧桂园开发建设,因为自己公司有更丰富的经验。记者了解到,双方的合作是愉快的,碧桂园借助牧原在当地的影响力站稳了脚跟,天麓府销售情况良好,牧原也借此学习到了一线房企的房地产开发经验,七里河畔二期的规划设计水平和一期相比有了明显提升。
除了内乡的七里河畔二期,盛达发展还已经进入南阳市西峡县,在2019年8月成立全资子公司西峡县盛世达置业有限公司,同年12月以6173万元的价格在当地拿下3.24公顷的城镇住宅用地。
(西峡盛达首府城市展厅)
牧原在西峡县的住宅项目名为“盛达首府”,今年一月底开放了城市展厅,目前尚未开盘,售楼处也没有建好。盛达首府当前在推会员充值抵扣的活动,需要在“聚爱优选”APP操作,充值100元成为会员,在选房的时候就可以额外享受3000元的优惠。
聚爱优选同样是牧原集团旗下的品牌,自称是一个电商扶贫平台。在牧原集团总部、七里河畔二期,证券时报记者均看到了聚爱优选的便利超市,规模不大,销售常见商品及农产品,也有部分进口商品。聚爱优选配套在牧原自身的住宅项目中,这一点与碧桂园的凤凰优选较为相似。
河南日报客户端去年底的报道显示,牧原集团南阳东区总部等单位已经敲定入住南阳新城区商务区CBD。在记者询问牧原总部旁精英公馆是否对外销售时,工作人员也表示,可以等一等牧原在南阳新区CBD的项目,以后会有对外销售的住宅产品,现在还没有开始宣传,需要再等一个周期。
在七里河畔、盛达首府,展示厅中都会介绍牧原在房地产方面的发展情况,“2020年幸福家园计划启动,确定了‘地产跟随主业走,让家人生活更美好’的发展布局模式,住宅板块开始落子西峡、内乡、邓州、南阳等,五星级酒店牧原酒店即将投入运营。”
也有置业顾问向证券时报记者表示,“秦总(秦英林)开会的时候说了,要布局全国,有牧原养猪场的地方就要搞房地产开发。”牧原另一项目的工作人员则表示,“面向全国各个子公司是长远规划,短期规划就是郑州、南阳及下属各县区。”
牧原集团旗下还有牧原物业公司,2016年底成立,注册资本2000万元,秦瑛担任法定代表人。盛达发展开发的每一个住宅项目,都是牧原物业在管理。这一点,也是学习头部房企。
股权投资布局广泛
牧原集团在2015年8月成立了锦鼎资本管理(深圳)有限公司(下称“锦鼎资本”),最初的实际出资仅70万元,2016年初追加至2000万元,2017年底进一步增至1.3亿元。从锦鼎资本对外投资情况来看,其是牧原集团的股权投资平台,与养殖产业关联度较弱的投资行为多由其出面。
(锦鼎资本对外投资情况来源:企查查)
锦鼎资本的第一笔对外投资发生在2016年初,向西峡县的河南省果然风情果业股份有限公司(下称“果然风情”)注资3000万元,获得42.86%的股权。果然风情有大面积的猕猴桃基地,主要生产猕猴桃饮料等产品。
在河南当地媒体的报道中,果然风情在举步维艰之时获得牧原集团控股,从死亡线上走了回来。果然风情官网对此的介绍是,“2016年1月,牧原集团注入强大资本,为企业的发展插上腾飞的翅膀。”牧原集团向果然风情供应有机肥,同时令其借助想念食品的销售网络打通市场。
锦鼎资本的第二笔投资正是同样位于南阳的想念食品,后者的办公地与牧原集团都在卧龙区龙升工业园,相距不到1公里。想念食品申报创业板上市的材料显示,锦鼎资本2016年7月以6元/股的价格获得500万元的出资额,以此计算可知投资金额为3000万元。不过,想念食品这一次未能完成上市。深交所4月13日发布公告,由于申请撤回发行上市申请文件,想念食品创业板IPO终止。
锦鼎资本投资IPO的成功案例是格林精密,近期刚刚完成创业板上市。2016年9月10日,锦鼎资本以2100万元认购了格林精密620万股。如今,这部分股票的市值超过1.3亿元。
锦鼎资本还投资了新三板挂牌企业鑫昌龙,2017年下半年买入500万股,2018年三季度买入350万股,2019年下半年少量减持,当前持有744.1万股。牧原股份首席法务官袁合宾还在鑫昌龙担任董事,这是一家生产润滑油的公司。以鑫昌龙的交易期间均价情况估算,锦鼎资本对其投资的成本约为5600万元。
2017年底,锦鼎资本入股资西奈克消防车辆制造有限公司(下称“西奈克消防车”),后来持续增资达到控股地位,当前认缴出资额6670万元,持股比例53.49%。西奈克消防车会向牧原股份销售消防车辆,2019年的关联交易金额为347.6万元,2020年前11个月的关联交易金额为533万元。曹治年、袁合宾在西奈克消防车担任董事。
此外,锦鼎资本其他重点的对外投资还包括:2016年认购河南省南水北调对口协作产业投资基金(有限合伙)3000万元份额(占比8.33%),2021年2月认购上海瓴岳股权投资基金合伙企业(有限合伙)5.4亿元份额(占比35.84%),均为有限合伙人。
能否持续?
牧原体系的投资布局已经形成“金字塔”形状,秦英林夫妇在塔尖,通过牧原集团投资生猪养殖、金融、房地产开发、股权、养殖配套及其他等6大领域。生猪养殖板块的牧原股份造血能力较强,滋养着秦英林在上市公司体外的庞大资产。
(牧原“金字塔”投资体系示意图 于德江/制作)
近些年,秦英林夫妇累计向牧原集团注资60亿元,认购牧原股份2015年的定增3.2亿元。牧原集团2009年出资902万元入股牧原股份,又在2017年参与牧原股份的定增20.77亿元,这是其投向牧原股份的主要资金,如今回报丰厚,合计持股市值超过850亿元。
牧原集团对5家地方金融机构的投资额难以估算,不过应该不会低于10亿元。
牧原集团对盛达发展的出资为2.8亿元,这笔钱应该主要用于拿内乡碧桂园项目用地(1.8亿元)及西峡盛达首府项目用地(6173万元),牧原集团直接拿下内乡七里河畔项目用地耗费是2870万元。房地产开发所需资金一般采用股东借款、地块抵押融资等方式获取,数据不详。此外,牧原房地产业务已经拓展的邓州、郑州、南阳新区等地,投入资金不详。
股权投资方面,牧原集团对锦鼎资本的实缴资本为1.3亿元。仅以认购注册资本和部分企业上市申报材料披露数据来保守估算,锦鼎资本对果然风情、格林精密、瓴岳股权投资基金、想念食品等9个投资标的的投资金额为7.8亿元。
牧原集团在养殖配套领域的投资,包括牧原建筑、牧原物流、科前生物等10余家企业,按实缴资本保守计算超过40亿元。同样方式估算,牧原集团在其他领域(主要是扶贫基金和内乡县水生态治理方面的公司)的投资也在8亿元左右。
这是在保守估算的情况下得出的数据,秦英林在牧原股份体外的投资已经达到数十亿规模。一个问题出现,秦英林及牧原集团对外投资的钱来自哪儿?
上市以来,秦英林作为牧原股份董事长领取的合计薪酬约为1500万元(税前),钱瑛未在上市公司领取薪酬。分红方面,牧原股份上市以来累计金额为31亿元,秦英林夫妇及牧原集团持股半数以上获取的金额应在16亿元左右。牧原集团自身的业务经营方面不算优秀,母公司2019年前三季度的营业收入为2261万元,2019年度为388万元;2019年前三季度的净利润为6.04亿元,2018年度亏损6322万元。
因此,秦英林夫妇及牧原集团对外投资的主要资金来源应该不是薪酬、分红及牧原集团经营所得,来自质押股份融资的可能性最大。梳理质押公告也可以看出,秦英林及牧原集团部分投资的时间节点确实与质押上市公司股份相吻合。
秦英林及牧原集团质押情况一览数据来源:万得
万得给出的数据显示,当前,牧原集团累计未解押股数9691.17万股,加权平均质押起始日参考股价为86.51元;秦英林累计未解押股数20365万股,加权平均质押起始日参考股价为99.8元。以质押股份起始日参考市值的40%计算,秦英林及牧原集团的质押融资余额约为115亿元。这一数字,可以覆盖之前粗略估算的秦英林夫妇及牧原集团对各领域的投资规模。
当前,秦英林夫妇及牧原集团质押牧原股份3.01亿股,占公司总股本的8%,占其所持股份的14.84%,质押比例不算高,牧原股份的股价不出现大的波动就具有较宽的安全边界。但是,以质押所得资金进行投资毕竟属于“短贷长投”,对风险管控的要求更高,更应该做好精细化运作。
生猪养殖企业今年一季度业绩普遍承压,牧原股份的表现“鹤立鸡群”,净利润仍预计有六成以上增速。不过,最强猪周期已经消退,行业持续下行乃至亏损状态时,牧原股份的养殖模式及整个牧原体系又会有怎样的表现?拭目以待。