新浪财经

抢注商标!小米申请“粮厂”,vivo 抢“蓝厂”,OPPO领“绿厂”

中国证券报

关注

在网友口中,很多科技公司都有一个昵称,比如腾讯被称为鹅厂,华为被称作菊厂……

那么,小米叫什么?米厂?

天眼查显示,近日,小米科技有限责任公司新增多条“粮厂”“粮店”“良厂”“粗粮厂”等商标信息,商标状态为“商标申请中”。目前,OPPO相关联公司正申请“绿厂”商标,vivo注册了“蓝厂”商标。此外,东莞市驶必迪电子科技有限公司不仅注册了“菊厂”,还注册了“蓝厂”商标。

专家认为,一些科技企业将网友给企业昵称申请为商标,说明企业商标意识增强,商标战略越来清晰。但企业跨界申请商标要避免相关行业企业造成商标资源枯竭的情况。

科技公司忙申请商标

有网友给小米称作“粮厂”,这看似也得到了小米的认同。天眼查显示,近日,小米科技有限责任公司新增多条“粮厂”“粮店”“良厂”“粗粮厂”等商标信息,国际分类涉及网站服务、食品、日化用品等,申请日期为2020年12月24日,商标状态为“商标申请中”。

来源:天眼查

由于LOGO背景是绿色,手机公司OPPO被网友称为“绿厂”。天眼查显示,OPPO关联公司广东移动通信有限公司已于11月9日申请注册“绿厂”商标,该商标国际分类为“科学仪器”,商标状态为“商标申请中”。

在手机界,由于LOGO背景是蓝色,vivo也被网友称为“蓝厂”。在商标申请上,vivo抢先一步。天眼查显示,早在2019年8月,vivo关联公司维沃移动通信有限公司就已注册“蓝厂”商标,国际分类为“通讯服务”“网站服务”等,商标状态为“已注册”。另外,该公司还于今年5月申请注册了数十条“蓝厂”商标,涉及餐饮住宿、日化用品等多个国际分类。

腾讯的吉祥物是企鹅,网友也戏称腾讯为“鹅厂”。天眼查显示,7月1日,腾讯科技(深圳)有限公司新增11个名为“鹅厂”的商标,所属类别分别为“广告销售”“网站服务”“皮革皮具”“服装鞋帽”“办公用品”“科学仪器”“健身器材”“通讯服务”“教育娱乐”“社会服务”“金融物管”,目前状态为等待实质审查。

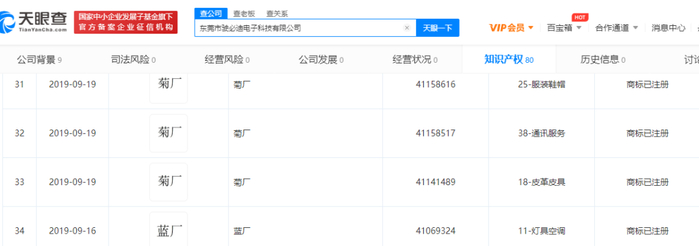
而华为LOGO像一朵菊花,公司也被网友称为“菊厂”。不过,天眼查显示,2019年9月,东莞市驶必迪电子科技有限公司申请了“菊厂”商标,2020年5月已注册。值得注意的是,该公司也注册了“蓝厂”和“绿厂”以及“蓝绿兄弟”等商标。

来源:天眼查

专家:企业商标意识增强

也要承担社会责任

对于不少科技公司纷纷将网友给公司的昵称申请为商标,专家认为,这件事情可以从两个方面来看待。

“网友给企业昵称,体现了消费者对它们的喜爱。科技企业将网友给企业的昵称申请为商标,说明科技企业商标意识增强了,商标战略越来清晰。”中国人民大学法学院商法研究所所长刘俊海教授对中证君分析称,一方面,商标能让企业有与众不同公众识别能力,进而在竞争中脱颖而出,企业重视商标战略,能够让企业独立、区别于其他同行企业。

另一方面,刘俊海认为,科技企业要承担社会责任,避免给跨行业其他企业造成商标资源占用的情况。

“‘粮店’和‘粮厂’是粮食流通行业领域的统称,申请商标还是要审慎。小米被网友称为‘粮厂’,但本身不生产粮食,如果申请商标,建议商标涉及领域要和企业生产的科技产品或者提供的科技服务相关。根据公开信息,‘粮厂’和‘粮店’等商标还在申请中,即使注册通过,也要严格限定在从事商品和服务相关领域之内。”刘俊海说。

编辑:王朱莹

加载中...